Что-то не так?
Пожалуйста, отключите Adblock.
Портал QRZ.RU существует только за счет рекламы, поэтому мы были бы Вам благодарны если Вы внесете сайт в список исключений. Мы стараемся размещать только релевантную рекламу, которая будет интересна не только рекламодателям, но и нашим читателям. Отключив Adblock, вы поможете не только нам, но и себе. Спасибо.
Как добавить наш сайт в исключения AdBlockРеклама
Функциональная схема
Функциональная схема
СодержаниеРадиостанция предназначена для проведения любительских радиосвязей в трех УКВ диапазонах: 144—146, 430—440 и 1215—1300 МГц — и обеспечивает в данных диапазонах следующие параметры.
В диапазоне 144 МГц: коэффициент шума в режиме приема составляет 1,8; мощность в режиме передачи — 5 Вт. В диапазоне 432 МГц: коэффициент шума в режиме приема — 2,0; мощность в режиме передачи — 5 Вт. В диапазоне 1296 МГц: коэффициент шума в режиме приема — 2,5...3,0; мощность в режиме передачи — 3 Вт.
(рис. 2 - щелкните мышью для получения большого изображения)
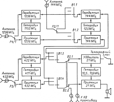
Радиостанция может работать как автономно (только в телеграфном режиме), так и совместно с коротковолновым трансивером. И в том и в другом случае обеспечивается трансиверный режим работы, т. е. происходит автоматическое совмещение частот приема и передачи. Функциональная схема радиостанции показана на рис. 2. Радиостанция состоит из четырех основных блоков: трех трансвертеров соответственно на диапазоны 144, 432 и 1296 МГц и маломощного телеграфного трансивера на диапазон 21 МГц. Название “трансвертер” происходит от двух английских слов “transmitter” — передатчик, “converter” — конвертер и означает, что данное устройство предназначено для преобразования частоты не только в режиме приема, но и в режиме передачи. Совпадение частот приема и передачи обеспечивается тем, что в обоих режимах используется один и тот же опорный гетеродин. Таким образом, каждый трансвертер можно подразделить на три основные части: приемный тракт, передающий тракт и общий гетеродин. Именно в таком виде показаны трансвертеры на функциональной схеме.
Рабочий диапазон станции выбирается переключателем В1, при этом к основному блоку, трансиверу на диапазон 21 МГц, подключается тот или иной трансвертер. Переключатель В2 служит для перехода на работу с внешним KB трансивером.
Трансвертеры, входящие в состав радиостанции, имеют линейный передающий тракт. Это означает, что существует линейная зависимость между амплитудой входного сигнала на частоте 21 МГц и амплитудой выходного сигнала соответствующего УКВ диапазона. Благодаря этому при использовании внешнего возбудителя на каждом из трех УКВ диапазонов может быть обеспечен любой вид излучения, включая амплитудную, частотную и однополосную модуляцию, а также амплитудную манипуляцию. Тем не менее основные виды работы, на которые рассчитана радиостанция, — это амплитудная манипуляция, т. е. обычный телеграф при автономном использовании и телеграф и однополосная телефония (SSB) при работе совместно с KB трансивером. Исходя из этого выбран рабочий диапазон частот радиостанции. Так, в соответствии с международными рекомендациями участки любительских диапазонов, исключительно предназначенные для телеграфной работы, составляют 144,0—144,15; 432,0—432,15 и 1296,0—1296,15 МГц, а предназначенные для работы SSB — соответственно 144,15—144,5; 432,15—432,5; 1296,15—1296,5 МГц. Это как раз совпадает с тем положением, что большинство KB трансиверов перекрывают диапазон от 21,0 до 21,5 МГц, в котором принято аналогичное распределение частот по видам работы. При работе в автономном режиме, только телеграфом, диапазон частот сужен в соответствии с видом излучения до 0,2 МГц. Выбор достаточно высокой промежуточной частоты 21 МГц вызван стремлением возможно больше ослабить помехи по зеркальному каналу. Как известно, зеркальный канал отстоит от основного на удвоенную промежуточную частоту, поэтому чем выше промежуточная частота, тем легче осуществить фильтрацию. С этой точки зрения еще более выгодным диапазоном для промежуточной частоты является диапазон 28,0—29,7 МГц, также хотя бы частично имеющийся в большинстве KB трансиверов. Однако в таком варианте есть опасность проникновения на выход передатчика пятой гармоники возбудителя (28,8 МГц*5= 144 МГц). Hа верхнем УКВ диапазоне 1296 МГц становится слишком трудно обеспечить необходимое подавление зеркального канала при промежуточной частоте 21 или даже 29 МГц. По этой причине было решено ввести еще одну ступень преобразования, для того чтобы в несколько раз повысить промежуточную частоту. Для упрощения конструкции в качестве дополнительной ступени преобразования служит трансвертер диапазона 144 МГц. Этот вариант имеет свой недостаток, так как в спектр выходного сигнала попадает девятая гармоника возбудителя (144*9=1296 МГц). По этой причине при разработке комплекта аппаратуры, предназначенного исключительно для диапазона 1296 МГц, лучше организовать дополнительное преобразование на какой-либо “нейтральной” частоте, скажем 150 или 200 МГц.
Далее >> (Принципиальная схема трансвертера 144/21 МГц )
