LAB599.RU — интернет-магазин средств связи
EN FR DE CN JP
QRZ.RU > Технические справочники > Справочник по радиолампам > Зарубежные радиолампы > Справочник по зарубежным радиолампам. Серия 5x (5 - 5Z4)

Справочник по зарубежным радиолампам. Серия 5x (5 - 5Z4)

Зарубежные радиолампы - 5

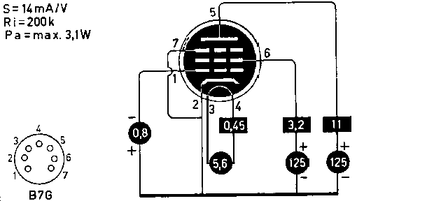
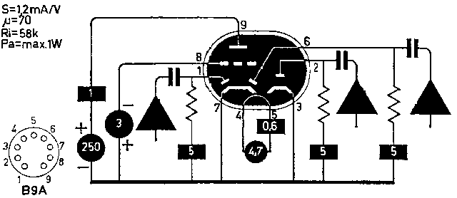
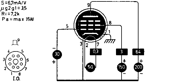
5  [3]             50  [3]            505  [3]           506  [1][3]        509  [3]           50A5  [1]          50AX6  [1]         50B5  [1]          50C5  [1]          50C6  [1]          50CD6  [1]         50DC4  [1]         50EH5  [1]         50FE5  [1]         50FK5  [1]         50L6  [1]          50X6  [1]          50Y6  [1]          50Z6  [1]          51  [3]            52  [3]            52KU  [1]          53  [3]            53KU  [1]          54KU  [1]          55  [3]            55S  [3]           56  [3]            56S  [3]           57  [3]            57AS  [3]          57S  [3]           58  [3]            5879  [1]          5881  [1]          58AS  [3]          58S  [3]           59  [3]            5AM8  [1]          5AN8  [1]          5AQ5  [1]          5AS4  [1]          5AS8  [1]          5AT8  [1]          5AU4  [1]          5AV8  [1]          5AW4  [1]          5AX4  [1]          5AZ4  [1]          5B8  [1]           5BC3  [1]          5BE8  [1]          5BK7A  [1]         5BQ7A  [1]         5BR8  [1]          5BW8  [1]          5CG8  [1]          5CL8A  [1]         5CM8  [1]          5CQ8  [1]          5CZ5  [1]          5DH8  [1]          5DJ4  [1]          5EA8  [1]          5EU8  [1]          5EW6  [1]          5FV8  [1]          5GH8  [1]          5J6  [1]           5R4  [1]           5T4  [1][3]        5T8  [1]           5U4  [1]           5U4G  [3]          5U8  [1]           5V3  [1]           5V4  [1]           5V4G  [3]          5V6  [1]           5W4  [1][3]        5X3  [1]           5X4  [1]           5X4G  [3]          5X8  [1]           5Y3  [1]           5Y3G  [3]          5Y4  [1]           5Y4G  [3]          5Z3  [1][3]        5Z4  [1][3]       
 

Партнеры