LAB599.RU — интернет-магазин средств связи
EN FR DE CN JP
QRZ.RU > Технические справочники > Справочник по радиолампам > Зарубежные радиолампы > Справочник по зарубежным радиолампам. Серия Axx (A409 - AZ50)

Справочник по зарубежным радиолампам. Серия Axx (A409 - AZ50)

Зарубежные радиолампы - A

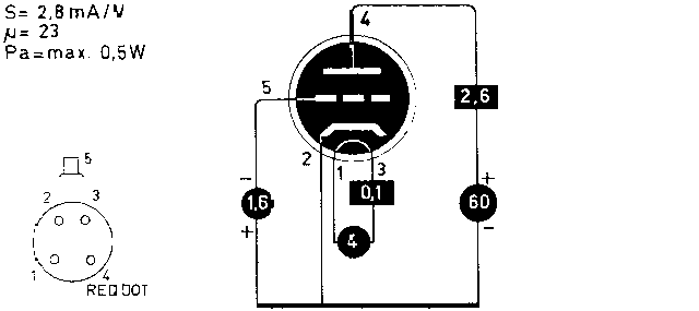
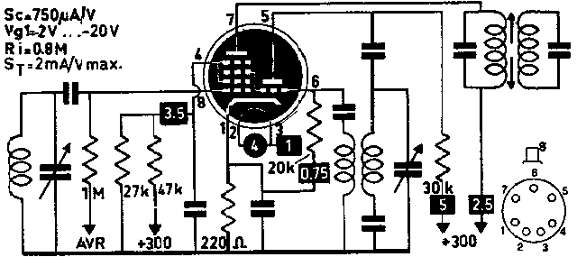
A409  [3]          A410  [3]          A410N  [3]         A414K  [3]         A415  [3]          A425  [3]          A441N  [3]         A442  [3]          AB1  [1][3]        AB2  [1][3]        ABC1  [1][3]       ABL1  [1][3]       AC2  [1][3]        AC701  [1]         ACH1  [1][3]       AD1  [3]           AF2  [1][3]        AF3  [1][3]        AF7  [1][3]        AH1  [1][3]        AK1  [1][3]        AK2  [1][3]        AL1  [1][3]        AL2  [1][3]        AL3  [3]           AL4  [1][3]        AL5  [1][3]        AM1  [1][3]        AM2  [1][3]        APV4100  [1]       AX1  [3]           AX50  [1]          AZ1  [1][3]        AZ11  [1]          AZ12  [1]          AZ21  [1]          AZ3  [1]           AZ31  [1]          AZ32  [1]          AZ33  [1]          AZ4  [1][3]        AZ41  [1]          AZ50  [1]         
 

Партнеры