Что-то не так?
Пожалуйста, отключите Adblock.
Портал QRZ.RU существует только за счет рекламы, поэтому мы были бы Вам благодарны если Вы внесете сайт в список исключений. Мы стараемся размещать только релевантную рекламу, которая будет интересна не только рекламодателям, но и нашим читателям. Отключив Adblock, вы поможете не только нам, но и себе. Спасибо.
Как добавить наш сайт в исключения AdBlockРеклама
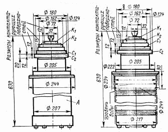
Лампа ГК-11
ГК-11А, ГК-11П
|
|
Мощный генераторный
тетрод для
усиления мощности в
радиотехнических стационарных
устройствах, в том числе
передатчиках, работающих на одной
боковой полосе. Оформление - металлокерамическое, с кольцевыми выводами электродов. Охлаждение - принудительное: ГК-11А: анода - водяное (при зазоре между анодом и бачком 3 мм и температуре воды 20 С) 100 л/мин; ножки и баллона - воздушное 200 м3/ч; ГК-11П: анода - испарительное. Масса ГК-11А 38 кг, ГК-11П 45 кг. |
|
|
|
Основные параметры | |
| Ток накала | 320 ± 20 А |
| Ток анода (при Uа=2 кВ, Uс1=0) | ³ 38 А |
| Ток 1-й сетки обратный (при Iа=13 А) | £ 300 мкА |
| Напряжение смещения отрицательное (при Iа=5,5 А) | 260 ± 40 В |
| Напряжение запирания по 1-й сетке отрицательное (при Iа=0,5 А) | £ 420 В |
| Крутизна характеристики (при Uа=2 кВ, Iа=20 А) | 190 ± 25 мА/В |
| Коэффициент усиления (при Uа=2 кВ, Iа=20 А) | 7 ± 1 |
| Колебательная мощность (при Uа=15 кВ, Uс2=1 кВ, Uс1=260 В) | 250 кВт |
| Междуэлектродные емкости, пФ: | |
| входная | £ 780 |
| выходная | £ 120 |
| проходная | £ 7 |
| Долговечность | ³ 2000 ч |
|
Предельные эксплуатационные данные |
|
| Напряжение накала | 21 - 23 В |
| Ток накала пусковой | 450 А |
| Ток анода в режиме класса В | 45 А |
| Напряжение анода | 15 кВ |
| Напряжение 2-й сетки | 2 кВ |
| Напряжение 1-й сетки отрицательное, мгновенное значение | 1 кВ |
| Мощность, рассеиваемая анодом | 120 кВт |
| Мощность, рассеиваемая 2-й сеткой | 3 кВт |
| Мощность, рассеиваемая 1-й сеткой | 1,5 кВт |
| Температура ножки и спаев керамики с металлом | 175 С |
| Рабочая частота | 30 МГц |
| Интервал рабочих температур окружающей среды | от -60 до +40 С |
Назад

