Что-то не так?
Пожалуйста, отключите Adblock.
Портал QRZ.RU существует только за счет рекламы, поэтому мы были бы Вам благодарны если Вы внесете сайт в список исключений. Мы стараемся размещать только релевантную рекламу, которая будет интересна не только рекламодателям, но и нашим читателям. Отключив Adblock, вы поможете не только нам, но и себе. Спасибо.
Как добавить наш сайт в исключения AdBlockРеклама
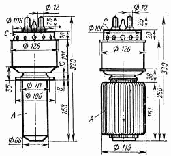
Лампа ГУ-10
ГУ-10А, ГУ-10Б
|
|
Мощный генераторный триод для
работы в качестве усилителя или
генератора высокочастотных
колебаний на частотах до 25 МГц в
схемах с общей сеткой или в схемах с
нейтрализацией. Оформление - металлостеклянное. Рабочее положение - вертикальное. Охлаждение - принудительное: ГУ-10А: анода - водяное не менее 20 л/мин; баллона - воздушное не менее 60м3/ч, ножки - воздушное не менее 60 м3/ч; ГУ-10Б: анода - воздушное не менее 800 м3/ч; баллона - воздушное не менее 60м3/ч, ножки - воздушное не менее 60 м3/ч. Масса ГУ-10А 3 кг, ГУ-10Б 6 кг. |
|
|
|
Основные параметры | |
| Ток накала | 75 ± 5 А |
| Ток анода (при Uа=5 кВ, Uс=0) | 0,9 ± 0,3 А |
| Ионный ток анода (при Uа= -500 В, Iа=2,5 А) | £ 35 (50 для ГУ-10Б) мкА |
| Обратный ток сетки (при Uс= -300 В) | £ 300 мкА |
| Ток эмиссии катода (при Uа=1000 В) | ³ 15 А |
| Колебательная мощность | ³ 10 кВт |
| Крутизна характеристики | 20 ± 5 мА/В |
| Коэффициент усиления | 50 ± 5 |
| Междуэлектродные емкости, пФ: | |
| входная | £ 40 |
| выходная | £ 24 |
| проходная | £ 1,5 |
| Долговечность | ³ 1000 ч |
|
Предельные эксплуатационные данные |
|
| Напряжение накала | 7 - 7,3 В |
| Напряжение анода | 8 кВ |
| Напряжение анода в телеграфном режиме | 10 кВ |
| Коэффициент анодной модуляции | 1 |
| Мощность, рассеиваемая анодом | 10 кВт |
| Мощность, рассеиваемая сеткой | 300 Вт |
| Рабочая частота | 26 МГц |
| Температура стекла баллона и мест спая металла со стеклом | 150 С |
| Температура ввода | 150 С |
| Интервал рабочих температур окружающей среды ГУ-10А | от +5 до +70 С |
| Интервал рабочих температур окружающей среды ГУ-10Б | от -60 до +70 С |
Назад

