Что-то не так?
Пожалуйста, отключите Adblock.
Портал QRZ.RU существует только за счет рекламы, поэтому мы были бы Вам благодарны если Вы внесете сайт в список исключений. Мы стараемся размещать только релевантную рекламу, которая будет интересна не только рекламодателям, но и нашим читателям. Отключив Adblock, вы поможете не только нам, но и себе. Спасибо.
Как добавить наш сайт в исключения AdBlockРеклама
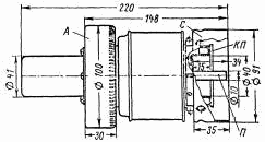
Лампа ГИ-19
ГИ-19Б
|
Мощный импульсный
генераторный триод для работы в
качестве генератора высокочастотных
колебаний в схемах с общей сеткой, в
режиме самовозбуждения при
импульсной анодной модуляции в
метровом диапазоне волн и
длительности импульса 10 мкс. Оформление - металлостеклянное. Охлаждение - принудительное: воздушное не менее 180 м3/ч. Масса 2,8 кг. |
|
|
|
Основные параметры | |
| Ток накала | 20 ± 3 А |
| Ток анода ионный | £ 15 мкА |
| Ток сетки обратный | £ 700 мкА |
| Ток эмиссии катода в импульсе | ³ 100 А |
| Крутизна характеристики | 27 ± 6 мА/В |
| Колебательная мощность в импульсе | ³ 230 кВт |
| Междуэлектродные емкости, пФ: | |
| входная | 51 ± 5 |
| выходная | 12,5 ± 1,5 |
| проходная | 10,5 ± 1,5 |
| Долговечность | ³ 300 ч |
| Критерий долговечности: колебательная мощность в импульсе | ³ 205 кВт |
|
Предельные эксплуатационные данные |
|
| Напряжение накала | 7,1 - 7,5 В |
| Импульсное напряжение анода | 14 кВ |
| Мощность, рассеиваемая анодом | 1 кВт |
| Мощность, рассеиваемая сеткой | 30 Вт |
| Длительность импульса | 10 мкс |
| Скважность (минимальная) | 500 |
| Температура анода | 150 С |
| Температура колбы и спая | 120 С |
| Интервал рабочих температур окружающей среды | от -50 до +70 С |
Назад