Что-то не так?
Пожалуйста, отключите Adblock.
Портал QRZ.RU существует только за счет рекламы, поэтому мы были бы Вам благодарны если Вы внесете сайт в список исключений. Мы стараемся размещать только релевантную рекламу, которая будет интересна не только рекламодателям, но и нашим читателям. Отключив Adblock, вы поможете не только нам, но и себе. Спасибо.
Как добавить наш сайт в исключения AdBlockРеклама
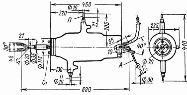
Лампа ГИ-2
ГИ-2А
|
Импульсный модуляторный
тетрод для работы в качестве
усилителя импульсов в схеме с
накопительной емкостью в цепи анода. Оформление - стеклянное. Рабочее положение - вертикальное, с выводами анода вверх. Охлаждение - принудительное: анода - жидкостное не менее 180 л/мин, 2-й сетки - жидкостное не менее 10 л/мин. Масса 8,5 кг. |
|
|
|
Основные параметры | |
| Ток накала | 63 ± 6 А |
| Ток анода | 103 мА |
| Ток анода (при Uн=15 В) | 90 мА |
| Ток анода в импульсе | ³ 82 А |
| Термоток 1-й сетки (при Uн=19 В, Uс1=5 кВ) | £ 500 мкА |
| Ток 1-й сетки | £ 15 мА |
| Ток 2-й сетки | £ 45 мА |
| Напряжение запирания (при Uа=67 кВ, Uс1=0, Iа=1 мА) | £ 42 кВ |
| Крутизна характеристики | ³ 11,7 мА/В |
| Выходная мощность в импульсе | ³ 4100 кВт |
| Междуэлектродные емкости, пФ: | |
| входная | £ 300 |
| выходная | £ 35 |
| проходная | £ 5 |
| Долговечность | ³ 250 ч |
| Критерии долговечности: | |
| ток анода | 90 мА |
| ток 1-й сетки | 3 мА |
|
Предельные эксплуатационные данные |
|
| Напряжение накала | 16 - 18 В |
| Напряжение анода | 30 - 66 кВ |
| Напряжение 1-й сетки отрицательное | 4 - 6 кВ |
| Напряжение 1-й сетки в импульсе отрицательное | 6,5 - 7,5 кВ |
| Напряжение 2-й сетки | 8,5 кВ |
| Сопротивление нагрузки | 550 - 800 Ом |
| Длительность импульса | 0,6 мкс |
| Мощность, рассеиваемая анодом | 1,5 кВт |
| Мощность, рассеиваемая 2-й сеткой | 350 Вт |
| Мощность, рассеиваемая 1-й сеткой | 100 Вт |
| Интервал рабочих температур окружающей среды | от 0 до +70 С |
Назад