Что-то не так?
Пожалуйста, отключите Adblock.
Портал QRZ.RU существует только за счет рекламы, поэтому мы были бы Вам благодарны если Вы внесете сайт в список исключений. Мы стараемся размещать только релевантную рекламу, которая будет интересна не только рекламодателям, но и нашим читателям. Отключив Adblock, вы поможете не только нам, но и себе. Спасибо.
Как добавить наш сайт в исключения AdBlockРеклама
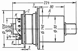
Лампа ГИ-37
ГИ-37А
|
Импульсный генераторный
триод для работы в автогенераторах и
усилителях высокочастотных
колебаний, в схемах с общей сеткой в
режиме анодной
модуляции. Оформление - металлокерамическое. Рабочее положение - вертикальное, анодом вниз. Охлаждение - принудительное: анода - водяное не менее 4,5 л/мин, ножки - воздушное не менее 80 м3/ч. Масса 4,5 кг. |
|
|
|
Основные
параметры | |
| Ток накала | 200 ± 15 А |
| Ток анода (при Uс=50 В) | ³ 3 А |
| Ионный ток анода (при Uа=0,5 кВ) | £ 20 мкА |
| Ток сетки (при Uс=50 В) | £ 1,5 А |
| Ток сетки обратный (при Uа=10 кВ, Iа=0,4 А) | £ 100 мкА |
| Ток эмиссии катода (при Iа=1 кВ) | ³ 80 А |
| Ток эмиссии катода (при Uн=6 В) | ³ 60 А |
| Крутизна характеристики | 65 ± 10 мА/В |
| Коэффициент усиления | 85 ± 15 |
| Напряжение запирающее отрицательное (при Uа=10 кВ, Iа=0,1 А) | ³ 250 В |
| Междуэлектродные емкости, пФ: | |
| входная | 90 ± 15 |
| выходная | 23 ± 4 |
| проходная | £ 0,8 |
| Выходная мощность в импульсе (на частоте 500 МГц) | ³ 100 кВт |
| Долговечность | ³ 500 ч |
|
Предельные эксплуатационные данные |
|
| Напряжение накала | 6 - 6,6 В |
| Напряжение анода в импульсе | 15 кВ |
| Ток накала пусковой | 300 А |
| Длительность импульса | 50 мкс |
| Мощность, рассеиваемая анодом | 4 кВт |
| Мощность, рассеиваемая сеткой | 0,1 кВт |
| Рабочая частота | 500 МГц |
| Скважность (минимальная) | 60 |
| Температура баллона, ножки и спая металла с керамикой | 150 С |
| Интервал рабочих температур окружающей среды | от +5 до +60 С |
Назад