Что-то не так?
Пожалуйста, отключите Adblock.
Портал QRZ.RU существует только за счет рекламы, поэтому мы были бы Вам благодарны если Вы внесете сайт в список исключений. Мы стараемся размещать только релевантную рекламу, которая будет интересна не только рекламодателям, но и нашим читателям. Отключив Adblock, вы поможете не только нам, но и себе. Спасибо.
Как добавить наш сайт в исключения AdBlockРеклама
Практические советы по изготовлению однодиапазонной антенны типа двойной квадрат
Практические советы по изготовлению однодиапазонной антенны типа двойной квадрат
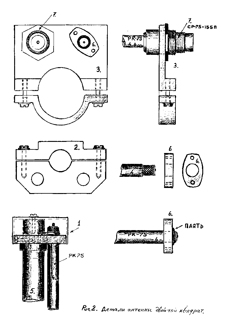
Несущая конструкция выполнена из алюминиевых труб. На концах крестовин в качестве изоляторов используются трубки из стеклопластика (лыжные палки) поз.(5).0ни вклеиваются на эпоксидную смолу в алюминиевые трубки. Для увеличения механической прочности, и уменьшения парусности крестовины изготавливаются из труб разного диаметра (телескопом). Линейный размер телескопической крестовины зависит от длины волны и равен: L = лямбда/5.5 Крестовина, неоднородность в виде конструктивного элемента, не приводит к заметному изменению диаграмм направленности, а при определенной длине уменьшает реактивную составляющую входного сопротивления антенны. Антенна обязательно должна иметь симметрирующее устройство Рис.1 позиция (4). Симметрирующее устройство (мостик) выполнено из коаксиального кабеля и закреплено на вертикальной стойке крестовины активного вибратора при помощи элементов крепления Рис. 1 поз. (4),(2),(3). Детали поз. (1) (2) изготовлены из диэлектрика. Детали поз. (3) алюминий Д16-Т, ДМГ. Поз.(6) латунь ЛС-59, ЛС-63. Длина симметрирующего мостика 1=лямбда/4х0,95. В диэлектрическую трубку Рис.1 поз.(5) вклеена текстолитовая вставка для крепления платы и крышки. Плата с двух сторон имеет выборку, при закрытой крышке через эти щели происходит вентиляция, предотвращая образование конденсата.
EW8AU,
Владимир Приходько, |






