Что-то не так?
Пожалуйста, отключите Adblock.
Портал QRZ.RU существует только за счет рекламы, поэтому мы были бы Вам благодарны если Вы внесете сайт в список исключений. Мы стараемся размещать только релевантную рекламу, которая будет интересна не только рекламодателям, но и нашим читателям. Отключив Adblock, вы поможете не только нам, но и себе. Спасибо.
Как добавить наш сайт в исключения AdBlockРеклама
Питание симметричных вибраторов
Питание симметричных вибраторов
В связи с быстрыми темпами роста потребности в средствах радиосвязи, а так же с увеличением числа источников промышленных помех, происходит “перегрузка эфира” в декаметровом диапазоне. Рост загрузки радиоспектра и рост уровня взаимных помех создали потребность специального изучения проблем, связанных с возможностью совместной работы радиостанций, получивших наименование электромагнитной совместимости. В деле борьбы с взаимными помехами и обеспечением электромагнитной совместимости антенны могут явиться одним из основных экономических и технических факторов. Антенны с высокой пространственной избирательностью способствуют более плотной пространственной загрузке одних и тех же участков спектра без увеличения взаимных помех. У радиолюбителей существует неверное представление о целесообразности применения качественных симметрирующих устройств. Прежде всего следует понимать, что если бы речь шла только о искажении диаграммы направленности антенны, то эту проблему можно было бы и не рассматривать... Перекос в диаграмме направленности, всегда можно учесть, когда речь идет о простых антеннах, один - два элемента. В многоэлементных антеннах, типа волновой канал, этот перекос вообще незначителен. Более существенны другие факторы, также как появление кроссполяризации, возбуждение бума, фидера питания и мачты. При приеме такая система более подвержена индустриальным помехам, что вызывает дополнительный шум на входе приемника. При передаче расходуется часть полезной энергии, создавая помехи TV и другим радиоэлектронным приборам. Многоэлементную антенну без симметрирующего устройства сложнее настраивать, так как появляется дополнительная связь между элементами и ложные резонансы.
Иногда при подключении фидера питания к антенне, ставят ферритовое кольцо, продев в него несколько витков кабеля, надеясь, что это чем-то поможет или думая, что это лучше чем ничего - не обольщайтесь... Наиболее простой способ согласования антенны “волновой канал” с коаксиальным кабелем, это применяемая схема гамма или омега согласования. Несомненно, с экономической и механической точек зрения, очень удобна, но с электрической не выдерживает никакой критики, хоть и применяется уже многие годы. Заметьте, в технике связи, такие устройства не применяются. Пробуем разобраться по этим схемам. Рассмотрим для примера два полуволновых вибратора, один из которых выполнен из трубы (или какого-нибудь проводника) одного диаметра. Рис. 1. Второй вибратор из двух проводников разного диаметра. Рис. 2.
В обоих случаях точка А, середина вибратора. При возбуждении вибратора электромагнитной волной в первом случае Рис. 1 минимум напряжения или точка нулевого потенциала совпадает с точкой “А” серединой вибратора. Такой вибратор, можно закрепить к буму в точке “А”, с хорошим или плохим электрическим контактом, это не важно. Во втором случае Рис. 2 точка нулевого потенциала не совпадает с точкой “А”. Если в точке “А” закрепить бум, то при возбуждении вибратора возбудится бум и мачта. Потеря мощности (или перераспределение между вибратором и бумом) может изменяться в зависимости от длины бума и высоты мачты, в худшем случае потери могут достичь 20%. При этом КСВ на выходе передатчика может равняться единице, ведь передатчик (или генератор) “не понимает” слова антенна. Мы подключили к передатчику согласованную нагрузку, в которую входят: фидер питания, согласующее устройство, вибратор, бум, мачта и т.д. При несимметричной запитке полуволнового вибратора с помощью g или W согласования мы создаем неоднородность на одном плече вибратора, что и приводит к смещению точки нулевого потенциала относительно бума. Для частичного устранения этого эффекта, необходимо изолировать активный элемент от бума, с одновременным смещением точки запитки вибратора в сторону созданной неоднородности. Оплетка коаксиального кабеля подключается не в середину вибратора, а с небольшим смещением в сторону согласующего устройства. Остальные элементы антенны, такие как директора и рефлектор, изолировать не обязательно. Если изолировать вибратор от бума по ряду причин не получается, можно прикрепить к свободной половине вибратора какой-либо элемент в виде отрезка трубы, такой же как и шлейф у-трансформатора, или поставить на край вибратора емкостную нагрузку. Этим самым мы создадим дополнительную неоднородность на свободном плече вибратора и сделаем его симметричным. При этом необходима корректировка вибратора по длине. Такое решение выглядит немного абсурдным, так как, навесив дополнительный элемент, напрашивается мысль о его использовании (запитке), в результате мы переходим к симметричному т-согласованию. С электрической точки зрения т-согласование не создает перекоса и не нарушает симметрию вибратора, но оно применимо при питании вибратора с помощью высокоомной двухпроводной линии. При запитке вибратора коаксиальным кабелем, придется поставить симметрирующее - трансформирующее устройство Рис. 3, или запитать вибратор двумя кабелями, что экономически невыгодно. Рис.4
Решить все проблемы проще, используя в качестве активного элемента, разрезной вибратор с симметрирующим мостиком или что еще лучше петлевой вибратор. В узкополосных радиолюбительских антеннах, нет смысла применять широкополосные симметрирующие устройства на ферритах, целесообразнее применять узкополосные симметрирующие и трансформирующие устройства, которые одновременно являются дополнительными фильтрами. ФВЧ. Петлевой вибратор позволяет реализовать идеальное симметрирующее устройство без потерь, если кабель питания завести через точку нулевого потенциала внyтри трубы одного из плеч вибратора. Рис. 5. Если необходимо трансформировать входное сопротивление антенны с фидером, в нижней части вибратора ставится четвертьволновый трансформатор, выполненный из отрезка кабеля нужного волнового сопротивления Рис. 6. Для изготовления трансформатора, с кабеля снимается экран и увеличивается диаметр изоляции до требуемого волнового сопротивления. Вибратор необязательно делать из цельной трубы с плавными изгибами по радиусу, его можно изготовить из трех отрезков трубы. См. Рис. 7.
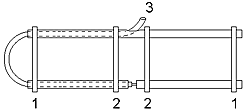
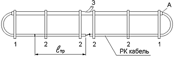
В диапазоне КВ только верхняя часть вибратора выполнена из трубы, нижнюю часть вибратора, левую и правую изготавливают из РК-кабеля. (Для снижения веса вибратора). Добавив большее количество диэлектрических перемычек Рис. 8.
1 – металлические перемычки В правой половине вибратора запитывается только оплетка коаксиального кабеля. В точке “А” обеспечить электрический контакт с трубой. Чтобы конструкция была легкой, в петлевом вибраторе использовать тонкий коаксиальный кабель, не делая запаса по сечению кабеля. При мощности 500 Вт на частоте 30 мГц подойдет кабель с полиэтиленовой изоляцией РК75-4-12 или 50-ти омный. Кабель с фторопластовой изоляцией можно взять еще тоньше, например РК75-3-22 на частоте 30 мГц выдерживает 1000 Вт. Петлевой полуволновой вибратор можно симметрировать и согласовать с помощью четвертьволнового короткозамкнутого шлейфа. Рис. 9. Шлейф не обязательно опускать вниз, в многоэлементных антеннах типа волновой канал, шлейф располагается вдоль бума в сторону рефлектора.
Рис. 9 Кабель бандажируется к одной стороне шлейфа и по длине шлейфа находят точку запитки, где волновое сопротивление нагруженного антенной шлейфа совпадает с волновым сопротивлением питающего кабеля. С электрической точки зрения, это нормальное согласование и симметрирование, единственная проблема в конструктивном исполнении данной схемы. Все выше перечисленные требования, к симметрированию и согласованию, относятся ко всем симметричным антеннам: диполям, квадратам, зигзагам, ромбам. Используя это на практике, вы намного улучшите качество приема и передачи, а так же решите ряд нерешенных до этого проблем. В качестве несущего элемента, в петлевом вибраторе можно применить стеклопластик (например, склеить несколько колен телескопической удочки), а сам вибратор изготовить из отрезка коаксиального кабеля. См.рис. 10
Рис. 10 В точке “А” оплетки кабелей спаять. В правой стороне петлевого вибратора с обеих сторон подключена только оплетка коаксиального кабеля, центральный проводник не задействован. Стеклопластик можно применить и для других пассивных элементов, таких как директор и рефлектор. При этом внутрь стеклопластиковой трубки вставляется какой-либо проводник, например алюминиевый провод или полоска из алюминиевой или медной фольги. Фольгу можно приклеить эпоксидной смолой и с внешней стороны пластиковой трубки. Конструкция получается легкая и прочная, что позволяет реализовать такой вибратор на низкочастотных диапазонах. P.S. Если применяется разрезной вибратор, нужно применить узкополосно-симметрирующее устройство. EW8AU | |||||||||||||||||







