Что-то не так?
Пожалуйста, отключите Adblock.
Портал QRZ.RU существует только за счет рекламы, поэтому мы были бы Вам благодарны если Вы внесете сайт в список исключений. Мы стараемся размещать только релевантную рекламу, которая будет интересна не только рекламодателям, но и нашим читателям. Отключив Adblock, вы поможете не только нам, но и себе. Спасибо.
Как добавить наш сайт в исключения AdBlockРеклама
Простая походная антенна
Простая походная антенна
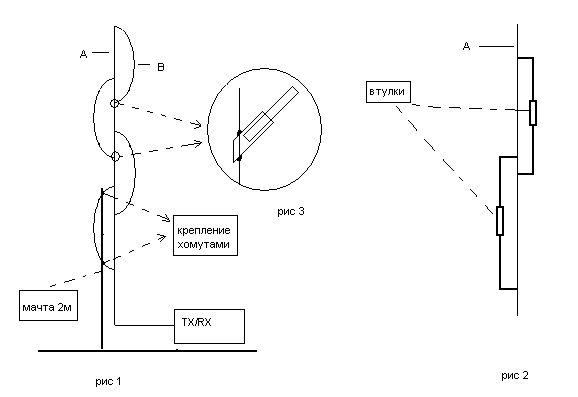
Наверное многие радиолюбители сталкивались с проблемой установки временных антенн на дачном участке или в походных условиях . В данной статье я хочу рассказать о конструкции антенны которую я изготовил и успешно использую . Критерием при изготовление данной антенны послужили факторы: быстроты развертывания, компактность и эффективность работы. Изображенная на рисунке 1 антенна представляет из себя полотно из стальной проволоки “А”, которую я извлек из полевки, и углепластиковых штырей “В” которые я приобрел в магазине для рыбалки они являлись распорками для зыбки китайского производства длинной примерно 1,5 метра мне понадобилось 8 штук то бишь две зыбки, можно конечно использовать и другие материалы но главное чтобы штыри были легкие и упругие. Для начала на проволоку надеваются медные трубки с внутренним диаметром равному диаметру используемых штырей, расстояние между ними подбирается эксперементально чтобы при изгибе штыря натяжение проволоки было достаточно сильным . Далее втулки припаиваются к проволоки это видно на рис. 3 . Антенну можно считать готовой.
Сборка антенны заключается в том чтобы поочередно вставить все штыри во втулки все это можно проделать на земле а потом всю конструкцию поднять и закрепить к хомутами к мачте, заняло это 3 мин . Высота моей антенны получилась около 9 метров . Потом было добавлено еще два колена но другой конструкции изображенной на рис 2. Это 4 г-образных дюралевых прутка на 2-х нарезана левая резьба на двух других правая далее они вкручивались во втулки сквозь прутки продевался стальной провод А и крепился к ним. Вращая втулки я добивался максимального натяжения проволоки. К недостаткам данной конструкции можно отнести слабую ветровую нагрузку антенны,
при сильных порывах ветра она гнулась аж градусов на 60, но зато потом возвращалась в исходное положение. Я назвал ее NEVALYAHKOJ :-)) 16.08.2007 Иванов Д. В. RA3TJE
|