Портал QRZ.RU существует только за счет рекламы, поэтому мы были бы Вам благодарны если Вы внесете сайт в список исключений.
Мы стараемся размещать только релевантную рекламу, которая будет интересна не только рекламодателям, но и нашим читателям. Отключив Adblock, вы поможете не только нам, но и себе. Спасибо.
НЕКОТОРЫЕ ПУТИ ВОЗНИКНОВЕНИЯ И СПОСОБЫ УСТРАНЕНИЯ ПОМЕХ
НЕКОТОРЫЕ ПУТИ ВОЗНИКНОВЕНИЯ И СПОСОБЫ УСТРАНЕНИЯ ПОМЕХ
Григоров Игорь Николаевич, а/я 68, 308015, Белгород
РОССИЯ
rk3zk (at) antennex.com
Как только установлена радиолюбительская антенна, которая видна со стороны,
сразу же все помехи теле - радиоприему, кабельному телевидению приписываются
ей. И это независимо от того, были ли эти помехи раньше до установки антенны,
либо они действительно принадлежат любительской радиостанции.
Во всяком случае, необходимо внимательно осмотреть антенно-фидерную систему
и исключить помехи, которые возникают при прохождении сигнала по ней,
или которые связаны с некорректной настройкой трансивера или усилителя
мощности при работе с данной антенно-фидерной системой.
В литературе [1] мы рассмотрели способы борьбы с “жжением” корпуса передатчика.
Однако, часто, одновременно с “жжением” корпуса передатчика появляются
сильные радиопомехи различной радиоэлектронной аппаратуре. Не всегда применение
фильтра внеполосных излучений позволяет избавиться от помех телевидению.
Иногда, даже после его установки на выход передатчика, помехи приему телевидения
остаются на прежнем уровне. В таком случае можно сделать вывод о том,
что помехи проникают на вход телевизора не через антенну передатчика,
а другим путем. В этой статье рассматриваются методы поиска и устранения
таких типов помех. Описаны пути возникновения помех в усилителе мощности
и способы их устранения.
Используя простые методы устранения помех, описанные здесь, можно простыми
способами добиться работы трансивера с антенно-фидерной системой практически
без помех окружающей радиоэлектронной аппаратуре.
Режекторный контур из коаксиального кабеля
При использовании многодиапазонных антенн часто бывает, что на нескольких
любительских диапазонах такая антенна имеет значение КСВ более чем 1:2,5.
При таком высоком значении КСВ, почти 20 % мощности от антенны «отражается»
на вход трансивера. В зависимости от причин, которые вызывают повышенное
значение КСВ на конкретном диапазоне работы антенны, различны пути протекания
отраженного от антенны высокочастотного тока к передатчику.
Некоторая часть отраженного высокочастотного тока протекает внутри антенного
коаксиального кабеля, другая его часть протекает по внешней стороне оплетки
коаксиального кабеля. Наибольшее значение высокочастотный ток, протекающий
по поверхности внешней оплетки коаксиального кабеля, достигает при рассимметрировании
антенны посторонними близлежащими предметами. Рассимметрирование может
быть при неудачном расположении антенны относительно окружающих ее предметов.
Высокочастотный ток, протекающий по внешней стороне оплетки коаксиального
кабеля в месте подключения этого кабеля к трансиверу, раздваивается.
Часть его – ток ”I1” протекает через корпус трансивера на радиотехническую
и электротехническую “землю”, что создает “горячее” соприкосновение с
аппаратом ( так как тело оператора тоже является плохой радиотехнической
землей!). Возможно даже возбуждение трансивера при работе на передачу
на отдельных диапазонах. Другая часть тока – “I2” утекает в электрическую
сеть. Эта часть тока будет создавать помехи в работе для другой аппаратуры,
включенной в эту электрическую сеть. Пути утекания высокочастотного тока
с внешней стороны оплетки коаксиального кабеля показаны на рис. 1.
Рис. 1 Путь обратных токов
Борьба с токами, стекающими с внешней стороны оплетки коаксиального
кабеля на корпус трансивера, может быть разной. Например, мне удалось
в значительной мере устранить вышеуказанное явление установкой режекторного
контура в антенном фидере, причем этот режекторный контур был выполнен
из коаксиального кабеля питания этой же антенны! Схема включения режекторного
контура в антенном фидере показана на рис. 2.
Рис. 2 Режекторный контур, выполненный из коаксиального кабеля
Режекторный контур выполняют для наиболее “жгучего” диапазона работы
антенны, или для диапазона, на котором уровень помех, создаваемых антенной
при работе на передачу, имеет максимальную величину. Часто, после установки
режекторного контура настроенного на один из “жгучих” диапазонов, помехи
и “горячее” соприкосновение на других диапазонах тоже резко уменьшаются.
При сильном уровне помех на других диапазонах, можно выполнить на коаксиальном
кабеле несколько режекторных контуров. В этом случае первый от антенны
режекторный контур должен быть настроен на наиболее высокочастотный диапазон
работы антенны.
Данные для выполнения контуров на основе коаксиального кабеля приведены
в табл. 1. Режекторные контуры были намотаны на каркасах, в качестве которых
использовались пустые пластиковые бутылки из-под напитков и моющих средств.
Витки на этих режекторных контурах были закреплены с помощью изоленты.
Можно выполнить катушку на каркасе, диаметр которого отличается на 20%
в меньшую или большую сторону от диаметра, указанного в табл. 1. Режекторный
контур находился внутри радиорубки. Это позволили расположить его внутри
обычной картонной коробки.
Таблица 1. Данные контуров, выполненных на основе коаксиального кабеля
Диапазон, МГц
Индуктивность катушки, мкГн
Диаметр каркаса, мм
Длина намотки, мм
Количество витков, N
3,6
30
100
100
30
7
10
50
100
18
10
5
50
50
12
14
2,4
40
50
10
18
1,5
50
50
7
21
1,2
50
50
6
24
0,9
50
40
5
27-30
0,6
30
35
5
Настройка контура осуществляется с помощью переменного конденсатора по
максимальному свечению светодиода, который одним витком гибкого монтажного
провода связан с режекторным контуром. Если отраженной от антенны мощности
недостаточно для свечения светодиода, контур можно настроить с помощью
индикатора напряженности высокочастотного поля, расположенного в непосредственной
близости от этого контура.
Как видно из рис. 2, “земля” может быть подключена к верхней, или к нижней
части режекторного контура. Также есть положение переключателя S1, в котором
“земля” не подключена к коаксиальному кабелю. Выбор положения подключения
“земли” выбирается экспериментально, руководствуясь минимальным уровнем
помех при работе антенны на передачу. В качестве “земли” может служить
батарея отопления, или толстый медный провод длиной 5-20 метров. Хороший
эффект дает подключение этого провода к режекторному контуру через устройство
типа “искусственная земля”.
Помехи в старых усилителях мощности
Одной из возможных причин возникновения помех приему телевидения, которых
прежде в течение длительного времени не было, является деградация выходной
лампы или транзистора усилителя мощности трансивера.
Приведем основные признаки, указывающие на эту причину. Во первых,
возникают устойчивые помехи радиоаппаратуре при работе усилителя мощности
( или трансивера, в котором расположен усилитель мощности) даже на безопасных
с данной точки зрения появления помех низкочастотных любительских диапазонах
160 и 80 метров. Во вторых, возможно возбуждение усилителя мощности
на некоторых ограниченных участках любительских диапазонов или при работе
определенными видами модуляции. Например, усилитель мощности может возбуждаться
при работе на SSB, но обеспечивать устойчивую работу CW. Другой вариант
возбуждения усилителя, когда при работе в начале SSB- участка происходит
возбуждение, а в конце или в середине этого участка усилитель работает
нормально. В третьих, на всех диапазонах работы усилителя мощности
наблюдается малая отдача мощности в нагрузку при сравнительно большом
потребляемом при этом анодном или коллекторном токе его выходного каскада.
Деградированную лампу обычно можно попытаться определить визуально: в
новых лампах анод ровного серого цвета, в деградированной лампе неестественно
черного, часто с волнообразными изменениями. Нередко он бывает деформирован
на стыках. Это относится к лампам металлическим анодом – типа ГУ50, ГУ29,
Г807 и некоторым другим. В деградированных лампах может произойти деформация
и провисание сеток. В этом случае, если потрясти лампу над ухом, то вполне
можно услышать как звенят провисшие сетки.
При работе деградированной лампы она начинает потреблять большой анодный
ток при малой отдаваемой мощности. В то же время при работе деградированной
лампы на малых токах (в пределах удвоенного значения тока покоя) ее работа
немного отличается от работы новой лампы. При возникновении такой ситуации
устранить помехи радиоаппаратуре помогает только замена деградированной
лампы. Для временного устранения помех радиоаппаратуре возможна работа
с деградированной лампой на небольшой мощности.
С мощными транзисторами ситуация обстоит немного сложнее. Все мощные
высокочастотные биполярные транзисторы являются многоэмиттерными. При
наладке транзисторного усилителя мощности есть реальная опасность прожога
или деградации нескольких элементарных ячеек транзистора. В результате
этого, высокочастотный транзистор может стать источником помех, особенно
при больших токах, проходящих через него. Деградированные элементарные
ячейки высокочастотного, мощного транзистора являются нелинейными элементами,
которые ведут к созданию гармоник основного сигнала.
В процессе длительной эксплуатации транзисторных усилителей мощности
не исключена деградация ячеек транзистора из-за некачественного его изготовления
или из-за перегрузок усилителя мощности. Перегрузка может быть как по
входному сигналу – превышение тока базы, так по выходному сигналу – превышение
тока коллектора. Даже кратковременные перегрузки могут повредить мощный
выходной транзистор и привести к его деградации. При проверке такого транзистора
на постоянном токе он может вести себя как исправный. Только замена этого
транзистора на заведомо исправный, позволяет установить истинного “виновника”
помех.
Помните, что только соблюдение всех режимов эксплуатации выходного
транзистора или мощной выходной лампы гарантирует длительный срок их службы
в усилителе мощности!
В некоторых лампах их выводы после длительной работы покрываются окислами,
особенно если усилитель мощности эксплуатировался в сыром помещении (например,
на веранде), в помещении, где в воздухе находятся агрессивные газы (в
обычной кухне их предостаточно!). Иногда бывает достаточно поставить негерметичный
кислотный или щелочной аккумулятор рядом с усилителем мощности и через
некоторое время контакты ламп и ламповых панелек покроются слоем окислов.
При окислении выводов лампы можно попробовать отполировать эти выводы.
Чистка ламповых панелек часто дает только кратковременный эффект. Можно
попробовать в этом случае просто запаять лампу в панельке.
Холодная пайка представляет особенно неприятное явление в усилителе
мощности. Она может привести к появлению очень сильных радиопомех, причем
в транзисторных и в ламповых усилителях мощности. Холодную пайку определяют
обычным способом, поочередно простукивая все подозрительные контакты и
следя при этом за изменением режима работы усилителя мощности.
Режекторные контуры в сети питания
Бывает, что при включении усилителя мощности возникают сильные помехи
телевидению в месте расположения трансивера. Такое случилось и у меня
при подключении усилителя мощности к трансиверу, причем помеха “пошла”
только на диапазоне 40 метров. Включение низкочастотного фильтра на выходе
усилителя мощности не дало результатов.
При дальнейшем поиске путей проникновения помех на вход телевизора, оказалось,
что на сетевых проводах питания присутствовал значительный уровень высокочастотного
напряжения. Дальнейший поиск путей проникновения в сеть высокочастотного
напряжения показал, что блокировочные слюдяные конденсаторы установленные
в самодельном фильтре радиопомех в сети питания, работают неудовлетворительно.
При работе усилителя мощности в диапазоне 40 метров на этих конденсаторах
было более 10 вольт высокочастотного напряжения! На других диапазонах
работы усилителя мощности уровень высокочастотного напряжения на слюдяных
конденсаторах был незначительным.
Очевидно, сетевой фильтр имел паразитный резонанс на диапазоне частот
7 МГц. На рис. 3 показаны уровни высокочастотного напряжения на разных
элементах низкочастотного сетевого фильтра. Между проводами сети было
10 вольт высокочастотного напряжения! Проникая через сетевые провода на
различную радиоэлектронную аппаратуру, это высокочастотное напряжение
вызывало сильные помехи при работе этой аппаратуры.
Рис. 3 Уровни высокочастотного напряжения на элементах сетевого
фильтра
Поскольку наиболее сильные помехи были только на диапазоне 40 метров, меры по устранению помех в сеть питания были предприняты именно на этом диапазоне.
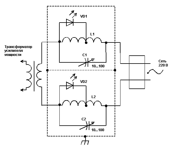
Осуществить это мне помогли обычные режекторные контуры, которые были включены в сетевые провода питания, как показано на рис. 4. Для достижения максимальной величины режекции контур должен быть выполнен как можно более качественно. В моем варианте катушки L1 и L2, предназначенные для подавления частот диапазона 40 метров содержали по 30 витков медного провода толщиной 1 мм, намотанного на оправку диаметром 2,5 см, длина намотки была равна 4 см. Светодиод присоединялся первоначально к седьмому витку катушки. В качестве контурных конденсаторов применялись воздушные подстроечные конденсаторы типа КПВ-1 емкостью 10–100 пФ.
Рис. 4 Режекторные контуры в цепи питания
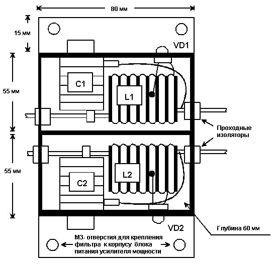
Конструкция фильтра показана на рис. 5. Режекторные контуры были помещены
в запаянную коробку из фольгированного стеклотекстолита. Коробка была
расположена непосредственно на задней панели усилителя мощности. Фильтр
следует подключать к выходному усилителю мощности возможно более короткими
проводами. Если внутри блока питания усилителя мощности около сетевого
трансформатора есть свободное место, то режекторные контуры можно разместить
там. Корпус усилителя мощности был заземлен на батарею отопления через
медную ленту шириной 3 см. Коаксиальный кабель проходил вдоль этой ленты.
Это позволило значительно уменьшить излучение от внешней стороны его оплетки
в комнате.
Рис. 5 Конструкция фильтра на основе режекторных контуров
Режекторный контур настраивается на частоту режекции когда он уже
установлен в корпус. Для этого контур через конденсатор емкостью 10 пФ
подключался к выходу усилителя мощности имеющего уровень мощности на своем
выходе в пределах 10 Вт, согласно схеме показанной на рис. 6. По максимальному
свечению светодиода с помощью переменного конденсатора режекторный контур
настраивался в резонанс.
После установки режекторных контуров в усилитель мощности еще раз немного
подстраивают режекторные контуры с помощью переменного конденсатора по
максимуму свечения светодиода. При слишком ярком свечении светодиода его
присоединяют к меньшему количеству витков катушки. После настройки контура
в резонанс светодиод можно не отключать.
На мой взгляд, настройка режекторных контуров при помощи усилителя мощности
более легкая и очевидная. Однако, настройка контуров при помощи усилителя
мощности не является единственно возможной. Метод настройки зависит от
опыта и возможностей радиолюбителя. Например, предварительную настройку
режекторных контуров можно осуществить при помощи ГИР. Другой вариант
выполнения настройки режекторного контура заключается в использовании
высокочастотного вольтметра для этих целей. В этом случае контур настраивают
по максимуму высокочастотного напряжения на нем.
Если помехи, возникающие вследствие некачественных блокировочных конденсаторов,
появляются при работе усилителя мощности на других любительских диапазонах,
то режекторные контуры в фильтре можно включать последовательно для каждого
из этих диапазонов. Основные требования при выполнении таких режекторных
контуров – максимально возможная их добротность и экранирование каждого
контура друг от друга. Расстояние между экраном и катушкой должно быть
не менее половины ее диаметра. Данные для выполнения катушек фильтра для
любительских диапазонов 160-10 метров приведены в табл. 2. Для настройки
этих катушек используется переменный конденсатор с воздушным диэлектриком
емкостью 10-100 пФ.
Таблица 2 Данные катушек режекторных контуров
Диапазон, МГц
Диаметр катушки, мм
Длина намотки катушки, мм
Количество витков катушки
Диаметр провода, мм
1.9
20
20
100
0.15
3.5
20
25
50
0.5
7
25
40
30
1,0
10
25
30
15
1,0
14
25
25
12
1.0
18
25
30
10
1.0
21-24
20
15
8
1.0
26-30
20
20
8
1.0
Нелинейные эффекты в антенной системе
В радиолюбительской литературе достаточно подробно описаны способы устранения
помех телевидению, возникающих из-за гармоник передатчика, которые проникают
на вход телевизора через эфир или общую сеть питания. Но часто бывают
ситуации, когда помехи создает хорошо отлаженный передатчик, сигнал которого
не содержит гармоник.
Источником этих помех являются нелинейные элементы, возникающие
в месте контакта “металл-металл” или на участках окисления металлов. Например,
закись меди является прекрасным полупроводником. Окислы многих других
металлов тоже являются хорошими полупроводниками. Контакт металлов друг
с другом, особенно с образованием гальванической пары, часто также обладает
полупроводниковым эффектом.
Как и на любом полупроводнике, на этих участках могут происходить нелинейные
эффекты. Они выражаются в том, что сигналы от передатчика радиолюбителя,
телецентра, служебной станции, могут в тех или иных комбинациях смешиваться
друг с другом. Полученные в результате этого вторичные сигналы с частотами,
образованными различными линейными комбинациями частот исходных сигналов,
могут излучаться обратно в эфир. Это приведет к созданию радиопомех различной
радиоэлектронной аппаратуре при работе радиолюбительского передатчика.
Нелинейный эффект преобразования сигналов может возникнуть при
мощности подводимой к антенне начиная от нескольких ватт. Все зависит
от места расположения этих нелинейных участков. При нахождении их непосредственно
на самой антенне, на антенной мачте, на оттяжках антенны мощность, достаточно
небольшой мощности для проявления нелинейных эффектов. При расположении
участков с нелинейной проводимостью на удалении от антенны будет необходима
уже значительная мощность, подводимая к антенне для проявления нелинейных
эффектов. Если металлические элементы, на которых происходит нелинейное
преобразование сигналов, имеют резонанс в области получаемых продуктов
преобразования частот, то излучение гармоник от этих элементов будет особенно
велико.
При обнаружении элементов, на которых возникают нелинейные эффекты, необходимо
принять меры по устранению этих нелинейных эффектов. Пути ликвидации нелинейных
эффектов зависят от причин их возникновения.
При нелинейных эффектах, возникающих на контактах “металл – металл”,
их ликвидация заключается в устранении непосредственного контакта металлов.
Контакт “металл- металл” может быть в месте скрутки металлических оттяжек,
или при касании оттяжками другого металла. Для устранения этого явления
соединение оттяжек делают только через изоляторы. При касании металлическими
оттяжками другого металла используют изолирующие прокладки между этими
металлами. Контакт “металл- металл” может быть обнаружен визуально при
осмотре антенной системы. Некоторые антенные металлические мачты имеют
конструктивные прижимные контакты металлов между собой. Устранение этих
прижимных контактов повлечет за собой переделку всей мачты. Такое впечатление,
что эти мачты были построены с целью создания как можно большего уровня
помех при работе на передачу антенн, расположенных на этих мачтах!
Другой вид нелинейных эффектов, который создают окислившиеся поверхности
одного металла, более сложен в поиске и устранении. Например, окислившаяся
поверхность медной или латунной оттяжки может создавать сильные помехи.
Помехи может создавать незаметный участок окисла расположенный под слоем
краски на мачте антенны.
Устранить нелинейные эффекты поможет покрытия мест, создающих эти
эффекты краской с большим содержанием графита или угля или их можно
просто натереть графитом.
Что дает покрытие металлических частей антенны с окислившимися участками
графитовой краской? Во-первых, это существенно уменьшит добротность
излучающей системы. Во-вторых слой графита, расположенный поверх
нелинейного окисла обеспечит дополнительное поглощение высокочастотной
энергии как излученных гармоник, так и сигнала радиолюбительского передатчика,
который вызывает появление нелинейных эффектов. В третьих, слой
графита создаст эффект выравнивания высокочастотного потенциала на поверхности
окисленного металла, что также снизит эффективность работы пленки окисла.
Стоит заметить, что покраска скрутки металлических оттяжек графитовой
краской часто ведет к полному устранению нелинейных эффектов возникающих
на этих местах.
Поиск участков содержащих нелинейные элементы
Основная трудность при устранении нелинейных эффектов часто заключается
только в том, чтобы найти эти создающие помехи элементы или контакты.
Наиболее просто это можно сделать с помощью переносного телевизора, который
служит в качестве индикатора телевизионных помех. Для этого устанавливают
на выходе передатчика наименьшую мощность, при которой только начинают
проявляться нелинейные эффекты. Затем, перемещая телевизор вокруг антенной
системы, пытаются найти места, где уровень телевизионных помех максимален,
как это показано на рис. 7.
Рис. 7 Поиск нелинейных участков
Обычно в этом случае картина помех оказывается очень “размазанной” и
судить о месте, где они образуются можно только косвенно. Дело в том,
что комбинационные частоты образуются на небольших нелинейных участках,
где возникли условия для их появления, а излучаются они через большие
по размерам проводящие части (оттяжки, металлическое ограждение крыши,
сама антенна, и т.п.). После обнаружения подозрительных на проявление
нелинейных эффектов мест можно осуществить их дополнительную проверку.
Локализацию обнаруженного источника помех осуществляют путем местного
облучения подозрительного участка высокочастотной энергией от передатчика.
Для этого к передатчику, на выходе которого установлена мощность 40–100
Вт, через коаксиальный кабель подключают согласованную нагрузку. В качестве
этой нагрузки используют или безиндукционные резисторы или лампу накаливания
соответствующим активным сопротивлением и соответствующей рассеиваемой
мощностью. Коаксиальный кабель, нагруженный на согласованную нагрузку,
имеет небольшое поле излучения, локализованное в основном около нагрузки.
Это позволяет с помощью получившегося зонда легко выявить место, на котором
возникает нелинейный эффект.
“Освещая” подозрительное место или буквально светом лампочки нагрузки
или, в случае использования резисторов, располагая их около предполагаемого
места образования нелинейного эффекта, как показано на рис. 8, локализуют
подозрительное место на образование нелинейных эффектов. Во время поиска
нелинейных мест особое внимание следует обратить на любые контакты металлов,
на окисленные металлические поверхности.
Рис. 8 Локализация обнаруженного источника помех
При таком методе поиска поиске нелинейных участков, телевизор должен
находиться вблизи того места, где предполагается возникновение нелинейного
эффекта, поскольку мощность помехи, образованной на нелинейных участках,
невелика.
Если радиолюбитель имеет возможность воспользоваться панорамным анализатором
спектра, то он сможет не только обнаружить излученные от нелинейных
участков помехи, но и определить их параметры. Можно определить частоту
образованной помехи, следовательно, можно будет предположить, что за аппаратура
будет поражена ими. Панорамный анализатор спектра позволяет наглядно видеть
эффект от покраски мест, где возникают нелинейные явления, графитовой
краской или эффект от разделения контактирующих между собой металлов.
Источник происхождения нелинейных эффектов может быть самым неожиданным.
В одном из моих случаев, источником помех телевидению служила бухта биметаллического
провода с медным покрытием, забытая на крыше связистами. После того, как
она была перенесена на другой конец крыши, помехи прекратились.
Литература:
1. Григоров И. Н.: ”Высокочастотные наводки в радиолюбительской практике” .- Радиоаматор, – № 4, 5, 6, 2001г.
Мы используем сервисы метрических программ интернет-статистики, необходимые для сбора информации
о действиях Пользователей на сайте, улучшения качества сайта и его содержания.
Оставаясь на сайте, вы соглашаетесь с политикой конфиденциальности