LAB599.RU — интернет-магазин средств связи
EN FR DE CN JP
QRZ.RU > Каталог схем и документации > Схемы наших читателей > Антенны > Пятидиапазонная вертикальная антенна

Пятидиапазонная вертикальная антенна

Пятидиапазонная вертикальная антенна

Олег Сафиуллин (UA4PA).
Email ua4pa (at) mail.ru

Велико желание коротковолновика иметь набор антенн для каждого диапазона волн, но не всегда это осуществимо из-за отсутствия места и условий для размещения этих антенн. Приходится идти на компромисс и ставить многодиапазонные.

Автором были опробованы различные типы как горизонтальных, так и вертикальных многодиапазонных антенн. Наиболее приемлемыми оказались вертикальные антенны. Длительное время эксплуатировалась пятидиапазонная вертикальная антенна, предложенная Ю. Мединцом (UB5UG). Схема антенны приведена на рис. 1.

Рис.1

Эта антенна достаточно хорошо описана в литературе [1, 2]. Резонансная длина антенны вместе с питающей линией должна быть равна 42,5 м, поэтому длина излучающей части l1 определяется выражением (все размеры в метрах) l1=42,5-e(l2+l3), где e - диэлектрическая постоянная диэлектрика (для большинства отечественных кабелей со сплошной изоляцией из стабилизированного полиэтилена e=1,51).

Ю. Мединец рекомендует длину излучающей части и противовесов брать равной 8,6 м. Излучатель может быть выполнен из трубки диаметром 15-20 мм и при необходимости укреплен одним-двумя ярусами оттяжек. Количество противовесов должно быть не менее четырех, выполняют их из канатика или медного провода диаметром до двух-трех миллиметров. Без заметного ухудшения работы антенны в качестве противовеса может быть использована металлическая крыша, имеющая достаточные геометрические размеры. Настраивается антенна изменением длины отрезка l3 (по рекомендации UB5UG l3=2,9 м) по минимуму КСВ в кабеле, идущем от передатчика, в диапазоне, на котором предполагается наиболее активная работа. Так, при настройке антенны на 20-метровом диапазоне с КСВ не более 1,3, на диапазонах 10,14 и 40 м КСВ может дойти до 2, на 80-метровом диапазоне - до 3-4.

Испытания антенны показали, что она достаточно хорошо работает на диапазонах 10,14 и 20 м, удовлетворительно на 40 м (сказывается уменьшение длины излучателя) и мало эффективна в диапазоне 80 м (мала длина излучателя и велик КСВ).

Чехословацкий коротковолновик М. Шашек (OK1AMS) также использует эту антенну [3]. Для тех случаев, когда отрезок l3 может быть размещен вблизи передатчика, он отмечает возможность настройки антенны на каждом диапазоне подключением конденсатора (См. на рис. 1). Емкость конденсатора не превышает 450 пф на 80-метровом диапазоне и еще меньше на остальных диапазонах. Следует учесть, что в точке подключения конденсатора находится пучность напряжения, поэтому зазор между пластинами переменного конденсатора должен быть не менее 1-2мм (в зависимости от мощности передатчика). При этом способе настройки КСВ на каждом диапазоне может быть не более 1,5.

При работе в соревнованиях, выполнении условий различных дипломов успешная работа на 40 и 80-метровых диапазонах не менее важна, чем на более высокочастотных. В связи с этим антенна была несколько модифицирована (см. рис. 2). Длина излучателя l1 увеличена до 11,2 м, при этом длина питающей линии определяется выражением

что для кабеля с е=1,51 составляет 20,6 м.

Антенна установлена на крыше небольшого двухэтажного дома, выполнена из труб диаметром 45 мм, и укреплена двумя ярусами оттяжек. Длина противовесов из канатика диаметром 1,4 мм равна длине излучателя.

 

Рис.2

В связи с небольшим расстоянием от антенны до передатчика применения дополнительно фидерной линии не потребовалось. Подключение питающей линии непосредственно к П-контуру передатчика дало неплохие результаты, но настройка антенны была затруднена из-за того, что при таком питании антенны необходимо обеспечить в точке питания пучность напряжения, что затрудняет согласование. Кроме того, так как антенна является гармониковой, при этом способе питания интенсивность излучения гармоник высшего порядка повышается.

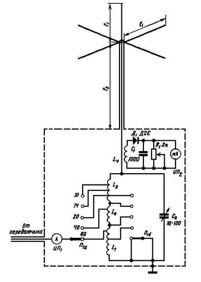
Для исключения указанных нежелательных явлений был изготовлен антенный блок, представляющий собой колебательный контур, заключенный в экран и расположенный около передатчика. Выход передатчика через 75-омный кабель переключателем П1а подключен к части контура с входным сопротивлением 75 ом, что обеспечивает работу фидера в режиме бегущей волны с КСВ на каждом из 5 диапазонов, близким к 1. Катушка индуктивности контура, состоящая из трех последовательно включенных секций L1, L2, L3 переключается переключателя П1б.

Первым этапом настройки антенны является настройка антенного контура при отключенном от передатчичика фидере. При помощи ГИР или ГСС с ламповым вольтметром подбирают индуктивности катушек для каждого диапазона при среднем положении С2. Грубая настройка постройка производится подбором витков, точная - изменением величины емкости конденсатора С2. Второй этап настройки - подбор точек подключения фидера от передатчика для каждого диапазона при помощи КСВ-метра любой конструкции.

Окончательная настройка антенны производится по максимуму показаний прибора ИП2, слабо связанного с "горячим" концом контура. В качестве ИП1 использован высокочастотный амперметр с термопарой и пределом измерения 3 а. В качестве ИП2 использован малогабаритный магнитоэлектрический прибор на 5 ма. Катушка L4 -содержит 3 витка любого провода.

Антенна показала хорошие результаты при работе на 40, 20, 14 и 10-метровых диапазонах. Особенно удобна она при работе с DX, так как несмотря на наличие дополнительного лепестка на диапазонах 14 и 10 м, основная мощность излучается под малыми углами к горизонту [4]. На 80-метровом диапазоне антенна работает вполне удовлетворительно.

Применение антенного блока значительно снизило уровень излучаемых гармоник. Тщательная настройка и экранировка полностью устраняют помехи телевидению. Неоспоримым преимуществом является в то, что настройка антенны осуществляется на рабочем месте. Антенна заземлена но постоянному току и грозобезопасна.

Олег Сафиуллин (UA4PA).
Радио 9-60

16.03.2005. Уточнения от автора.

  1. Формула расчёта l2=[A-l1]:K,где А=21.2;42.5;62.9;83.2;124.8 и 166.3-зависит от расстояния до излучателя.К-коэффициент укорочения применяемого кабеля, м.б. двухпроводная открытая линия для нее К=1.

  2. Вместо ИП1 установлен измеритель КСВ и проходящей мощности

  3. ИП2 исключён, неонка осталась

  4. Фидер антенны отключён от "горячего конца" и подключён к вновь введённой третьей секции переключателя, что позволило осуществить согласование с КСВ около 1 от 160 до 10метров.

  5. Индуктивности:L1-катушка от вариометра РСБ-5,L2-длина намотки 80мм D=80мм,N=4 при d=3-5мм

  6. Настройка. При помощи ГИР при отключённом фидере и TX подбирается при среднем положении ёмкости\лучше 200-300пф\резонансная частота для середины каждого диапазона. Затем вчерне подключаются TX и фидер примерно к 1/3 контура и вновь проверяется резонансная частота all bands.

  7. Подключаются:1 ксв-метр на выходе TX, 2-на вход антенного блока и путём перем е щения отводов \я использую маленькие "крокодильчики\ подбирается минимальный КСВ на каждом диапазоне, разумеется помогает подстройка переменной ёмкостью контура.

  8. Производится окончательный монтаж с возможно дополнительной подстройкой для устранения возможного взаим о влияния.

  9. Применённое СУ имеет самый широкий диапазон для согласования с различными входными сопротивлениями антенн и может применяться для согласования всех видов антенн. Ну, а кому лень, может подключить антенну к П-выходу с потерей преимуществ указанных в начале статьи.

  10. Кроме основных противовесов помогают дополнительные противовесы по 1/4 длины волны на 80,30,20,17,15,12 и 10м /по одному/

Желаю успхов! 73.
Олег Сафиуллин (UA4PA).

Литература:

  1. "Радио", 1960, N 9, стр. 44.
  2. Шейко В. П. "Антенны любительских радиостанций", изд. ДОСААФ, 1962 г.
  3. "Amaterske Radio", 1967, N 2, стр. 56.
  4. X. Meйнке и Ф. Гувдлах, "Радиотехнический cправоч-ник" (перевод с немецкого), том 1, Госэнергоиздат, 1960 г.

Партнеры