LAB599.RU — интернет-магазин средств связи
EN FR DE CN JP
QRZ.RU > Каталог схем и документации > Схемы наших читателей > Антенны > Многодиапазонные вертикальные антенны

Многодиапазонные вертикальные антенны

Многодиапазонные вертикальные антенны

Григоров Игорь Николаевич, а/я 68, 308015, Белгород РОССИЯ
rk3zk (at) antennex.com

 



Дефицит свободного пространства в городе для размещения антенны и увеличение числа радиолюбительских диапазонов приводит к увеличению популярности многодиапазонных вертикальных антенн.

Многодиапазонные вертикальные антенны не занимают много места для своей установки. При помощи этих антенн возможна организация радиолюбительской связи в городских условиях.

Ниже рассмотрены способы построения и реальные конструкции многодиапазонных вертикальных штыревых антенн диапазона коротких волн. Все антенны просты в наладке, и обеспечивают высокие параметры при работе в эфире.

Трехдиапазонная вертикальная антенна

При недостатке места на крыше дома для установки отдельной вертикальной антенны на каждый верхний любительский КВ диапазон можно использовать комбинированную трехдиапазонную антенну. Схема такой антенны показана на рис. 1.

Рис.1. Комбинированная трехдиапазонная антенна

Три четвертьволновых вибратора подключаются параллельно к центральной жиле коаксиального кабеля. К оплетке коаксиального кабеля подключаются не менее двух четвертьволновых противовесов для каждого диапазона работы антенны. В табл. 1 приведено сочетание диапазонов, на которых параллельно включенные вибраторы антенны оказывают минимальное влияние друг на друга. Использование более трех вибраторов для выполнения многодиапазонной вертикальной антенны не целесообразно. Емкостная составляющая импеданса многодиапазонной вертикальной антенны будет сравнима с активной частью ее входного сопротивления на верхних диапазонах работы антенны, в результате чего эффективность работы антенны на них значительно падает.

Таблица 1. Сочетание диапазонов работы комбинированной трехдиапазонной антенны

10м
15м
10м
15м
20м
12м
17м
30м
15м
20м
40м
15м
17м
20м
20м
30м
40м
30м
40м
80м
40м
80м
160м

Конструкция этой многодиапазонной антенны зависит только от реальных возможностей радиолюбителя. Вибраторы антенны могут быть жестко прикручены к металлическому уголку, как это показано на рис. 2. Если упругость вибраторов не позволяет достигнуть жесткости конструкции антенны, расстояние между вибраторами антенны относительно друг друга может быть зафиксировано при помощи пластиковых изоляторов, как это показано на рис. 3. Наоборот, достаточно жесткие вибраторы антенны могут располагаться веером, как это показано на рис. 4. Штыри для работы на высокочастотных диапазонах могут быть выполнены из медных или дюралевых трубок, могут быть растянуты из толстого медного провода. На конце коаксиального кабеля питания желательна установка высокочастотного дросселя.

Рис. 2. Расположение вибраторов антенны на металлическом уголке

Рис. 3. Фиксация вибраторов антенны

Рис. 4. Веерное расположение вибраторов антенны

Количество резонансных противовесов, используемых с многодиапазонной вертикальной антенной, должно быть не менее двух для каждого диапазона работы антенны. В случае размещения антенны на небольшой высоте над металлической крышей и хорошего контакта оплетки коаксиального кабеля с этой крышей, многодиапазонная вертикальная антенна может быть использована без противовесов.

Трехдиапазонная антенна для низкочастотных диапазонов

На низкочастотные КВ - диапазоны вибраторы антенны целесообразно выполнить из медного провода диаметром 1-2 мм. На низкочастотных диапазонах влияние окружающих антенну предметов на нее будет высоким. Следовательно, скорей всего потребуется подстройка длины каждого вибратора на каждом диапазоне работы антенны. При выполнении антенны необходимо предусмотреть конструктивную возможность для такой подстройки. Для этого вибраторы антенны целесообразно выполнить чуть больше чем четверть длины волны. Настройку вибраторов многодиапазонной вертикальной антенны в резонанс на каждый диапазон работы в этом случае целесообразно производить с помощью укорачивающих конденсаторов, как это показано на рис. 5.

Рис. 5. Настройка вибраторов антенны в резонанс при помощи укорачивающих конденсаторов

Конечно, настраивать антенну в резонанс при помощи укорачивающих конденсаторов можно не только на нижних коротковолновых диапазонах но и на верхних. Емкость укорачивающего конденсатора может быть до 100 пФ при работе вибраторов антенны в диапазонах 6-17 м, до 150 пФ при работе вибраторов антенны в диапазонах 20-30 м, 200 пФ при работе вибраторов антенны в диапазонах 40-80 м, и до 250 пФ при работе антенны на 160 м.

Следует обратить серьезное внимание на то, что на конце коаксиального кабеля питания вышеописанных антенн должен быть установлен высокочастотный дроссель. Этот дроссель препятствует затеканию высокочастотных токов на внешнюю оболочку коаксиального кабеля, которая в этом случае будет служить излучающей частью антенны. Это приведет к увеличению уровня помех при работе антенны на передачу. Наиболее простая конструкция такого высокочастотного дросселя - это 10 - 30 ферритовых колец, туго одетых на конце коаксиального кабеля.

Можно использовать ферритовые трубки, которые одеваются на шнуры мониторов компьютеров. Такие ферритовые трубки также вполне успешно можно использовать для создания высокочастотных дросселей на конце коаксиального кабеля антенны.

Вертикальный штырь в работе многодиапазонной антенны

Среди радиолюбителей распространено использовать один вертикальный вибратор для работы на нескольких любительских диапазонах. Однако простым подбором физической длины вибратора антенны невозможно подогнать его входное сопротивление к волновому сопротивлению коаксиального кабеля на нескольких любительских диапазонах. Следовательно, невозможно использовать коаксиальный кабель для прямого питания такой антенны. В этом случае для питания вертикальной антенны вполне возможно использовать двухпроводную открытую линию. Двухпроводная линия допускает работу с большим значением КСВ. В такой конструкции антенной системы двухпроводная линия на одном конце подключается непосредственно к штырю антенны, а другой конец двухпроводной линии через согласующее устройство подключается к трансиверу. Схема многодиапазонной вертикальной антенны с питанием по двухпроводной линии показана на рис. 6.

Рис. 6. Схема многодиапазонной вертикальной антенны с питанием по двухпроводной линии

Антенна состоит из штыря, длиной LА и минимум четырех противовесов длиной LС. Для эффективной работы вертикальной антенны, штырь которой не настроен в резонанс с излучаемым ей сигналом, необходимо, чтобы электрическая длина штыря была не менее 1/8 длины волны. При такой длине активное входное сопротивление штыря составляет около пяти Ом. Эта та крайняя величина входного сопротивления антенны, которое еще поддается удовлетворительному согласованию при питании штыревой антенны при помощи двухпроводной линии. Следовательно, для того, чтобы антенна работала в любительских диапазонах 6 - 80 метров, достаточно, чтобы длина ее вертикальной части была равна не менее 5 метров. Как указывается во многих радиолюбительских источниках, для работы такой суррогатной вертикальной многодиапазонной антенны необязательно использовать резонансные противовесы, которые, безусловно, улучшают работу антенны, но в то же время значительно усложняют ее конструкцию. Вполне достаточно четырех противовесов длиной равной высоте штыря.

До сих пор среди радиолюбителей нет единого мнения, какой длины штырь необходимо использовать для создания многодиапазонной вертикальной антенны с питанием по двухпроводной открытой линии. Есть два противоположных мнения о длине штыря. Первое, что штырь должен иметь резонансы на верхних любительских диапазонах, на которых используется антенна, и другое, что не обязательно, чтобы штырь имел резонансы на диапазонах работы антенны.

Теоретически, для работы этой антенны нет разницы, используется ли штырь резонансной длины, либо резонанс штыря лежит вне любительского диапазона и, следовательно, будет требоваться компенсация реактивной части импеданса антенны посредством согласующего устройства. На практике, однако, может даже оказаться, что эффективнее будет работать многодиапазонная нерезонансная штыревая антенна, питаемая по двухпроводной линии. Часто, используя двухпроводную линию, более просто осуществить согласование нерезонансного штыря, чем в случае использования штыревой антенны имеющей резонансы на нескольких любительских диапазонах.

Антенна резонансной длины обязательно будет иметь на каком-либо любительском диапазоне входное сопротивление равное несколько тысяч ом, т.е. будет узел напряжения на ее входе. Это может усложнить согласование штыря с линией передачи и далее с согласующим устройством на резонансном диапазоне. Поскольку все же число сторонников резонансных и нерезонансных штыревых многодиапазонных антенн почти одинаково, разберем оба эти варианта выполнения антенны.

Классической нерезонансной конструкцией многодиапазонного вертикального штыря, используемого радиолюбителями мира необходимо признать антенну WB6AAM, рассмотренную в литературе [1]. Штырь антенны и ее противовесы имеют длину равную 6,1 метра. В табл. 2 приведены значения коэффициента усиления антенны WB6AAM относительно четвертьволнового несимметричного вибратора работающего на сравниваемом диапазоне. Как видно из этой таблицы, параметры этой антенны весьма хороши на диапазонах 6 - 20 метров, удовлетворительны при работе в диапазонах 30-40 метров, и антенна может быть использована для вспомогательной работы на диапазоне 80 метров. В литературе [2] радиолюбителем DL2JWN приведено описание нерезонансной антенны с длиной вертикальной части и противовесов равной по 6,7 метра. Очевидно, что параметры антенны DL2JWN незначительно отличаются от параметров антенны WB6AAM. Практически, для работы антенны нет разницы, какая длина штыря используется для построения многодиапазонной вертикальной антенны, или 6,1 или 6,7 метра. Длина штыря зависит только от удобства использования тех или иных материалов для выполнения многодиапазонной антенны.

Таблица 2. Значения коэффициента усиления антенны WB6AAM

Диапазон,
м
Электрическая
длина антенны, L
Усиление по отношению
к вертикалу длиной L/4, дБ
6
0,9
5
10
0,58
3
12
0,51
2
15
0,43
1,5
17
0,36
1
20
0,28
0.5
30
0,2
-0.5
40
0,15
-3
80
0,08
-6
160
0,037
-14

Давайте рассмотрим многодиапазонные вертикальные антенны с питанием по двухпроводной линии и имеющих штырь, резонансной длины для некоторых ее диапазонов работы. Антенна, с высотой вертикальной части и длиной противовесов по 508 см описана радиолюбителем с позывным W4VON в литературе [3]. Эта антенна работает в резонансном режиме на диапазонах 10 и 20 метров. Высота антенны W4VON меньше, чем высота антенны WB6AAM. Следовательно, антенна W4VON работает немного менее эффективно, чем антенна WB6AAM. Антенна W4VON питается при помощи двухпроводной линии, указывается на возможность ее работы в любительских диапазонах 10 – 80 метров.

Вертикальная многодиапазонная антенна с длиной вертикальной части 10 метров и тремя противовесами такой же длины описана радиолюбителем с позывным W1AB в литературе [4]. Антенна имеет резонансы на любительских диапазонах 10, 20 и 40метров. Эта антенна, вследствие относительно большой длины вертикальной части может обеспечить работу не только на диапазонах 10 - 80 м, как указано в ее описании, но и на диапазоне 160 метров. Усиление ее будет примерно в полтора раза выше по сравнению с вертикальной антенной WB6AAM (см. табл. 2). Конечно, при наличии достаточного места для размещения антенны, при наличии материалов, опыта установки высоких вертикальных антенн, лучше использовать многодиапазонную антенну с длиной вертикальной части составляющей 10 и более метров.

Двухпроводная линия передачи для питания многодиапазонных вертикальных антенн может быть использована с любым волновым сопротивлением. Это может быть самодельная двухпроводная линия имеющая случайное волновое сопротивление, можно использовать стандартный ленточный кабель, например типа КАТВ.

При мощности, подводимой к антенне не более 100 ватт, можно использовать в качестве двухпроводной линии передачи телефонный двухпроводный кабель типа ТРП, ТРВ, ПРПП, который среди радиолюбителей больше известен под названием «лапша». К сожалению, этот кабель при его эксплуатации под действием атмосферных условий обычно через несколько лет выходит из строя. Это происходит вследствие разрушения пластиковой наружной изоляции, и вследствие этого, окисления жил линии передачи. Линия передачи с окисленными жилами совершенно непригодна для использования в качестве линии передачи высокочастотной энергии.

Антенны с питанием по открытой линии передачи используются радиолюбителями все еще редко. Это, на мой взгляд, можно объяснить только отсутствием в продаже недорогих открытых линий передачи, которые могут работать достаточно долгое время под воздействием атмосферных условий. Использовать самодельные открытые линии передачи не всегда удобно. Доступный радиолюбителям телефонный кабель ТРП, ТРВ, ПРПП «живет» на открытом воздухе только 2 - 3 года. Это ограничивает его использование для построения антенн.

Однако в последнее время в широкой продаже и по приемлемым ценам начинают появляться двухпроводные импортные линии передачи (типа нашего КАТВ) различных волновых сопротивлений. Можно надеяться, что интерес к многодиапазонным вертикальным антеннам с питанием по двухпроводной линии среди радиолюбителей возрастет снова.

Антенна UA1DZ

Именно из-за дефицита открытых линий передачи, радиолюбители предпринимают попытки питать многодиапазонную антенну через коаксиальный кабель с использованием различных согласующих устройств, расположенных непосредственно на штыре антенны. Одна из наиболее удачных конструкций многодиапазонной вертикальной антенны была осуществлена радиолюбителем UA1DZ. Наиболее раннее описание этой антенны, данное самим радиолюбителем UA1DZ, было приведено в литературе [5]. Конструкция многодиапазонной вертикальной антенны UA1DZ и ее согласующих устройств показана на рис. 7.

Рис. 7. Конструкция многодиапазонной вертикальной антенны UA1DZ

Высота штыря антенны UA1DZ составляет 9,3 м. Эта длина выбрана не случайно. Для конструкции штыря антенны радиолюбитель UA1DZ использовал старую военную штыревую антенну, длина которой была равна 9,3 метра. Противовесы антенны имеют длину, равную по 9,4 м. Они выполнены из провода диаметром 1,5 мм и расположены противоположно друг другу.

Первоначальное согласование входного сопротивления штыря антенны и системы противовесов с волновым сопротивлением коаксиального кабеля питания осуществляется с помощью открытой линии «А», длиной примерно один метр и волновым сопротивлением 450 Ом. Она служит для предварительной трансформации входного сопротивления антенной системы в волновое сопротивление питающего коаксиального кабеля. Далее с помощью согласующего отрезка коаксиального кабеля «Б» волновым сопротивлением 75 Ом, производят дальнейшую трансформацию входного сопротивления антенной системы в волновое сопротивление коаксиального кабеля питания 75 Ом. Отрезок коаксиального кабеля «В» производит компенсацию реактивной составляющей в линии питания антенны. Антенна может работать на диапазонах 7, 14, 21, МГц с КСВ менее 2.

Следует обратить внимание, что в разных описаниях антенны UA1DZ приводились несколько отличающиеся друг от друга длины согласующих линий А, Б, В. Современные программы моделирования антенн позволили найти оптимальные длины для этих согласующих линий. Они были рассчитаны радиолюбителем VA3TTT (ex UA9XCD, UZ3XWB ). В литературе [6] приведены оптимизированные длины для этих согласующих линий. Оптимизированные длины линий приведены на рис. 7 в скобках. Как видно, только для линии В оптимизированная длина и длина согласующей секции, указанная радиолюбителем UA1DZ в первом описании этой антенны, приведенной в литературе [5] немного не совпадают.

Точную настройку антенны UA1DZ можно осуществить при помощи мостового измерителя сопротивления. Он должен быть расположен на входе согласующих устройств антенны. Уменьшая длину отрезка «А» добиваются минимального КСВ на диапазонах 7 и 21 МГц. Укорочение длины линии А на 5 сантиметров вызывает смещение резонанса вверх на 200 кГц на 21 МГц, и на 60 кГц на 7 МГц. Вполне можно настроить антенну так, что бы минимальный КСВ находился внутри диапазонов 21 и 7 МГц. При настройке антенны для работы на этих диапазонах КСВ антенны на 14 МГц должен стать “на свое место”. В качестве открытой линии можно использовать или самодельную открытую линию с волновым сопротивлением 450 Ом, или двухпроводную линию промышленного изготовления.

По сообщению радиолюбителя VA3TTT, на диапазоне 7 МГц эта антенна имеет усиление 3,67 dB, на диапазоне 14 МГц усиление 4 dBi, на диапазоне 21 МГц усиление 7,6 dB. В литературе [5] указывается на возможность работы антенны UA1DZ на диапазоне 28 МГц, однако, исследования, проведенные VA3TTT, не позволили достигнуть низких значений КСВ на этом диапазоне при использовании указанных здесь согласующих устройств на входе антенны.

Согласно рекомендациям радиолюбителя UA1DZ согласующая линия А должна быть удалена от крыши не менее чем на 50 см, она должна быть расположена прямолинейно в пространстве. Согласующая секция Б тоже должна быть расположена прямолинейно в пространстве, она должна быть удалена от крыши на расстояние 30-40 см. Согласующая секция В может быть свернута в бухту и размещены в небольшой коробке. Свернутая в бухту часть В практически не излучает. Следовательно, служит только как согласующее устройство, а не как часть антенны. При расположении части коаксиального кабеля В развернутом состоянии, от нее возможно паразитное излучение.

На конце коаксиального кабеля, питающего антенну UA1DZ, должен быть установлен высокочастотный дроссель, аналогичный тому, который описан в этой главе в параграфе о трехдиапазонных антеннах.

Многодиапазонные вертикальные антенны с заградительными контурами

Среди радиолюбителей широко распространены антенны с заградительными контурами, установленными в ее полотне. Впервые эта антенна была запатентована в США H. K. Morgan, патент №2229856 от 1938 (согласно источника [7]). В радиолюбительской литературе описание многодиапазонных антенн с заградительными контурами впервые появилось в литературе [8]. Давайте рассмотрим принцип работы антенны с заградительными контурами. Схема такой антенны показана на рис. 8.

Рис. 8. Вертикальная антенна с заградительными контурами

В этой антенне секция «А» настраивается для работы в диапазоне 10 метров. Заградительный контур L1С1, настроенный на диапазон 10 метров, «отключает» верхнюю часть антенны при ее работе в этом диапазоне. При работе антенны в диапазоне 15 метров секция «Б» удлиняет секцию «А» до длины, резонансной в этом диапазоне. Контур L2С2, настроенный на диапазон 15 метров, отключает верхнюю часть антенны при ее работе в диапазоне 15 метров. Для работы на диапазоне 20 метров антенна настраивается в резонанс изменением длины секции «В». Аналогично антенну можно настроить и на остальные радиолюбительские КВ диапазоны. На практике радиолюбители обычно не используют вертикальные антенны с заградительными контурами в полотне антенны числом более одного. Это связано с тем, что секции антенны должны быть электрически изолированы друг от друга, а на практике выполнить достаточно прочное для существования антенны изолирующее соединение затруднительно.

В 1955 году в литературе [9] появилась статья радиолюбителя W3DZZ об многодиапазонной антенне в которой использовался только один заградительный контур. Благодаря соответствующему распределению высокочастотного тока, который обеспечивал этот контур, эта антенна могла работать на нескольких диапазонах. Ниже мы разберем работу нескольких популярных многодиапазонных антенн, которые используют только один контур.

Одной из наиболее популярных вертикальных антенн с заградительными контурами, используемой на 10 и 15 метров, является антенна, описанная радиолюбителем WA1LNQ в литературе [10]. Схема этой антенны показана на рис. 9. Она выполнена из двух изолированных друг от друга трубок длиной 240,7 и 62,9 см. Длина изолирующей вставки 5,8 см. Вокруг этой вставки намотана катушка заградительного контура. Катушка выполнена из медной трубки диаметром 3 – 5 мм и содержит 2 витка провода с шагом 1 виток на 25 мм намотки. Средний диаметр катушки составляет 55 мм. В качестве конденсатора используется отрезок коаксиального кабеля волновым сопротивлением 50 Ом с начальной длиной 80 см, который в процессе настройки постепенно укорачивается по достижению минимального КСВ в диапазоне 10 метров. После этой настройки возможна небольшая подстройка длины верхней секции антенны по минимальному значению КСВ на диапазоне 15 метров. Для выполнения антенны могут быть использованы медные или алюминиевые трубки диаметром 18-25 мм.

Рис. 9. Антенна WA1LNQ

Другой популярной многодиапазонной вертикальной антенной с заградительными контурами является четырехдиапазонная вертикальная антенна K2GU, описание которой было приведено в литературе [11]. Антенна работоспособна в любительских диапазонах 10, 15, 20, 40 метров. Схема антенны показана на рис. 10. Для питания антенны используется 50-омный коаксиальный кабель. КСВ, реально достижимые с ним – 1,3:1 на 7,05 МГц; 1,1:1 на 14,1 МГц; 2,5:1 на 21,2 МГц; 1,1:1 на 28,5 МГц.

Рис. 10. Четырехдиапазонная вертикальная антенна с одним заградительным контуром

Рассмотрим работу антенны. На диапазоне 20м заградительный контур LC отключает верхнюю секцию антенны «А». Оставшаяся секция «Б» эффективно работает как четвертьволновый вибратор. На диапазоне 40м геометрическая длина антенны меньше четверти волны, но контур LC на этом диапазоне имеет индуктивный характер сопротивления, который компенсирует емкостную составляющую короткого штыря. Контур здесь работает как удлиняющая индуктивность которая увеличивает электрическую длину антенны до резонансной четвертьволновой в диапазоне 40 метров.

На диапазоне 10 метров контур LC имеет емкостной характер сопротивления, который приводит общую электрическую длину антенны к величине 3/4 длины волны. На диапазоне 15 метров антенна имеет КСВ больший 2,5:1, но в то же время при использовании совместно с трансивером внешнего согласующего устройства может на нем эффективно работать.

Рассмотрим конструкцию заградительного контура. Катушка, используемая в нем, бескаркасная, содержит 10 витков, диаметр ее провода равен 2 мм, диаметр намотки катушки 6 см, шаг намотки – 4 мм. Заградительный контур LC должен быть настроен в резонанс на частоту 14,1 МГц. Его предварительно настраивают с помощью ГИР. Во время настройки параллельно контурному конденсатору подключают добавочный конденсатор емкостью 2 – 3 пФ. Этот конденсатор имитирует емкость между изолирующей вставкой верхнего и нижнего конца антенны. Контурный конденсатор необходимо защищать от воздействия на него атмосферных воздействий. Настройку этой антенны производят изменением длины секций «А» и «Б» по наименьшему КСВ антенны на ее диапазонах работы.

На подобном принципе укорочения-удлинения полотна антенны до резонансного с помощью заградительного контура можно построить антенны, работающие и на других любительских диапазонах. В отечественной литературе [12] была описана вертикальная антенна с одним заграждающим контуром, работающая в диапазонах 10, 15, 20, 40, 80 метров. Схема этой антенны показана на рис. 11.

Рис. 11. Пятидиапазонная вертикальная антенна с одним заградительным контуром

Заградительный контур антенны составлен из катушки индуктивностью 8,3 мкГн и конденсатора емкостью 60 пФ. Это обычный контур, используемый в антенне W3DZZ, и его конструктивные данные неоднократно приводились в радиолюбительской литературе, например в [13]. Приведем здесь данные для его выполнения. Диаметр катушки равен 50 мм, число витков 19, длина намотки 80 мм, использован провод диаметром 1,5 мм.

Рассмотрим работу этой антенны. При работе на диапазоне 40 метров заградительный контур отключает верхнюю часть антенны «А», и электрическая длина антенны равна ?/4. На диапазоне 80 метров катушка заградительного контура имеет индуктивное сопротивление и удлиняет короткую антенну до электрической длины 1/4 длины волны в этом диапазоне. На диапазоне 20 метров заградительный контур имеет емкостный характер сопротивления, и электрическая длина антенны укорачивается до 3/4 длины волны. При работе на диапазонах 10 и 15 метров за счет емкостной составляющей заградительного контура антенна укорачивается соответственно до электрической длины 7/4 и 5/4 длины волны.

Для эффективной работы этой антенны необходима система из резонансных противовесов количеством не менее 4 противовесов для каждого диапазона работы антенны. Антенну можно питать через коаксиальный кабель волновым сопротивлением 50 или 75 Ом электрической длиной кратной половине длины волны в диапазоне 80 метров. При коэффициенте укорочения кабеля 0,66, его физическая длина при этом будет равна 27,9 метров. В этом случае КСВ антенны на диапазонах работы антенны не превышает 2. Для изготовления вертикального вибратора можно использовать алюминиевые трубы диаметром 40 -50 мм. Большой диаметр труб обусловлен значительной высотой антенны, и, следовательно, необходима механическая прочность ее конструкции.

На конце коаксиального кабеля, питающего любую из описанных здесь многодиапазонных вертикальных антенн с заградительным контуром, должен быть установлен высокочастотный дроссель. Конструкция этого дросселя может быть аналогичный дросселю, который был описан в этой главе в параграфе о трехдиапазонных антеннах.

Open Sleeve

В конце этой главы хочу остановиться на очень интересной многодиапазонной антенне известной под названием “Open Sleeve”. Эта антенна была разработана в 1946 году при Stanford Research Institute, известным исследователем Dr. J. T. Bollijahn [14]. В первое время эта антенна не получила широкого распространения. Но в последнее десятилетие к этой антенне возрос интерес, как среди радиолюбителей, так и среди профессионалов. Это вызвано тем, что, в настоящее при помощи широко распространенных компьютерных программ расчета антенн, можно смоделировать конструктивно простую многодиапазонную антенну.

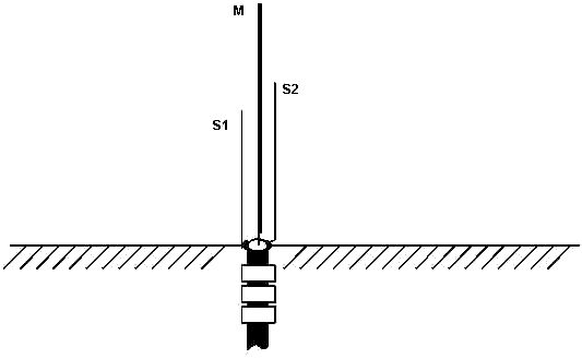
Давайте разберем принцип работы антенны Open Sleeve. Предположим, мы установили четвертьволновую вертикальную антенну на диапазон 20 метров, как показано на рис. 12а. Такая антенна длиной 5,1 метра при расположении над идеальной проводящей поверхностью имеет входное сопротивление 36 Ом. Эту антенну можно сравнительно просто согласовать с коаксиальным кабелем волновым сопротивлением 50 или 75 Ом. А теперь давайте расположим рядом с этой четвертьволновой вертикальной антенной диапазона 20 метров провод длиной 2,5 метра. Этот провод подключен к земле (или к оплетке коаксиального кабеля), и расположен на расстоянии примерно 10 сантиметров от штыря антенны (рис. 12б).

Рис. 12. Переход от четвертьволновой антенны к антенне Open Sleeve

Что изменилось в работе этой вертикальной антенны на диапазоне 20 метров? Добавочный проводник, подключенный к земле и расположенный рядом с вибратором антенны, немного понизил резонансную частоту вертикальной антенны. Для того, что бы для диапазона 20 метров частоту настройки вибратора антенны "вернуть на место", его необходимо немного укоротить.

А что изменилось в работе этой антенны на других диапазонах, например, на 10 метров? Входное сопротивление “чистой” вертикальной антенны высотой 5,1 метров и электрической длиной для диапазона 10 метров длиной 0,5 длины волны является чрезвычайно высоким. Но с добавочным проводником, расположенным рядом с вибратором антенны, эквивалентная схема антенной системы будет соответствовать приведенной на рис. 13.

Рис. 13. Эквивалентная схема антенны Open Sleeve

На диапазоне 10 метров можно рассматривать, что часть вибратора антенны “L”, длиной 2,5 метра, которая имеет входное сопротивление Z1 в точке “А”, через четвертьволновую линию, имеющую волновое сопротивлением Z2, подключена к питающему коаксиальному кабелю, который имеет волновое сопротивление Z3. Соответствующим выбором Z1, Z2, Z3 можно провести согласование вибратора антенны для ее работы на диапазоне 10 метров. Входное сопротивление Z1 зависит от длины части антенны “L”, входное сопротивление Z2 линии образованной вибратором антенны и добавочным проводником около нее зависит от физических размеров этой линии, Z3 это стандартное волновое сопротивление коаксиального кабеля. Оно может быть равно 50 или 75 Ом. Следовательно, только при помощи добавления одного добавочного проводника около антенны, можно синтезировать двухдиапазонную антенну! В этой антенне основной вибратор принято называть Master- вибратор, а вспомогательные вибраторы, которые заставляют работать антенну на ее верхних диапазонах, принято называть Slave – вибраторы.

Ранее, практическое воплощение таких антенн было затруднено. Для создания таких антенн было два пути. Первый из них – макетирование антенны. Для того, что бы сконструировать антенну с удовлетворительными параметрами, необходимо было проделать множество экспериментов. Второй путь – расчет параметров антенны на бумаге. Однако, математическая оптимизация одной двухдиапазонной антенны требовала проделать сотни вычислений! В 50-60 годах эти вычисления производились с помощью логарифмической линейки, затем с помощью ЭВМ на лампах и транзисторах. Только быстрое развитие компьютеров в 80 - 90-х годах 20 века устранило сложность многочисленных расчетов, необходимых для оптимизации этой антенны. Теперь современная недорогая компьютерная программа для расчета и моделирования антенн и даже ее демонстрационная бесплатная версия могут рассчитать антенну Open Sleeve.

Конечно, радиолюбитель может сразу задать вопрос. Только ли двухдиапазонные антенны Open Sleeve можно построить по приведенной выше методике? Конечно, нет! На таком принципе можно построить трех, четырех и даже пяти диапазонные антенны! рассмотрим для примера построение трехдиапазонной антенны, рассчитанной для работы в диапазонах 10, 15 и 20 метров. Конструкция такой антенны показана на рис. 14, эквивалентная схема антенны показана на рис. 15 .

Рис. 14. Трехдиапазонная антенна Open Sleeve

Рис. 15. Эквивалентная схема антенны

Работает антенна следующим образом. На диапазоне 20 метров в месте подключения коаксиального кабеля питания (точка “А”) входное сопротивление Z1, которое имеет вибратор антенны равно волновому сопротивлению этого коаксиального кабеля. Это равенство выполняется с учетом влияния на параметры вибратора антенны близко расположенных проводников S1 и S2. На диапазоне 10 метров входное сопротивление Z2, которую имеет часть вибратора антенны длиной L1 в точке “В” при помощи трансформатора Т1 приводится к волновому сопротивлению коаксиального кабеля. На диапазоне 15 метров входное сопротивление Z3, которую имеет часть вибратора антенны длиной L2 в точке в точке “С”, при помощи трансформатора Т2 приводится к волновому сопротивлению коаксиального кабеля.

Просчитать размеры трехдиапазонной антенны с помощью логарифмической линейки весьма затруднительно. Такой расчет может занять наверное не один месяц напряженной работы. Вот почему, широкое освоение антенн типа Open Sleeve, и особенно их трех-, четырехдиапазонных вариантов началось только в наше время. Время, когда программы расчета антенн стали широкодоступны, а скорость работы компьютеров увеличилась.

Для работы антенны Open Sleeve необходима хорошая радиотехническая земля. Оптимальный вариант - расположение антенны над металлической проводящей крышей. Если это условие выполнить невозможно, то необходимо применить 3 - 5 противовеса резонансных для нижнего диапазона работы антенны. Использовать резонансные противовесы для верхних диапазонов работы антенны нежелательно.

При точном выполнении антенны по рассчитанным размерам, ее резонансные частоты уже должны находиться в любительских диапазонах. Однако, из - за влияния окружающих предметов, из – за погрешностей при неточном выполнении антенны по размерам, антенна Open Sleeve обычно требует небольшой подстройки в реальных условиях ее установки. Давайте разберем процесс настройки антенны Open Sleeve. Настройка антенны заключается в получении значения ее входного сопротивления на клеммах подключения коаксиального кабеля питания равного волновому сопротивлению этого коаксиального кабеля. Измерять входное сопротивление этой антенной системы удобно при помощи высокочастотного моста.

Рассмотрим настройку двухдиапазонной антенны, показанной на рис. 16. Первоначально измеряют входное сопротивление антенной системы на ее нижней рабочей частоте. Если резонанс антенны не совпадает с расчетным, то изменением длины “L” вибратора “М” приводят его резонансную частоту в необходимый диапазон работы. На этом диапазоне входное сопротивление вибратора “М” может отличаться от 50 Ом. При помощи изменения угла наклона противовесов “F” относительно вибратора “М” добиваются, чтобы входное сопротивление системы находилось в пределах 50 Ом. На этом первый этап настройки антенны можно считать законченным. Перестраиваем генератор на верхний диапазон работы антенны и продолжаем настройку антенны.

Рис. 16. Настройка двухдиапазонной антенны Open Sleeve

Определяем резонансную частоту и входное сопротивление антенны на верхнем диапазоне. Допустим, верхняя резонансная частота антенны получилась ниже необходимой, а входное сопротивление выше волнового сопротивления коаксиального кабеля. Это наиболее благоприятный вариант при настройке антенны. Приближаем элемент S к вибратору М. При уменьшении расстояния W между вибратором М и элементом S уменьшается волновое сопротивление согласующего трансформатора, образованного элементом S и частью вибратора М. Вследствие этого уменьшается входное сопротивление антенны на стороне питания ее коаксиальным кабелем. При приближении элемента S к вибратору М, верхняя частота работы антенны увеличивается [14]. Если с помощью только одного приближения элемента S к вибратору М не удается установить верхний диапазон работы антенны в нужный участок, то тогда придется изменять длину элемента S.

Если входное сопротивление системы на резонансе уже составляет 50 Ом, а резонансная частота ниже требуемой, то можно попробовать укоротить элемент S. Очевидно, что в этом случае согласующий трансформатор антенны настроен ниже необходимой частоты. Уменьшение длины трансформатора (или длины элемента S) повысит частоту его работы. После уменьшения длины трансформатора (элемента S), при помощи приближения или удаления этого элемента относительно вибратора “М” снова добиваются входного сопротивления 50 Ом на верхней рабочей частоте антенны.

Если наоборот, окажется что при входном сопротивлении 50 Ом верхняя частота работы антенны Open Sleeve выше необходимой, увеличивают длину элемента “S”, или, что, то же самое, понижают частоту настройки согласующего трансформатора. Исходя из выше изложенного, понятна стратегия настройки антенны.

  1. Приближение элемента “S” к вибратору “М” понижает входное сопротивление антенны, и увеличивает ее резонансную частоту.
  2. Удаление элемента “S” от вибратора “М” увеличивает входное сопротивление антенны и понижает ее рабочую частоту.
  3. Увеличение длины элемента “S” (или, то же самое, увеличение рабочей длины волны четвертьволнового трансформатора) понижает частоту настройки антенны.
  4. Уменьшение длины элемента “S” (или, то же самое, уменьшение рабочей длины волны четвертьволнового трансформатора) повышает частоту настройки антенны.

После окончательной настройки антенны на верхней рабочей частоте полезно проверить параметры антенны на ее нижней рабочей частоте. Как видно из этого описания, настройка антенны Open Sleeve на один диапазон относительно несложна. Но настройка 3, 4 или 5-диапазонной антенны уже не такая простая задача. Элементы “S” оказывают влияние друг на друга и на вибратор “M”, и настроив антенну на одном из ее верхних диапазонов работы, резонансная частота антенны на других диапазонах тоже изменится. И все же, при настойчивости, вполне возможно произвести настройку антенны Open Sleeve для работы на 3 и даже на 5 диапазонах!

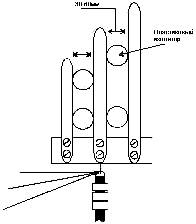
В табл. 3 приведены данные для выполнения антенны Open Sleeve для 2 и 3 любительских диапазонов. Эти антенны были рассчитаны радиолюбителем UA3AVR [15]. На рис. 17 приведены конструкции антенн, поясняющие Таблицу 3.

Таблица 3. Данные для выполнения антенны Open Sleeve

Диапазоны работы антенны, м
Длина М, мм
Длина S1, мм
Расстояние между элементами D1, мм
Длина элемента S2, мм
Расстояние между элементами D2, мм
Вариант выполнения антенны, рис.
20; 14; 10
5168
3407
220
2573
200
2.17а
14; 10
3630
2527
220
-
-
2.17б
20; 14; 10
5149
3451
220
2601
200
2.17в
14; 10
3432
2567
210
-
-
2.17г

Рис. 17. Семейство антенн Open Sleeve

Дальнейшее развитие антенн Open Sleeve может привести к созданию многодиапазонной вертикальной антенны, работающей во всех любительских коротковолновых диапазонах. Теоретически это вполне возможно.

ЛИТЕРАТУРА:

  1. James G. Coote WB6AAM A simple, multiband vertical antenna. QST, March, 1987, P. 46.
  2. Андреас Аурих DL2JWN. Всеволновая вертикальная антенна //Funkama teur, № 5, 1999. – С. 562, 563. Из раздела «Дайджест» Радиохобби. – №5. – 1999. – С. 21-22.
  3. Ground Plane с двухпроводным фидером //QST. – 1968. – №4, раздел «За рубежом». – Радио. – №9. – 1968. – С. 62.
  4. Ол Брогдон W1AB // QST. – 1999. – №6. – С. 56-57, из раздела «Дайджест». – Радиохобби. – №4. – 1999. – С. 24-25.
  5. RB5IM.: Ground plane UA1DZ. Бюллетень UCC. –№ 4, 1993, С.27.
  6. А. Барский . Антенна UA1DZ . www.krasnodar.online.ru/hamradio
  7. By Alois Krischke : Rothammels Antennenbuch // Franckh – Kosmos, Verlags – GmbH@Co., Stuttgart, 1995, 11 edition.
  8. Morgan h. K. : Multifrequency Tuned Antenna System. // Electronics, vol. 13, August 1940, pp. 42-50.
  9. Buchman C. L., W3DZZ : The multimatch Antenna System. // QST, March 1955, pp.22-23, 130.
  10. Jay Rusgrove, WA1LNQ: The Cheapie GP // QST, 1976, February, p31.
  11. The Radio Amateur’s Handbook, 1970, by ARRL publication.
  12. Чирков М. UL7GCC. Многодиапазонная, вертикальная… //Радио. – №12. – 1991. С. 21.
  13. Ротхаммель К. Антенны. – СПб: «Бояныч». – 1998 – 656 с.
  14. ARRL Antenna Book, 19th- Edition, Publication by ARRL
  15. Федоров Д (UA1AVR).: Многодиапазонные вертикалы Open Sleeve.- Радиомир. КВ и УКВ, 2001, №8 с.34-36.

Партнеры