Что-то не так?
Пожалуйста, отключите Adblock.
Портал QRZ.RU существует только за счет рекламы, поэтому мы были бы Вам благодарны если Вы внесете сайт в список исключений. Мы стараемся размещать только релевантную рекламу, которая будет интересна не только рекламодателям, но и нашим читателям. Отключив Adblock, вы поможете не только нам, но и себе. Спасибо.
Как добавить наш сайт в исключения AdBlockРеклама
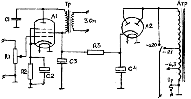
Одноламповый усилитель на 6П9
Одноламповый усилитель на 6П9
Данная конструкция может быть рекомендована начинающему радиолюбителю, интересующемуся ламповым звуком.
Усилитель содержит минимум деталей и практически не требует налаживания. Для сборки необходимы следующие детали:
* - подбирается при налаживании. Силовой автотрансформатор может быть выполнен на сердечнике сечением 5 – 6 см2. Накальная обмотка состоит из 44 витков ПЭВ-2 0,9, сетевая обмотка – 790 витков ПЭВ-2 0,25 (127 В), 700 витков ПЭВ-2 0,2. Выходной трансформатор собирается на пластинах Ш 20 х 20. Первичная обмотка содержит 4000 витков ПЭВ-2 0,12 – 0,15, вторичная – 80 витков ПЭВ-2 0,8. Для улучшения отдачи на низких частотах сечение сердечника следует увеличить в 1,5 – 2 раза. Обмотка секционированная, вторичная располагается между слоями первичной. Усилитель удобен тем, что способен работать непосредственно от пьезокерамического
звукоснимателя, т.е. не требует дополнительных наворотов.
|