Что-то не так?
Пожалуйста, отключите Adblock.
Портал QRZ.RU существует только за счет рекламы, поэтому мы были бы Вам благодарны если Вы внесете сайт в список исключений. Мы стараемся размещать только релевантную рекламу, которая будет интересна не только рекламодателям, но и нашим читателям. Отключив Adblock, вы поможете не только нам, но и себе. Спасибо.
Как добавить наш сайт в исключения AdBlockРеклама
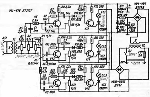
Схема цветомузыки (светомузыки) с частотным делением
Схема цветомузыки (светомузыки) с частотным делением
Обмен опытом: Необходимо заэкранировать трансформатор Т1 на входе audio. На плате есть обозначения, увеличте рисунок. Имеется ошибка в номиналах кондинсаторов С1-С4 вместо номиналов 1 мкф, необходимо поставить 0,1 мкф Мощность ламп цветомузыкальной приставки, ограничивается мощностью выходных каскадов усилительного устройства. Получить сравнительно большую мощность усилителя на транзисторах, довольно сложно. Вот почему на выходе усилительных каскадов цветомузыки на фонарях установлены тиристоры, способные управлять нагрузкой мощностью в несколько сотен ватт и более. Именно такой принцип реализован в данной цветомузыке. В цветомузыкальной приставке 3 канала цвета. Первый канал собран на транзисторах VT1 и VT2.Сигнал на вход канала поступает с движка переменного резистора R1 включенного во вторичную обмотку развязывающего трансформатора T1. Поскольку этот канал должен выделять низшие частоты, на входе его стоит фильтр R5,C1, ослабляющий средние и высшие частоты. За этим фильтром следует так называемый активный фильтр, собранный на транзисторе VT1. Он настроен на пропускание полосы частот примерно от 100 до 800 Гц. Это зависит от емкости конденсаторов C3 и C4 в цепи обратной связи между коллекторной и базовой цепям.Уровень обратной связи, а значит, и степень выделения заданных частот можно регулировать подстроечным резистором R9. С выхода фильтра сигнал подается через диод VD1 и резистор R10 на базу транзистора VT2. Транзистор открывается, и в цепи его эмиттера начинает протекать ток. В результате открывается и тиристор VS1, в анодную цепь которого включена лампа накаливания EL1, окрашенная в красный цвет. Сигнал на второй канал, собранный на транзисторах VT3, VT4,поступает с движка переменного резистора R2. На входе канала стоит разделительный конденсатор С5, пропускающий сигналы средних и высших частот. Далее следует активный фильтр на транзисторе VT3,настроенный только на средние частоты (от 500 до 2000 Гц), управляющий каскад на транзисторе VT4 и тринистор VS2, включающий лампу EL2 зеленого цвета. С движка переменного резистора R3 сигнал подается на третий канал, собранный на транзисторах VT5, VT6. Этот канал реагирует только на сигналы высших частот (от1500 до 5000 Гц) и с помощью тринистора VS3 управляет лампой EL3синего цвета. О деталях цветомузыкальной приставки. Вместо КТ315Г можно применить другие кремниевые транзисторы структуры n-p-n статистическим коэффициентом передачи тока не менее 50. постоянные резисторы – МЛТ-0,5 или МЛТ-0,25,переменные и подстроечные – СП-I,СПО-0,5 или подобные. Конденсаторы – любого типа, оксидные – на номинальное напряжение не ниже указанного на схеме.
Схема цветомузыки (светомузыки) на тиристорах
Трансформатор Т1 – с коэффициентом трансформации 1, поэтому можно использовать любой подходящий трансформатор с одинаковым или близким числом витков первичной и вторичной обмоток с сопротивлением постоянному току не менее 200 ом. Конструкция корпуса и фонарей цветомузыкальной приставки - на ваше усмотрение.
|
