Что-то не так?
Пожалуйста, отключите Adblock.
Портал QRZ.RU существует только за счет рекламы, поэтому мы были бы Вам благодарны если Вы внесете сайт в список исключений. Мы стараемся размещать только релевантную рекламу, которая будет интересна не только рекламодателям, но и нашим читателям. Отключив Adblock, вы поможете не только нам, но и себе. Спасибо.
Как добавить наш сайт в исключения AdBlockРеклама
Эффективный метод лечения коленно-суставного артрита - аппарат ВЧ - магнитотермии
Эффективный метод лечения коленно-суставного артрита - аппарат ВЧ - магнитотермии
Данный метод лечения возник, как акт отчаяния перед беспомощностью медицины, по крайней мере применительно к малоимущим слоям населения. Три года назад у моего отца - пенсионера, возраст 73 года на начало заболевания, начал прогрессирующими темпами развиваться коленно-суставный артрит. Болезнь довела до того, что отцу стало трудно даже с клюшкой дойти до поликлиники. Медики начали открещиваться от него, мол вот тебе, дедушка, таблетки и иди, дед, иди, ты уже старый, тебе всё равно ничего уже не поможет. Я в то время тоже стал испытывать проблемы со здоровьем и всерьёз занялся изучением народной медицины и физиотерапии. Я начал соображать, как помочь отцу физиотерапевтическими методами. Изучая артрит по Интернету, я понял, что данная болезнь есть отложения солей и прочих конгломератов между костями сустава. Следовательно, по дилетантски соображая, необходимо сии когломераты из сустава удалить. Для удаления им нужно вначале придать повышенную подвижность, что можно достичь нагреванием сустава, но сами они сустав покидать не будут, посему их надо вытрясти из сустава, создав мелкую вибрацию сустава на резонансных частотах костей, составляющих сустав, и самих конгломератов, как таковых. Для этого частоту вибрации необходимо сделать переменной. Возник вопрос: чем создать нагрев и вибрацию? Сустав представляет собой сложную объёмную конструкцию, посему желателен не внешний нагрев, а нагрев во всём объёме сустава. Нагреть сустав во всём объёме можно с помощью аппарата УВЧ, например "УВЧ-80" или "УВЧ-4". Но где же их взять? Сейчас купить можно всё, но нужны деньги, а изготовить такую аппаратуру самому практически невозможно из-за большой сложности конструкции устройств позиционирования облучающих электродов. Решение проблемы подсказал журнал "Радиолюбитель" (Минск, Беларусь).В [1] опубликован аппарат ВЧ - магнитотермии, который заменяет аппарат УВЧ, но, вместо электродов со сложной конструкцией позиционирования, нагрев производится замкнутой петлёй из обычного экранированного кабеля "РК-50" или "РК-75". Прибор представляет собой автогенератор на лампе ГУ-29 частотой 40 МГц с питанием анода непосредственно от сети 220В через выпрямитель с удвоением напряжения. Силовой трансформатор только накальный. Прибор имеет малые габариты и вес, простую конструкцию и схему:
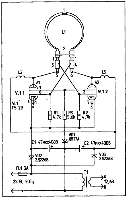
Позднее в [2] был опубликован более мощный вариант прибора на двух ГУ-50. Я советую делать аппарат по схеме [2], так как аппарат по схеме [1] немного слабоват и требует большего времени прогрева сустава. К тому-же лампы ГУ-50 и панели к ним менее дефицитны, чем для ГУ-29. Схема второго варианта:
Отсканированная статья [1] в формате DjVu здесь: artrit1.zip (402Kb) Итак, я быстро засучил рукава и за 10 дней изготовил прибор ВЧ-магнитотермии по схеме [1]. Проблема с нагревом сустава была решена, за что огромное спасибо автору разработки Ю.Мединец (UB5UG) и минскому журналу "Радиолюбитель" за данную публикацию! Оставалось решить задачу по созданию микровибрации сустава на переменной частоте. Для этой цели, как нельзя лучше подходит виброакустический прибор "Витафон", который можно выписать по почте, сделав заказ прямо с сайта фирмы-производителя: www.vitafon.ru Прибор представляет собой силовую вилку с собранной в ней схемой и два виброфона, типа как капсюли от старых электромагнитных радионаушников:
Итак, я выписал "Витафон", он стоил в ту пору 500 рублей, прибор ВЧ-магнитотермии был уже готов, то осталось разработать методику лечения. Она такова: Берём три стула. На одном стуле размещаем прибор ВЧ-магнитотермии так, чтобы петля облучателя свисала над полом. На второй стул, поставленный против первого, садимся сами. Сбоку ставим третий стул с "Витафоном". Внутреннюю часть петли кабеля прибора ВЧ-магнитотермии прокладываем полотенцем, чтобы нагревающийся кабель не жёг колено. Надеваем петлю кабеля прибора ВЧ-магнитотермии ка колено и включаем его. Греем коленно 25 минут, затем выключаем прибор ВЧ-магнитотермии, включаем "Витафон" и, прижимая виброфоны к колену, круговыми движениями, двумя руками, проглаживаем коленный сустав виброфонами со всех сторон по всей площади сустава в течении 10 минут. Затем то же самое проделываем с коленом второй ноги. К моменту, когда всё стало готово для начала процедур, мой отец совсем дошёл-кое как, вдоль стенки, передвигался с клюшкой только по квартире, на улицу уже не ходил. Через три недели процедур, дважды в сутки-утром и вечером, мой отец как заново родился- стал ходить по квартире вообще без клюшки и свободно по городу с клюшкой. Прошло три года. Отец с перерывами (неделю делает, неделю нет) повторяет процедуры и чувствует себя для своих 76и вполне сносно. Как всякий человек, проявляя лень, он одно время перестал делать профилактические процедуры и болезнь снова схватила мёртвой хваткой, вынуждая возобновить процедуры. Вот так и живёт с двумя физиотерапевтическими приборами и бесконечно им благодарен. Что хотел бы сказать в заключение. Следует учитывать, что артриты бывают разные, с разной этиологией (причиной возникновения), посему самолечением сразу заниматься ни в коем случае не нужно. Нужно сначала использовать тот арсенал, который предлагает врач. И, если уж лечение неэффективно, то можно попробовать предлагаемый мною метод. Следует учитывать, что консультации с врачом по поводу данного метода бессмысленны- врач не может рекомендовать то, с чем не знаком, тем более применять неизвестные ему и, тем более, не сертифицированные и не рекомендованные минздравом физиотерапевтические приборы. Так что, я предложил метод, который конкретному человеку обеспечил эффективное лечение коленно-суставного артрита и действует безотказно более трёх лет, а читателям этой страницы придётся решать самим : стоит или не стоит его применять. Может возникнуть закономерный вопрос: а почему это я, собственно, предлагаю использовать в данном случае "Витафон", а не свой светоакустический прибор? Во первых, когда всё начиналось, моего прибора ещё не было даже в проекте. Во вторых, импульсный сигнал "Витафона" наиболее оптимален для данной процедуры и по форме и по акустическому уровню. К тому же виброфонов у "Витафона" два, что хорошо для обработки крупных суставов. В третьих, сделать мой прибор не в пример сложнее, чем сделать прибор ВЧ- магнитотермии. Уж лучше купить "Витафон" для данной, подчёркиваю, процедуры, чем делать два довольно сложных прибора и упускать драгоценное время. Если же после данной процедуры применить по 5 минут на сустав обработку и моим прибором, а также применить общеукрепляющую методику, как для прибора "Рикта", то, уверен, будет ещё лучше. Можно попробоваль добавить и лекарственный электрофорез на суставы. Но нельзя усложнять процедуру до бесконечности: лучшее, как известно, враг хорошего! К тому же, к моему прибору пристрастилась моя сестра. Он, оказывается, обладает хорошими косметическими свойствами: размягчает кожу шеи и лица и разглаживает морщины, так что, всё время занят. Литература:
|

