Что-то не так?
Пожалуйста, отключите Adblock.
Портал QRZ.RU существует только за счет рекламы, поэтому мы были бы Вам благодарны если Вы внесете сайт в список исключений. Мы стараемся размещать только релевантную рекламу, которая будет интересна не только рекламодателям, но и нашим читателям. Отключив Adblock, вы поможете не только нам, но и себе. Спасибо.
Как добавить наш сайт в исключения AdBlockРеклама
Измерение емкости электролитических конденсаторов
Измерение емкости электролитических конденсаторов
В повседневной практике радиолюбители нередко сталкиваются с необходимостью
измерения емкости конденсаторов, особенно электролитических, так как из-за
высыхания электролита она со временем снижается. Кроме того, электролитические
конденсаторы имеют большие допуски по емкости. Описываемый здесь прибор позволяет измерять емкость полярных и неполярных
электролитических и неэлектролитических конденсаторов до 3000 мкФ. Отсчет
идет непосредственно по шкале стрелочного измерительного прибора.
Работа прибора основана на измерении протекающего через конденсатор переменного
тока при подведении к нему пульсирующего напряжения от однополупериодного
выпрямителя.
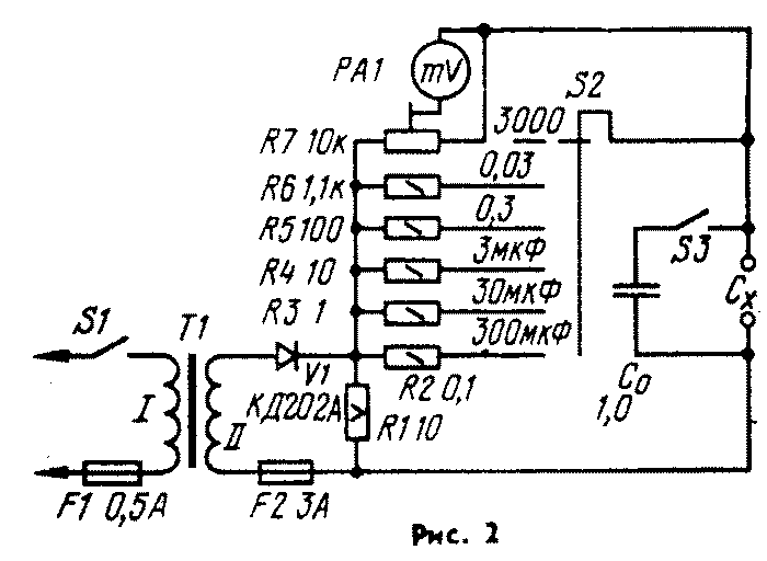
Принципиальная схема прибора показана на рис. 2. Диапазон измерения емкости
— от 3000 пФ до 300 мкФ. Измерительный прибор PAJ — на переменное напряжение
30 мВ. Он может быть как промышленным, так и любительским с входным сопротивлением
не менее 100 кОм. Может подойти, в частности, прибор, описание которого
приведено в статье Б. Степанова и В. Фролова "Милливольтметр переменного
тока" («Радио», 1977, № 2, с. 53-55). Перед измерениями переключателем S3 параллельно зажимам Сх подключают
образцовый конденсатор Со и подстроенным резистором R7 устанавливают стрелку
милливольтметра на отметку шкалы, соответствующую емкости измеряемого
конденсатора. При точном подборе резисторов повторной калибровки при переключении
диапазонов измерения не требуется. Трансформатор Т1 может быть от блока питания промышленного приемника,
вторичная обмотка которого рассчитана на напряжение 6,3 В и ток не менее
1 А. Предохранитель F2 защищает прибор при случайном замыкании на выходе
и в случае, пробоя проверяемого конденсатора. |

