Что-то не так?
Пожалуйста, отключите Adblock.
Портал QRZ.RU существует только за счет рекламы, поэтому мы были бы Вам благодарны если Вы внесете сайт в список исключений. Мы стараемся размещать только релевантную рекламу, которая будет интересна не только рекламодателям, но и нашим читателям. Отключив Adblock, вы поможете не только нам, но и себе. Спасибо.
Как добавить наш сайт в исключения AdBlockРеклама
Передающая приставка к радиоприемнику Р-250
Передающая приставка к радиоприемнику Р-250
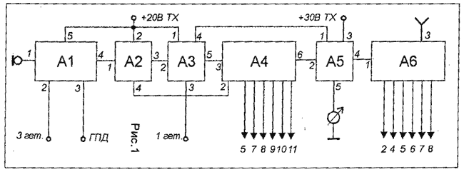
Некогда, очень популярный радиоприемник Р-250, несмотря на его внушительные размеры, до сих пор пользуется уважением среди отечественных радиолюбителей. За долгие годы существования разработано несколько схем трансиверизации и отдельных передающих приставок. Проанализировав многие варианты, могу констатировать, что полная трансиверизация приемника выглядит гораздо проще, однако, хороших результатов на всех любительских диапазонах добиться довольно сложно. Осмелюсь предложить свой вариант передающей приставки к радиоприемнику Р-250 любой модификации, собранную на недефицитной элементной базе. В работе приставки используются те же частотные преобразования, что и в самом приемнике, только в обратном порядке. Структурная схема Рис.1. Структурная схема Структурная схема приставки, рис.1 состоит из шести функциональных блоков. Для формирования SSB сигнала и era дальнейшего преобразования задействованы частоты всех трех гетеродинов, что позволяет обойтись без дефицитных кварцевых резонаторов. Каждый функциональный узел выполнен на отдельной плате и при желании его можно быстро заменить на более совершенный или, уже имеющийся в наличии. Измерительный прибор на выходе приставки позволяет оперативно (без РА) настраивать приставку на рабочую частоту. Питание приставки обеспечивается двумя стабилизированными источниками питания +20 и +30 вольт. Переключение диапазонов производится малогабаритными реле РЭС-49. Выходной каскад обеспечивает 1,5 Вт на нагрузке 75 Ом. Настройка приставкиНе тешьте себя мыслью, что правильно собранная приставка сразу же начнет работать. Потребуется тщательная настройка каждого каскада, каждого узла и всего передающего тракта в целом. Как минимум для настройки потребуются измерительные приборы: ГСС, осциллограф, ВЧ-вольтметр и желательно иметь двухтональный генератор. Блок А1Формирователь SSB сигнала собран на микросхеме К174УР1, рис.2. Балансировка производится й следующем порядке. Отключается микрофон, на вход микросхемы (конт.14) подается сигнал 3-го гетеродина 215 кГц. К выходу (конт.8) подключается осциллограф. Переменным резистором 47 кОм следует добиться минимума сигнала. Несколько раз повторить эту процедуру и убедиться, что смеситель формирователя сбалансирован.
Рис.2 Формирователь SSB сигнала Для настройки ЭМФ частота 3-го гетеродина устанавливается на 1650 Гц выше или ниже частоты 215 кГц (выбор боковой полосы), а на микрофонный вход подается НЧ сигнал в интервале частот от 20 до 4000 Гц, уровнем 1 мВ. На выходе ЭМФ появится ВЧ-сигнал. Подбирая конденсаторы на входе-выходе фильтра следует получить линейную АЧХ. Процедуру настройки ЭМФ проще производить измерителем АЧХ. Уровень выходного сигнала на выходе ЭМФ устанавливается подстроечным резистором 4,7 кОм. Сформированный SSB сигнал далее поступает на 1-й смеситель, собранный на мс К174ПС1. Этот смеситель в настройке не нуждается, необходимо лишь на конт.11 установить требуемый уровень гетеродина (ГПД). Блок А2.Перестраиваемый полосовой фильтр предназначен для выделения разностной частоты (Ргпд - 215 кГц) в диапазоне 1,5...3,5 МГц. Он собран в виде двухкаскадного, двухзвенного полосового фильтра. Контурные катушки перестраиваются одновременно 4-х секционным конденсатором переменной емкости от радиоприемника ИШИМ-003.
Рис.3 Перестраиваемый полосовой фильтр При настройке этого фильтра следует обратить внимание на:
В результате настройки ширина полосы пропускания фильтра должна быть не более 50 кГц во всем диапазоне перестройки. Резистором 680 Ом можно регулировать Кпер. всего фильтра. С целью упрощения можно исключить их схемы фильтра его первый каскад. Эмиттерный повторитель на выходе фильтра предназначен для согласования со 2-м смесителем и полосовым фильтром в диапазоне 160 метров. Блок A3.
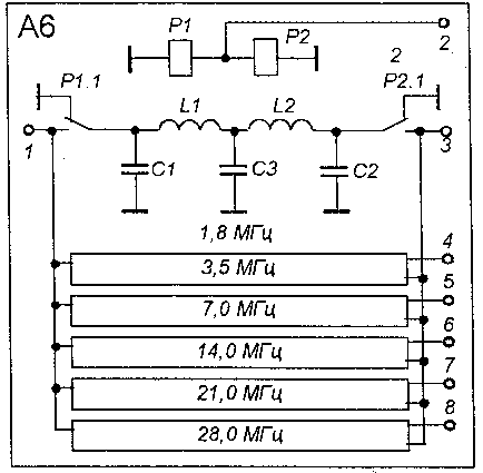
Рис.4 Второй смеситель Второй смеситель аналогичен первому и собран на такой же микросхеме К174ПС1. Для нормальной работы достаточно установить соответствующий уровень сигнала 1-го гетеродина. Блоки А4, А5 и А6.Полосовые фильтры, схемы драйвера и ФНЧ полностью заимствованы от трансивера "Десна". Их настройка производится в комплексе, с учетом входных и выходных сопротивлений фильтров. Следует обеспечить нужную полосу пропускания каждого любительского диапазона.
Рис. 5. Полосовые фильтры После предварительной настройки всех блоков необходимо убедиться в линейности всего передающего тракта. На микрофонный вход подается сигнал с выхода двухтонального генератора, осциллографом контролируется качество выходного сигнала. Методика измерения приводится в [1].
Рис. 6 Схема драйвера
Рис. 7. Фильтры ФНЧ Конструкция и деталиКонструктивно передающая приставка сделана в виде отдельного блока. Компоновка плат зависит от индивидуальных возможностей каждого радиолюбителя. Одно условие - минимальная длина соединительных проводников. Печатные платы изготавливаются из двухстороннего фольгированного стеклотекстолита. Верхний слой сохраняется и выполняет функции "земли", а нижний служит для монтажных целей. Отверстия под элементы, не подлежащие заземлению необходимо раззенковать сверлом диаметром 3 мм. На рисунках печатных плат места заземления обозначены X . В блоке А1 регулятор "Уровень микр." выведен на лицевую панель. Между формирователем и 1-м смесителем устанавливается небольшой экран из белой жести. Блок А2 собирается на дюралюминиевой пластине, с одной стороны крепится КПЕ, с другой - плата фильтров. Диапазонная настройка облегчается верньером 1:10 на оси КПЕ и градуированной шкалой. Так как уровень ГПД при перестройке по диапазону меняется, то регулятор "Усиление" 680 Ом нужно вывести на лицевую панель. В драйвере А5 транзистор КТ904А устанавливается на радиатор из алюминия 55x30x5 мм. Между первым и второым каскадами устанавливается небольшой экран. Данные трансформаторов и контуров сведены в таблицы 1 и 2. При необходимости можно использовать и другие размеры ферритовых колец или контурных каркасов, однако, при этом придется подбирать количество витков и величины конденсаторов. Таблица 1
Катушки полосовых фильтров намотаны на каркасах 05 мм
с сердечниками от СБ-12а. Таблица 2
Сигналы всех трех гетеродинов выводятся на лицевую панель приемника через буферные каскады [2, 3]. Соединение передающей приставки с приемником производится коаксиальным кабелем 75 Ом. Сам приемник желательно доработать, пользуясь рекомендациями в: [4] - исключение ЭМФ в УПЧ2; [5] - для приемника Р-250М; [7] - S -метр для приемника. К недостатку этой приставки можно отнести отсутствие телеграфного режима, изначально он не предусматривался. Для желающих самостоятельно ввести CW -режим предлагаю воспользоваться одним из вариантов. Первый — можно сформировать телеграфный сигнал на частоте 215 кГц и подать его на вход 1-го смесителя (там предусмотрена соответствующая перемычка). Второй — сформировать телеграфный сигнал по НЧ, и подать его на микрофонный вход. (Этот путь менее предпочтителен, RW3AY ). Литература
|
||||||||||||||||||||||||||||||||||||||||||||||||||||||||||||||||||||||||||||||||||||||||||||
