Что-то не так?
Пожалуйста, отключите Adblock.
Портал QRZ.RU существует только за счет рекламы, поэтому мы были бы Вам благодарны если Вы внесете сайт в список исключений. Мы стараемся размещать только релевантную рекламу, которая будет интересна не только рекламодателям, но и нашим читателям. Отключив Adblock, вы поможете не только нам, но и себе. Спасибо.
Как добавить наш сайт в исключения AdBlockРеклама
УРАЛ-Д04
УРАЛ-Д04
Модернизация основной платыСпустя несколько лет интенсивной эксплуатации трансивера в различных поездках , решился на его существенную модернизацию . Частые разъезды и нехватка свободного времени не давали возможности сделать это раньше, зато можно было все хорошенько обдумать. Зная досконально "минусы" своего трансивера , перебирал различные варианты доработок. Пришел к выводу , что придется изменить всю основную плату и прежде всего, смеситель RX-TX , усилитель ПЧ и АРУ. Естественно, проводить изменения без улучшения основных параметров трансивера не имело смысла . (На мой взгляд, работающего на прием практически безупречно, RW3AY.) Проведенные доработки обеспечивают увеличение чувствительности приемника , расширяют динамический диапазон и диапазон регулирования АРУ . Прошу прощения за краткое изложение , надеюсь , что кто-нибудь , проделав то же самое, сможет более подробно рассказать о работе данного узла. Технические характеристики трансивера с новой платой:
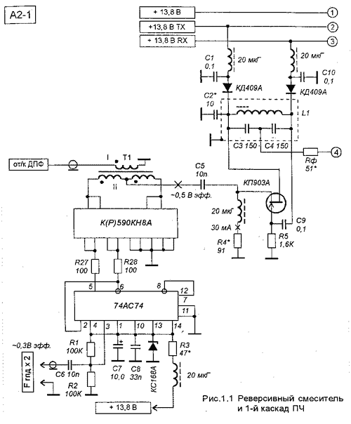
Полностью заменен смеситель RX - TX . Теперь он обратимый, собран на двух микросхемах ; К(Р)590КН8А - сборка из четырех полевых транзисторов , включенных по два в параллель . Смеситель работает в ключевом режиме - получаются два сбалансированных ключа с малым динамическим сопротивлением в открытом состоянии , и достаточно большом в закрытом . Управляющие сигналы ( меандр амплитудой 5 В ) подаются на затворы транзисторов от формирователя меандра , микросхемы 74АС74 (USA). На вход формирователя поступает синусоидальный сигнал гетеродина с удвоенной частотой (от синтезатора частоты или от ГПД). Подобная схема смесителя в сравнении с известным смесителем на 8- ми тщательно подобранных диодах , обладая высокими характеристиками , имеет , на мой взгляд, и другие неоспоримые преимущества . Прежде всего , отличается простотой сборки и содержит всего один ВЧ-трансформатор, не требует тщательного подбора элементов и настройки, обеспечивает лучшее соотношение сигнал/шум, видимо, за счет идентичности элементов в микросхеме К(Р)590КН8А и ключевания правильно сформированным меандром . Рис.1. Щелкните мышью для получения большого изображения Как правило , реализовать подобные преимущества единственно возможно только при правильно организованном и выполненном монтаже. Давно подмечено, чем аккуратнее относишься к реализации высокочастотных узлов приемопередающей аппаратуры , тем выше получаемые параметры. Для сборки необходимо использовать только двухсторонний фопьгированный стеклотекстолит высокого качества . Одна сторона платы сплошная и не вытравливается , зенкуются только отверстия под выводы элементов , "земляные" точки и общей шины питания (минус источника) тщательно пропаиваются с двух сторон. Немаловажно следующее - разводка и расположение элементов смесителя на плате должны производиться с максимальной симметрией для исключения разбаланса . Рис.2. Щелкните мышью для получения большого изображения
Изменена нагрузка транзистора КП 903 А . Добавлен контур L1, СЗ, С4. Помимо согласования с лестничным кварцевым фильтром КФ1 (8 резонаторов , Fo = 8867 кГц , ДР = 2,6 кГц ), дополнительно фильтрует паразитные составляющие спектра после преобразования . Резистором Рф (30...100 Ом ) при окончательной настройке платы нужно добиться наилучшей неравномерности в полосе прозрачности кварцевого фильтра не хуже 3 дБ . Рис.3. Щелкните мышью для получения большого изображения Основной каскад УПЧ - микросхема К 174 ХА2 - остается . Как и раньше она выполняет основные функции: УПЧ , балансного детектора и АРУ . Резистором R29 устанавливается порог срабатывания АРУ с 4...5 баллов . Элементы R17, С36, R18 - ФНЧ 3 кГц . Между ним и регулятором громкости R30 можно добавить " Notch - фильтр " (" Р - Д "). Кварцевый фильтр КФ 2 - лестничный , четырехкристальный , с переключаемой полосой пропускания оставлен без изменения , как и в предыдущей схеме . Новую плату , точно также , как и предыдущую , можно дооснастить блоком " РВГ ( от дельно от основной ) (" Р - Д " № 14, стр .10-11). Усилитель АРУ на микросхеме К140УД7(6). Времязадающая цепь С55, С56, R44. Быстрый заряд (без хлопков от мощных станций ) обеспечивается R43, С55. Средний уровень выходного сигнала поддерживается цепью C56, R44, R45. Цепь R46, С57 или С58 определяет время разряда АРУ - "быстрая" или "медленная". Питание трансивера осуществляется от напряжения 13,8 В (автомобильный аккумулятор или выносной блок питания на такое же напряжение). В модернизированном трансивере "Урал-Д04" установлен готовый синтезатор частоты UT2FW . Выходной каскад ( усилитель мощности ) ("Р-Д" №13, стр. 32 собран на транзисторах КТ610, 2хКТЭ 20 А , 2хКТ966. Он обеспечивает 60...70 Вт на нагрузке 50 Ом . Моточные данные :
Литература
* Приношу свои извинения , но в схеме , предоставленной автором для этой публикации , в некоторых местах встречаются одинаковые позиционные обозначения и даже отсутствующие позиции , RW3AY
|


