Что-то не так?
Пожалуйста, отключите Adblock.
Портал QRZ.RU существует только за счет рекламы, поэтому мы были бы Вам благодарны если Вы внесете сайт в список исключений. Мы стараемся размещать только релевантную рекламу, которая будет интересна не только рекламодателям, но и нашим читателям. Отключив Adblock, вы поможете не только нам, но и себе. Спасибо.
Как добавить наш сайт в исключения AdBlockРеклама
Малосигнальный тракт SSB TRX’a прямого преобразования на диапазон 80 м
Малосигнальный тракт SSB TRX’a прямого преобразования на диапазон 80 м
…Когда я начинал свой путь в КВ радиолюбительство, то первым моим приемником был приемник прямого преобразования (далее ППП) на 3,5 Мгц конструкции В.Полякова RA3AAE собранный всего на 3-х транзисторах. Именно он, при своей предельной простоте и качеству работы, позволил окунуться в прекрасный мир «загадочных» звуков радиолюбительского эфира. С тех пор появлялись конструкции всё сложней и сложней, но любовь к ППП так и осталась на всю мою жизнь. Причин тому несколько и одна из них – при предельной своей простоте ППП обеспечивают прекрасный прием самых удаленных станций, а о своеобразном «прозрачно-чистом» звучании ППП только можно мечтать. Многое было сделано В.Т.Поляковым для популяризации приемников такого класса. И как результат этого «радиотехнического симбиоза» – ППП прочно завоевали свою нишу среди радиолюбительского братства. На ваш суд представляется малосигнальный тракт, который можно использовать в простом ТРХе прямого преобразования на 80 м диапазон. Параметры тракта:
Схема представляет собой модифицированный вариант схемы В.Т.Полякова – трансивера на 160 метровый диапазон. Хотелось бы вкратце остановиться на некоторых особенностях данной схемы, а именно:
Краткое описание схемы приемника:Диапазонный сигнал через Ant1 (см.рис.1) поступает на ДПФ L 1 L 2 L 3, C 4 C 5 C 6 и далее поступает на истоковый повторитель на Т2, который служит для согласования сопротивлений ДПФа и смесителя приемника D 2- D 5. Через Tr 1 далее сигнал пройдя через RC ВЧ фазовращатель R 9 C 15 поступает на смеситель и далее в два канала обработки НЧ сигнала (0 и 90 грд). Смеситель на D 2- D 5 представляет собой ключевой баллансный смеситель, который работатет на основной частоте ГПД равной частоте входного сигнала. Резисторы R 10 R 11 служат для подавления несущей при передаче. Если тракт предполагается использовать только как приемник, то эти резисторы можно исключить из схемы. Принцип работы смесителя предельно прост: при разных полуволнах гетеродинного напряжения открываются то нижние два по схеме диода, то верхние, замыкая цепь сигнала на землю, чем и обеспечивается преобразование частоты. Далее через простейшие Г-образные НЧ фильтры, которые отсеивают вредные НЧ помехи частотой выше 8-15 Кгц. Это первая цепочка участвующая в формировании «сквозной АЧХ» всего тракта приема. Затем НЧ сигнал поступает на два предусилителя на DA 1,DA2, роль которых немножко поднять уровень НЧ сигнала ( Ку около 12) и «развязать» НЧФ на ОУ от смесителя приемника. Затем идут по 2 канала НЧФ на DA 3, DA 4,DA6,DA7 !! Собственные частоты НЧФ звеньев выбраны для канала 0 грд. 170 и 1850 Гц, а для канала 90 грд. 610 и 6700 Гц. Конденсаторы C 29,С30,С37,С38 рассчитаны для этих частот и могут быть набраны из ближайших номиналов. Если резисторы R 17, R 18, R 26, R 27 установлены примерно в среднее положение, то это обеспечивает настройку звеньев НЧФ на заданные частоты, где сдвиг фазы будет ровно 90 грд. Для уменьшения НЧ-шумов ОУ, установлены С25,С26,С31,С33,С39,С40 в ОСС этих усилителей. Установка конденсаторов «коррекции АЧХ», согласно паспортному включению для ИМС К157УД2 обязательна !! Т.к при их отсутствии может возникнуть ВЧ и НЧ возбуждение ИМС К157УД2. Далее через двухзвенный ФНЧ L5 L6 C47 C49 C52 НЧ сигнал поступает на пред-УНЧ на ИМС DA8, а затем через регулятор громкости на оконечный УНЧ на ИМС DA5. двухзвенный ФНЧ L5 L6 C47 C49 C52 обеспечивает основную селективность на сквозной АЧХ тракта . Схемы включения DA5, DA8 типовые и особенностей не имеют. Схема ГПД представляет собой индуктивную трёхточку, которая при правильной фазировке катушек L1 L2 «заводится с пол оборота» и не вызывает проблем при настройке. Далее сигнал ГПД через эмиттерный повторитель поступает на Tr2 и через него на смеситель. Данный малосигнальный тракт с успехом можно применить в малогабаритном и маломощном ТРХе на 3,5 Мгц.
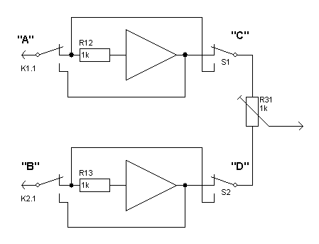
Рис.2. На рис.2 изображена схема коммутации RX - TX . Краткое пояснение к ней: Точки A , B , C , D – это точки на принципиальной схеме рис.1 К1.1, К2.1, К3.1, К4.1 – это контакты реле, осуществляющие коммутацию прием-передача, показаны в режиме «прием». У1 и У2 – это часть схемы включающая предусилители и 2 звена НЧФа (см.рис.1). Как видно из рис.2 суть коммутации в следующем – при приеме сигнал после смесителя поступает на входы У1 и У2, а после них суммируется на R 31. При передаче нужно обеспечить «обратное» включение У1 и У2. Т.е. сигнал с микрофонного усилителя через балансировочный R 13 поступает на входы У1 и У2, а после «фазовращения» поступает с выходов У1 и У2 на входы смесителя. Поскольку ВЧ фазовращатель стоит в цепи сигнала, то какой-либо ещё дополнительной коммутации НЧФ или ВЧФ не нужно. Переключение микрофонный усилитель-УНЧ на рис.1 выполняет реле К1.1 Микрофонный УНЧ, предусилитель TX , РА и другие вспомогательн ы е узлы на схеме не показаны, т.к. могут быть выполненные по самым различным схемам, зависящим от возможностей и вкусов рад и олюбителя. ДеталиЕдинственно что требует подбора, так это диоды смесителя. Метод подбора может быть любым, но лучшим, на мой взгляд, является следующий: С диапазонного ГПД или ГСС на пару диодов, включенных встречно-параллельно, подаем сигнал и далее через резистор на микроамперметр с нулём посередине. Чем больше отклонение стрелки в ту или иную сторону, тем больше различие диодов и наоборот. Таким способом можно отбирать диоды для смесителей любых RX 'ов или TX 'ов, а не только для ППП/ТПП. При тщательном отборе 4-х диодов и выполненнии монтажа смесителя строго симметричным, а также экранировке, можно получить ДД по «забитию» и больше того, что указан в начале статьи. Для других деталей какого-либо предварительного подбора деталей я не производил. Как резисторы, так и конденсаторы брались из «подручных». Конечно, желательно отобрать экземпляры покачественнее. ИМС К157УД2, К157УЛ1, а их нужно всего 3 шт., были выпаяны со старых отечественных магнитол. Вместо TDA 2003 можно применить К174УН4,УН7,14 LM 386 или им подобные. Главный критерий – минимум шума при максимуме усиления. К157УЛ1 можно заменить каскадом на паре транзисторов КТ3102Е и КТ315Б, один из которых служит усилителем по схеме с ОЭ, а другой повторителем по схеме ОК.
Tr 1, Tr 2 на кольце 400-1000НН 3-мя слегка скрученными проводами ПЭВ-2 0,15. При намотке Tr 2 важно обеспечить максимальную «симметричность» обмоток, т.к. от этого будет зависеть качество подавления несущей при передаче и отсутствие «забития» при приеме. НастройкаНастройка таких трактов неоднократно описывалась в радиолюбительской литературе и каких-либо особенностей не имеет. Можно это делать по приборам – осциллограф и ВЧ генератор. Но я хотел бы описать способ, которым я пользуюсь при настройке таких простых конструкций: Я собрал на одном транзисторе простейший ВЧ LC -генератор на частоту около 3,6 Мгц. Затем, предварительно установив движки всех подстроечных резисторов тракта в среднее положение, через емкость или резистор подаю с него сигнал на антенный вход RX 'а. Поймав сигнал, расстраиваю приемник вниз по частоте на 1..1,5 кГц. При этом в наушниках будет слышен свист с такой же частотой. Затем вращая R9 и R31 добиваюсь максимального подавления этого свиста. Чтобы настроить НЧФ фазовращатель «на слух», нужно вспомнить, что у него 4-ре точки «бесконечного» подавления верхней боковой – 170, 610, 1850, 6700 Гц. Поэтому расстраивая приемник вниз по частоте от входного «измерительного» сигнала т.е. 3,6 Мгц таким образом, чтобы на выходе мы слышали свист частотой 170 Гц, мы подстраиваем R 17 на максимальное подавление этого свиста, затем изменяем частоту ГПД до свиста с частотой 610 Гц и подстраиваем R 15 на максимальное подавление этого свиста и т.д. для остальных 2-х частот. Данная операция потребует от вас немного терпения и усидчивости. Покрутив так несколько раз подстроечники, вы очень скоро поймете, что вам нужно делать, чтобы добиться максимального подавления нерабочей боковой полосы. После каждой такой «подстройки» НЧФ, нужно подстраивать R 9 и R 31. Таким образом - «на слух», лично мне удавалось добиться подавления более 40 дб – около 42-45 дб ! Если нет внешнего генератора для настройки, то можно настроить НЧФ по сигналам диапазонных станций. Особенно лучше всего это делать в ночное время, когда станции идут особо громко. Хорошо, если в это время в диапазоне будут работать мощные военные или ведомственные станции в виде ЗАСа или «журчалок». Методика настройки остается той же. Настраиваетесь на нерабочую боковую и, вращая подстроечники НЧФ и ВЧФ добиваетесь её глубокого и равномерного подавления, до почти полного пропадания или слышимости еле уловимой на фоне шума эфира. Правильно настроенный НЧФ и ВЧФ на прием, окажется и настроенным при передаче. Поскольку вход-выход НЧФ согласованы на R = 1 кОм, то при коммутации прием – передача не будет происходить рассогласование тракта и искажение его характеристик. Частота ГПД «вгоняется» в диапазон самыми стандартными способами – изменением индуктивности контурной катушки и ёмкости колебательного контура ГПД. Если не возникает генерация ГПД, то нужно поменять выводы катушки связи в контуре ГПД. Я применил в контуре ГПД слюдяные конденсаторы группы «Г», поэтому со стабильностью проблем не возникало. Полезно также подобрать оптимальное напряжение гетеродина R 36 на смеситель по максимальной чувствительности приема. Также по максимальной чувствительности настраивается и ДПФ L1 L2 L3. ЗаключениеВ качестве заключения хотелось бы сказать следующее. Данный приемник не претендует на какое-либо «ноу-хау» и создавался как конструкция выходного дня. Не последнюю роль сыграла и «ностальгия» за «чистотой и прозрачностью» эфира, которая есть в приемниках прямого преобразования. Если в данном тракте применить LC НЧФ фазовращатель, то тракт будет полностью обратимым. Но большое количество витков при намотке НЧ катушек для НЧФ (автор, «лодырь» и не любит такой рутины… Hi - Hi ) побудило его создать такой вариант тракта НЧФ на ОУ. Насколько мне известно, в радиолюбительской печати не было законченных схем ППП/ТПП использующим тракт НЧФ на ОУ. Вот я и решил поделиться этим с радиолюбительской «общественностью» !! Возможно эта схема заинтересует не только любителей техники прямого перобразования, но и начинающих радиолюбителей. На первый взгляд, кажущаяся «сложность и навороченность» данной схемы с головой окупается её качеством работы и простотой настройки !!! Я думаю, комплект деталей для этой схемы будет стоить дешевле, чем хороший ЭМФ, тем более кварцевый фильтр. Настройка может быть произведена можно сказать «с помощью отвертки». Качество работы налаженного приемника можно охарактеризовать тем, что его можно «слушать часами». Своеобразная «чистота и прозрачность» эфира характерная для ППП, заставляет вас это делать. При отключении антенны, шум самого приемника практически отсутствует. А при подключении антенны сигналы диапазона, даже при небольшом усилении по НЧ, «заставляют наушники слетать с ушей». Данный тракт можно использовать в многодиапазонном (160,80,40 м ) варианте ППП/ТПП, установив на входе несколько ДПФ и переключая контура в ГПД или сами ГПД. Предвижу возможный вал критики от «асов КВ любительства». Но подчеркну ещё раз – эта конструкция по описанным выше причинам не для них. У неё есть свои поклонники и потребители…. И последнее….В плане печатных плат не смогу помочь ничем т.к. данный RX был собран на «металлической» плате. Т.е. из-под банки кофе “Nescafe была изготовлена небольшая плата около 150х70 мм с небольшими бортиками по краям (4-5 мм). Затем облуженную ранее на заводе поверхность банки покрыл небольшим слоем растворенной канифоли в спирте! Вот на таком своеобразном «шасси» и был собран данный тракт по сей день пребывающий на моей «полке полуфабрикатных конструкций». Желаю всем удачи и 73 !! При возникновении вопросов - пишите на мой E-mail
|

