LAB599.RU — интернет-магазин средств связи
EN FR DE CN JP

Модернизация трансивера UW3DI

Модернизация трансивера UW3DI

Р.Алиев

 



Многие любители, повторившие конструкцию трансивера UW3DI, обнаружили недостаточное напряжение возбуждения оконечного каскада. На мой взгляд, причиной этого явления может быть:

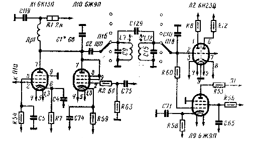
Во-первых, полосовой фильтр имеет индуктивно-емкостную связь. С ростом частоты индуктивная связь увеличивается. Поэтому, если катушки включены противофазно ( это вполне может случиться), общий коэффициент передачи фильтра будет падать.

Вo-вторых, в конструкции Ю.Кудрявцева к полосовому фильтру в режиме приема и передачи подключаются разные нагрузки - цепи анодов или сеток. Влияние этих нагрузок особенно заметно на высокочастотных диапазонах. Если схему включения фильтра видоизменить, как показано на рисунке, отдаваемая трансивером в режиме передачи мощность резко возрастает.


РАДИО N10,1974 г.



Партнеры