Что-то не так?
Пожалуйста, отключите Adblock.
Портал QRZ.RU существует только за счет рекламы, поэтому мы были бы Вам благодарны если Вы внесете сайт в список исключений. Мы стараемся размещать только релевантную рекламу, которая будет интересна не только рекламодателям, но и нашим читателям. Отключив Adblock, вы поможете не только нам, но и себе. Спасибо.
Как добавить наш сайт в исключения AdBlockРеклама
Имитатор звуков стрельбы
|
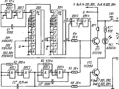
Имитатор предназначен для использования в детских электронных игрушках. Он синтезирует шумоподобный звук, напоминающий автоматическую стрельбу, который сопровождается вспышками светодиода. Особенность имитатора - исключительно цифровой синтез звука. Работает он от низковольтного источника (3...4,5 В), средний потребляемый ток составляет 5...7 мА. Основа имитатора (см. рисунок) - цифровой генератор шума на микросхемах DD1-DD3. О работе подобных генераторов подробно было рассказано в статье М. Мардера и В. Федосова "Цифровые генераторы шума" в "Радио", 1990, # 8, с. 69-71. На элементах DD1.1, DD1.2 собран задающий генератор, импульсы которого следуют с частотой около 7500 Гц, а на элементах DD2.1, DD2.2 - инфранизкочастотный генератор (примерно 10 Гц), управляющий работой тонального генератора на элементах DD2.3, DD2.4 (около 750 Гц). Шумовой и модулированный тональный сигналы поступают на сумматор, составленный резисторами R4, R5, и далее - на усилитель ЗЧ, выполненный на транзисторе VT1. Нагрузка усилителя - капсюль BF1 (ДЭМШ-1, ДЭМ-4м). Выходной сигнал инфранизкочастотного генератора управляет также усилителем на транзисторе VT2, нагрузкой которого является светодиод HL1 - он вспыхивает в такт со звуковыми посылками. Включается имитатор кнопкой SB1.
Микросхемы можно заменить на аналогичные серий К176, К561, но в этом варианте несколько возрастут габариты устройства. Кроме указанных на схеме транзисторов, допустимо использовать КТ315Г, светодиоды АЛ307Б-АЛ307Г с желаемым цветом свечения. Резисторы - МЛТ-0,125, конденсаторы - любые малогабаритные керамические, желательно стабильных групп ТКЕ. Источник питания - три последовательно соединенных элемента РЦ63 (3,75 В) либо другой источник на указанное на схеме напряжение и емкостью не менее 0,06 А.ч. Вместо капсюля ДЭМШ можно установить излучатель ЗП-1, что позволит почти вдвое снизить энергопотребление имитатора при той же громкости звука. Тогда в цепи коллектора транзистора VT1 параллельно излучателю следует включить резистор сопротивлением 6,8...10 кОм, а сопротивление резисторов сумматора увеличить до 200...300 кОм. Целесообразно также изменить частоту тонального генератора, установив ее подбором конденсатора С3 близкой к частоте собственного механического резонанса излучателя - около 2800 Гц. Налаживание имитатора сводится к установке желаемого звучания подбором конденсаторов С2, С3 и яркости светодиода подбором резистора R7. Из соображений экономичности ток через светодиод не должен превышать 10 мА. От редакции. Генератор на элементах DD1.1, DD1.2 будет работать стабильнее, если вывод 2 элемента DD1.1 подключить к общему проводу (DD1.1 будет работать в режиме повторителя, без инверсии), а элементы R1 и C1 поменять местами. Радио №6, 1999 |