Что-то не так?
Пожалуйста, отключите Adblock.
Портал QRZ.RU существует только за счет рекламы, поэтому мы были бы Вам благодарны если Вы внесете сайт в список исключений. Мы стараемся размещать только релевантную рекламу, которая будет интересна не только рекламодателям, но и нашим читателям. Отключив Adblock, вы поможете не только нам, но и себе. Спасибо.
Как добавить наш сайт в исключения AdBlockРеклама
Индикатор уровня тормозной жидкости
|
Современные автомобили оборудуют гидравлическим приводом тормозов, одним из недостатков которого является опасность внезапной утечки тормозной жидкости из привода, что может привести к аварии. Установка на автомобиль индикатора уровня тормозной жидкости создает определенное удобство в эксплуатации и значительно повышает безопасность движения. Индикатор может быть установлен на все типы отечественных автомобилей с гидравлическим приводом тормозов и напряжением питания 12 В с минусом на массе, в гидросистему которых залита жидкость ГТЖА-2 “Нева” ТУ6-09-550-73. Если в гидросистеме используется другая марка тормозной жидкости, то номиналы элементов, естественно, будут отличаться от приведенных на схеме. Принципиальная схема индикатора показана на рис. 1. Его основа—мультивибратор на транзисторах Т2 и Т3. Нагрузкой мультивибратора служит телефонный капсюль Тф1. Транзистор Т4 способствует более четкой фиксации рабочего состояния (открыт — закрыт) транзистора Т2.
Когда щуп-датчик в бачке погружен в тормозную жидкость, на базу транзистора Т1 поступает напряжение смещения, и он открыт. При этом база и эмиттер транзистора Т2 имеют одинаковый потенциал, и этот транзистор будет закрыт. В результате мультивибратор не работает, а телефон Тф1 обесточен. Диод Д1 защищает базу транзистора Т2. При понижении уровня тормозной жидкости в бачке щуп оказывается в воздухе. В результате этого транзистор Т1 закрывается, а транзистор Т2 открывается. Теперь мультивибратор будет работать с частотой, определяемой постоянной времени цепочки R5C1 (около 400 Гц). Звуковой сигнал предупреждает водителя об утечке или недостаточном уровне тормозной жидкости в бачке. Индикатор собирают на печатной плате из фольгированного стеклотекстолита или гетинакса толщиной 1,5 мм. Чертеж печатной платы показан на рис. 2, а весь указатель в сборе — на рис. 3. ![]()
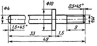
Использовать в индикаторе германиевые полупроводниковые элементы нежелательно ввиду их низкой термостабильности. Резисторы — МЛТ-0,25, конденсатор — МБМ. В качестве Тф1 можно использовать электромагнитный телефонный капсюль любого типа с сопротивлением обмотки 65—1600 Ом, например ТА-4. Телефонный капсюль крепят к печатной плате следующим образом. В крышке капсюля на диаметре 35 мм сверлят два отверстия диаметром 3,3 мм с зенковкой с внутренней стороны под потайную головку винта М3. Крышку капсюля закрепляют двумя винтами М3 на плате со стороны элементов, затем капсюль ввинчивают в крышку. Печатную плату с телефоном помещают 8 пластмассовый или металлический корпус. Правильно собранный из кондиционных деталей индикатор, как правило, налаживания не требует. В отдельных случаях может понадобиться регулировка чувствительности подбором резистора R1. Частоту звучания регулируют изменением сопротивления резистора R5. ![]() Рис. 4. Конструкция датчика индикатора (латунь Л62) Датчик монтируют в пластмассовую крышку бачка для тормозной жидкости. Один из возможных вариантов конструкции датчика показан на рис. 4. Датчик изготовлен из латуни Л62. Длина датчика зависит от расстояния от крышки бачка до отметки минимального уровня тормозной жидкости в бачке. Для автомобиля ВАЗ-2101 она равна 33—35 мм. В случае, если при установке датчика будет закрыто вентиляционное отверстие в крышке бачка, рядом с датчиком необходимо просверлить отверстие диаметром 1,5 мм для сообщения внутренней полости бачка с атмосферой. Если бачок для тормозной жидкости или трубопровод, идущий от бачка, металлические, то больше никаких доработок бачка делать не надо. Если же бачок и трубопровод сделан из неметаллических материалов (например, у автомобилей ВАЗ), то тормозную жидкость, находящуюся в бачке, необходимо электрически соединить с массой автомобиля. Для этого в бачке в любой точке ниже минимального уровня тормозной жидкости необходимо просверлить отверстие диаметром 4,1 мм, вставить в отверстие винт М4 с цилиндрической головкой, проложив с обеих сторон стенки бачка уплотняющие резиновые и металлические шайбы, и соединить винт с массой гибким многожильным проводом (МТБ, БПВЛ и др.) сечением 0,35—0,5 мм2. Эта необходимость вызвана следующим. Хотя на отечественных автомобилях всех типов тормозная жидкость электрически соединена с корпусом автомобиля (металлический главный тормозной цилиндр, металлические трубопроводы и пр.), точка ее соединения в некоторых случаях находится далеко от датчика, поэтому электрическое сопротивление столба жидкости на участке датчик — корпус составляет единицы мегом. Так, в автомобилях ВАЗ полиэтиленовый бачок соединяется с главным тормозным цилиндром диэлектрическим трубопроводом, и сопротивление участка датчик — корпус в автомобилях этого типа оказывается настолько велико, что транзистор 77 не открывается. Для автомобилей “Москвич-408”, “Москвич-412” заземлять жидкость нет необходимости — бачок расположен непосредственно на главном тормозном цилиндре, и жидкость контактирует с корпусом близко от датчика, поэтому сопротивление этого участка невелико. Замыкания по стенкам бачка между датчиком и корпусом не происходит ввиду большого сопротивления этого участка даже при максимально возможном наличии остатков жидкости на стенках. Кроме того, бачки, изготовленные из пластических масс, плохо смачиваются жидкостью, а стенки бачка расположены вертикально. Поэтому, как показал опыт, можно расположить в крышке бачка два датчика, и один из них соединять с корпусом. Однако расстояние между датчиками для большей надежности работы устройства не следует делать менее 15 мм. В этом случае налаживание устройства сводится к выбору оптимальной чувствительности подбором резистора R1. В некоторых случаях при значительном остатке жидкости на крышке может незначительно измениться частота генерации мультивибратора. При установке в крышку бачка двух датчиков можно использовать один и тот же индикатор для контроля уровня тормозной жидкости в бачке и охлаждающей жидкости в радиаторе. Для этого в радиатор (или в расширительный бачок) устанавливают аналогичный датчик, изолированный от корпуса, и все датчики соединяют последовательно: один датчик в крышке бачка для тормозной жидкости соединяют со входом индикатора, другой — с датчиком уровня жидкости в радиаторе. При падении уровня жидкости в бачке или в радиаторе цепь размыкается, и индикатор предупреждает об этом звуковым сигналом. Э. КАЧАНОВ |

