Что-то не так?
Пожалуйста, отключите Adblock.
Портал QRZ.RU существует только за счет рекламы, поэтому мы были бы Вам благодарны если Вы внесете сайт в список исключений. Мы стараемся размещать только релевантную рекламу, которая будет интересна не только рекламодателям, но и нашим читателям. Отключив Adblock, вы поможете не только нам, но и себе. Спасибо.
Как добавить наш сайт в исключения AdBlockРеклама
Система зажигания с новым способом воспламенения
|
Проблема загрязнения окружающей среды, возникшая вместе с цивилизацией и обостряющаяся по мере ее развития, требует в настоящее время все большего внимания. Обусловлено это тем, что человечество продолжает использовать в качестве энергоносителей наиболее доступные и дешевые источники, т.е. углеводородное топливо. В последнее время стало ясно, что наибольший вклад в загрязнение атмосферы вносят автомобили. Особенно это касается больших городов. Помимо относительно безвредного углекислого газа (парниковый эффект пока не считаем), двигатели внутреннего сгорания выбрасывают в атмосферу целый ряд химических соединений, наличие которых в выхлопных газах не поддается контролю используемыми в настоящее время газоанализаторами. Ведь камера сгорания двигателя - это высокотемпературный химический реактор, заправленный такими реагентами как азот, углерод, водород, свинец, кислород, сера и другие. За рубежом получили широкое распространение каталитические нейтрализаторы, использующие свойство металлов платиновой группы (платина, родий, палладий и т.д.) способствовать доокислению (дожигу) в выхлопной трубе всего того, что не успело сгореть в камере сгорания. Правда, они недолговечны, а стоят достаточно дорого (порядка 10% стоимости автомобиля). Но остается открытым вопрос, что делать с нашим не очень "молодым" парком автомобилей, который будет еще эксплуатироваться непонятно сколько. Из создавшейся ситуации возможен следующий выход. Нужно разработать такую систему зажигания, которая способна по возможности сжечь все в камере сгорания, вдобавок повысив за счет этого экономичность двигателя. Задачу более полного сгорания воздушно-топливной смеси в двигателях внутреннего сгорания в определенной степени удалось решить с помощью системы зажигания, работа которой основана на новом способе воспламенения топлива [1, 2]. Как ни странно, современные системы воспламенения топливно-воздушной смеси, используемые в распространенных марках автомобилей, основаны на том же способе воспламенения, что и в начале эры автомобилизма. Это искровой разряд между электродами свечи зажигания. Описание процессов, происходящих в момент воспламенения топливно-воздушной смеси, и самого процесса горения сопровождаются в литературе, как правило, ссылками на отсутствие единой теоретической модели этого процесса и различными объяснениеми его разными авторами. Известно, что КПД двигателя внутреннего сгорания зависит от температуры газов в камере сгорания, зависящей, в свою очередь, от скорости сгорания топливно-воздушной смеси. Соответственно, с увеличением этой скорости увеличивается КПД двигателя и, как следствие, уменьшается удельный расход топлива.
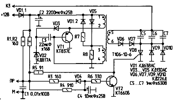
Схема электронного зажигания представлена на рис.2. Она работает следующим образом. Конденсаторы С5...С7 заряжаются от вторичной обмотки преобразователя на транзисторе VT1 до напряжения, значительно превышающего ЭДС аккумуляторной батареи. При размыкании контакта прерывателя, включенного между точками ПР и М, через, управляющий электрод тиристора VD8 проходит импульс тока, сформированный RC-цепью R1, R2, R5, С1. Тиристор открывается, и начинается колебательный разряд конденсаторов через первичную обмотку катушки зажигания, подключенной к точке КЗ. В течение первого полупериода ток протекает через тиристор, а в течение второго - через диоды VD9, VD10.
Процесс повторяется до тех пор, пока конденсатор С4 не зарядится до напряжения, при котором открывается ключ на транзисторе VT2, что предотвращает очередное отпирание тиристора. После замыкания контакта прерывателя остаточное напряжение конденсатора С4 прикладывается к управляющему переходу тиристора и надежно запирает его. Конденсатор С4 при этом разряжается через резистор R3 и диод VD4, однако ключ VT2 некоторое время после замыкания контакта остается открытым, что предотвращает случайное отпирание тиристора за счет дребезга контактов прерывателя. В случае применения коммутатора в системе зажигания с датчиком Холла, последний непосредственно управляет работой ключа. Процессы, происходящие при этом в схеме, аналогичны описанным выше. Предлагаемая схема зажигания позволяет подавать на электроды свечей зажигания напряжение, полярность которого меняется в течение одного такта работы двигателя. Подбором элементов схемы управления обеспечивается оптимальная продолжительность разряда в свече. Применение описанного способа зажигания дает возможность повысить топливную экономичность двигателя, его мощность и приемистость, уменьшить содержание окиси углерода в выхлопных газах и увеличить ресурс свечей зажигания.
Трансформатор преобразователя блока зажигания имеет послойную рядовую намотку (виток к витку). Изоляция между обмотками - два слоя лакоткани (Uпр>1000В). Изоляция между слоями - один слой лакоткани. Число витков: 1 - 35 вит. ПЭТВ-2-1,0; 2 - 48 вит. ПЭТВ-2-0,42; 3 - 420 вит. ПЭТВ-2-0,25. Порядок намотки обмоток - 2 - 3 - 1. Сердечник трансформатора ферритовый Ш12х15 марки 2000НМ-1, собирается с зазором 1 мм, в который вставляется диэлектрическая прокладка из гетинакса. Схема подключения разработанного блока (ОН-427) к системе зажигания автомобиля показана на рис.3 и 4. При подключении и отключении блока зажигание должно быть выключено, а клемма "Масса" ("-") отсоединена от аккумулятора. Блок электронного зажигания, изготовленный по данной схеме, прошел испытания на грузовых автомобилях и сравнивался с различными штатными системами зажигания.
Были выбраны автомобили ГАЗ-52 с классической контактной системой и ГАЗ-53 с более совершенной транзисторной системой и индукционным датчиком зажигания. Испытания проводились по методике, разработанной НПМП "Витар". Результаты испытаний разработанного блока приведены на рис.5. Анализ результатов свидетельствует об эффективности разработанного устройства и позволяет предположить, что характер происходящих при воспламенении топливно-воздушной смеси процессов в какой-то степени соответствует описанным.
Литература В.ЩЕРБАТЮК |
При разработке новой системы зажигания было сделано предположение, что
увеличить скорость сгорания топливно-воздушной смеси в камере сгорания можно
ослабив эффект "шнурования" плазмы, образующейся между электродами свечи за счет
протекания в искровом промежутке постоянного тока. Ток в этом случае
поддерживается за счет энергии, накопленной в катушке зажигания. В новой системе
используется принцип накопления энергии в конденсаторе, обеспечивающий в
искровом промежутке свечи зажигания биполярный импульсный ток.
В течение первого периода колебаний напряжения на электродах свечи происходит
подготовка смеси и ее воспламенение, а в течение последующих - ее сжигание. На
рис.1 изображен график изменения напряжения на электродах свечи. В двух
последних периодах импульсы напряжения имеют форму, близкую к прямоугольной.


