LAB599.RU — интернет-магазин средств связи
EN FR DE CN JP
QRZ.RU > Каталог схем и документации > Схемы наших читателей > Дайджест радиосхем > Электронный прерыватель стеклоочистителя

Электронный прерыватель стеклоочистителя




Электронный прерыватель стеклоочистителя

  Современные отечественные автомобили оснащены стеклоочистителем, обеспечивающим две скорости его работы, а также как непрерывный, так и пульсирующий режим. Это создает комфортность при езде в сложных погодных условиях. Между тем у многих старых моделей автомобилей, да и у некоторых сравнительно новых, стеклоочиститель работает только в одном - непрерывном - режиме. Дополнение их блока управления стеклоочистителем несложным электронным прерывателем позволяет получить регулируемый прерывистый режим.

  Большинству ранее опубликованных электронных блоков управления стеклоочистителем [1] присущ существенный недостаток. Дело в том, что при включении водителем стеклоочистителя момент подачи тока на его электродвигатель запаздывает на время, зависящее от положения движка переменного резистора, задающего длительность пауз между циклами движения щеток [2, 3]. Это создает определенные сложности при эксплуатации, отвлекает водителя на дополнительные манипуляции регулятором паузы. Дальнейшее совершенствование этих блоков и опыт их эксплуатации показали, что одного цикла движения щеток при первоначальном включении стеклоочистителя не всегда бывает достаточно для очистки лобового стекла. Как правило, для этого необходимо от трех циклов движения в обычных условиях до пяти при самых неблагоприятных.

 Электронный прерыватель стеклоочистителя

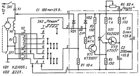
  Описанный ниже прерыватель (см. схему на рис. 1), подключенный к стеклоочистителю, обеспечивает регулируемый прерывистый режим и одновременное включение электродвигателя М1 на время четырех-пяти непрерывных циклов движения щеток с каждым очередным его включением, после чего устройство автоматически переходит в режим одиночных циклов с паузами между ними. Предусмотренные конструкцией стеклоочистителя скоростные режимы - быстрый или медленный - остаются без изменения, можно лишь задавать длительность пауз между циклами в этих режимах. Паузы устанавливают переменным резистором, ручка которого выведена на панель приборов автомобиля.

  Устройство рассчитано на работу с имеющимся переключателем режимов работы стеклоочистителя, а схема подключения показана на примере автомобиля М-2140. Нумерация проводников разъемов и подключение к ним переключателя соответствуют заводской схеме электрооборудования автомобиля. Проводник А, соединявший контакт 1 разъема Х2 с контактом 1 переключателя SA2 (см. рис. 1), при подключении прерывателя необходимо удалить.

  Прерыватель состоит из тринисторного коммутатора (VS1), генератора открывающих импульсов на однопереходном транзисторе (VT2), узла первоначального включения тринистора (VT1), элементов защиты от ЭДС самоиндукции (VD1, C3). В исходном состоянии переключатель режимов SA2 стеклоочистителя находится в нулевом положении ("Выключено"). Контакты конечного выключателя SF1, механически связанные с редуктором электродвигателя, разомкнуты.

  При замыкании контактов SA1 замка зажигания напряжение бортовой сети поступает на вывод 1 прерывателя и через обмотки электродвигателя, контакт 4 разъема Х2 - на вывод 2. Диод VD1 закрыт, а конденсатор С1 начинает заряжаться через диод VD2 и резистор R1. Постоянная времени зарядки мала (0,5...1 с), и конденсатор быстро заряжается до напряжения бортовой сети. Прерыватель готов к работе. Если теперь перевести переключатель SA2 в положение "1" - малая скорость движения щеток, - замкнутся его контакты 1, 4 и 2, а значит, замкнутся и выводы 2 и 3 прерывателя. Отключается зарядная цепь конденсатора С1; плюсовая обкладка заряженного конденсатора С1 оказывается соединенной через резистор R3 с эмиттером транзистора VT1, а минусовая через резистор R2 - с его базой. Поэтому конденсатор С1 начинает разряжаться через резистор R2, эмиттерный переход транзистора VT1 и резистор R3. Другой цепи разрядки нет, так как диод VD2 закрыт. Транзистор открывается и открывает тринистор VS1, который подключен параллельно контактам SF1. В результате вал электродвигателя М1 начинает вращаться, замыкаются контакты SF1, замыкая выводы 3 и 4 прерывателя. Это приводит к закрыванию тринистора VS1, а двигатель продолжает работать до момента размыкания контактов SF1. Одновременно с этим продолжает разряжаться конденсатор С1 по указанной выше цепи. Постоянная времени разрядки выбрана большей - 7...9 с.

  Когда щетки стеклоочистителя закончат полный цикл движения и разомкнутся контакты SF1, напряжение питания вновь поступит на анод тринистора. Поскольку разрядка конденсатора С1 еще продолжается, открытый транзистор VT1 вновь откроет тринистор. Не успев остановиться, вновь включается электродвигатель и цикл повторяется. Такое циклически беспрерывное включение электродвигателя будет продолжаться до тех пор, пока конденсатор С1 полностью не разрядится и транзистор VT1 останется закрытым при очередном появлении напряжения на выводе 3 устройства. С этого момента начинает заряжаться конденсатор С2 генератора импульсов. При достижении некоторого порогового напряжения на этом конденсаторе откроется транзистор VT2 и на резисторе R5 сформируется импульс, открывающий тринистор VS1. Снова включается электродвигатель, и цикл повторяется, но теперь уже с периодичностью, задаваемой зарядной цепью R6R7 конденсатора С2. При минимальном сопротивлении резистора R6 пауза между циклами практически отсутствует, при максимальном - пауза равна примерно 15 с.

 Электронный прерыватель стеклоочистителя   Если перевести переключатель SA2 в положение "0", устройство перейдет в исходное состояние - конденсатор С1 вновь быстро заряжается до напряжения питания, через остальные цепи ток не протекает. Прерыватель готов к очередному включению стеклоочистителя. При установке переключателя SA2 в положение "2" (включаются стеклоочиститель в режим быстрого движения щеток и электродвигатель омывателя фар) и в положение "3" (добавляется включение электродвигателя омывателя лобового стекла) все процессы в устройстве протекают аналогично.

  Все элементы прерывателя, кроме переменного резистора R6, размещены на печатной плате из фольгированного стеклотекстолита толщиной 1,5 мм. Чертеж платы изображен на рис. 2. В устройстве можно использовать любые резисторы мощностью 0,125 или 0,25 Вт. При выборе оксидных конденсаторов С1 и С2, являющихся составной частью времязадающих цепей, следует учитывать, что при уменьшении sтемпературы их емкость уменьшается, у некоторых типов - значительно. По этой причине от использования конденсаторов К50-6 следует заведомо отказаться.

  Вместо КТ3107Г подойдет любой маломощный p-n-p транзистор с импульсным током коллектора не менее 100 мА и статическим коэффициентом передачи тока базы не менее 100.

  При указанных на схеме номиналах резисторов и конденсаторов число непрерывных циклов в момент включения стеклоочистителя равно 4-5, а длительность паузы можно регулировать в пределах 0...15 с. Ручку переменного резистора R6 размещают на панели приборов вблизи от ручки переключателя режимов.

Литература:
1. Ломакин Л. Электроника за рулем. - Радио, 1996, № 10, с. 56 (табл. "Коммутаторы стеклоочистителя").
2. Бобыкин В. Усовершенствование прерывателя стеклоочистителя. - Радио, 1981, № 7, с. 36.
3. Кузема А. Улучшение прерывателя стеклоочистителя. - Радио, 1985, № 7, с. 45.

А. Кузема
г. Гатчина
Радио №6, 1999

Источник: shems.h1.ru

Партнеры