Что-то не так?
Пожалуйста, отключите Adblock.
Портал QRZ.RU существует только за счет рекламы, поэтому мы были бы Вам благодарны если Вы внесете сайт в список исключений. Мы стараемся размещать только релевантную рекламу, которая будет интересна не только рекламодателям, но и нашим читателям. Отключив Adblock, вы поможете не только нам, но и себе. Спасибо.
Как добавить наш сайт в исключения AdBlockРеклама
Ремонтируем реле поворотов
|
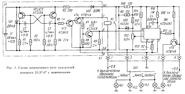
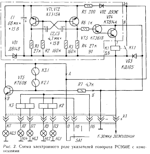
Предлагаемый автором метод разработан для автомобилей "Жигули" и "Москвич". Однако возможно использование и на автомобилях других марок. Так, например, отдельные узлы этих устройств были применены при ремонте импортных автомобилей. В настоящее время электронные реле указателей поворота в автомобилях “Жигули” и “Москвич” строятся на основе микросхем 224ГГ2. Но, к сожалению, эта микросхема часто выходит из строя, приводя к отказам электронного реле, а значит, к нарушению работы указателей поворота. С такой неисправностью выезжать на автомобиле категорически запрещается. Что же делать, если вдруг случится такое, ведь микросхем 224ГГ2 в продаже не бывает, нет их и на станциях технического обслуживания автомобилей? Оказывается, не нужно спешить искать новое электронное реле и выручить из беды вы можете себя сами, собрав небольшой узел на более распространенных деталях и установив его в электронное реле вместо микросхемы 224ГГ2. Как показала практика, надежность работы реле указателя поворота при этом намного повысилась. На рис. 1 и 2 показаны принципиальные схемы электронных реле типа 23.3747 (“Жигули” ВАЗ-2105) и РС950Е (“Москвич-2140Д”) после проведенной доработки. К сожалению, техническая документация на автомобили не комплектуется принципиальными схемами электронных реле, поэтому приведенные на рис. 1 и 2 схемы составлены автором по монтажным платам электронных реле и нумерация их элементов не соответствует заводской.
При переделке электронных реле следует помнить, что все вновь вводимые элементы объединены в узел У1 и на схемах обведены штрихпунктирной линией. Остальные элементы сохранены в том виде, как они были установлены заводом-изготовителем. Доработка электронных реле типа 23.3747 заключается всего лишь в установке вместо неисправной микросхемы 224ГГ2 нового узла У1 и соединения на монтажной плате устройства печатных проводников, подходивших к выводам 1 и 4 микросхемы, проволочной перемычкой. Последнее нужно для того, чтобы принципиальная схема реле приняла вид, показанный на рис. 1. Кроме микросхемы 224ГГ2 все заводские элементы остаются на монтажной плате.
В реле РС950Е доработка сводится к выпайке микросхемы 224ГГ2 и частотозадающих резисторов и конденсаторов, соединявшихся с выводами 1—4 микросхемы (иначе они будут мешать установке узла У1, имеющего несколько большие размеры, чем микросхема), и установке узла У1 на место микросхемы. Электронные реле указателен поворотов, кроме создания импульсов тока в лампах правого или левого борта, выполняют функцию контроля исправности как самого реле, так и нитей накаливания ламп или контактов в их держателях. Доработанное электронное реле автомобиля “Жигули” (см. рис. 1) работает следующим образом. При включении переключателя поворотов SA1 в положение “Левый поворот” через нити накаливания ламп HL1 и HL2 переднего и заднего указателей поворота заряжается конденсатор С1, напряжение на котором используется для питания мультивибратора на транзисторах VT1, VT2. Ток зарядки конденсатора С1 проходит по цепи: положительный полюс источника питания (аккумулятор или генератор), контакты 5 и 6 узла У1, конденсатор С1, резистор R5, диод VD2, контакты 4 и 3 узла У1, контакт 3 разъема X1, нити накала ламп HL1, HL2, отрицательный полюс источника питания (“масса” автомобиля). Напряжение на конденсаторе С1 быстро достигает уровня напряжения стабилизации стабилитрона VD1 (примерно за 0,05 с), и мультивибратор на транзисторах VT1 и VT2 начинает работать с частотой 1...2 Гц. В результате, когда транзистор VT2 открывается, напряжение конденсатора С1 оказывается приложенным к резистору R4 и через резистор R6 — к эмиттерному переходу составного транзистора VT3, VT4. Составной транзистор открывается, и срабатывает электромагнитное реле КГ, которое включает лампы HL1 и HL2. При запирании транзистора VT2 транзисторы VT3, VT4 запираются, реле К1 отпускает и лампы HL1 и HL2 гаснут. ;Когда контакты реле К1 замыкаются, напряжение бортовой сети не поступает на мультивибратор, и он работает за счет напряжения на конденсаторе С1. Диод VD2 предотвращает разряд конденсатора С1 через замкнутые контакты реле. Стабилитрон VD1 ограничивает напряжение на конденсаторе С1. Это предотвращает сбои в работе мультивибратора или вывод его из строя при повышении напряжения в бортовой сети автомобиля. На транзисторе VT5 выполнен инвертирующий усилитель, с нагрузки которого (резистор R9) при срабатывании реле К1 подается положительное напряжение в базу выходного транзистора микросхемы DA1. Этот транзистор отпирается, отпирая транзистор VT6, в коллекторную цепь которого включена лампа контроля работы указателя поворота HL5. В результате до тех пор, пока переключатель SA1 будет находиться в одном из крайних положений, лампа HL5 будет загораться синхронно и синфазно с лампами указателя поворота. На микросхеме DA1 выполнен компаратор, на выходе 9 которого при неисправности одной из ламп указателя поворота в течение всего времени его работы появляется низкое напряжение. При этом лампа контроля HL5 будет гореть постоянно, сигнализируя о неисправности. Электронное реле автомобиля “Москвич” (см. рис. 2) отличается узлом контроля работы указателя поворота. При включении переключателя поворотов SA1 в левое по схеме положение аналогичным образом через обмотки герконовых реле К2, КЗ и лампы HL2 (левый задний указатель), HL4 (левый передний указатель) подается питание на мультивибратор (транзисторы VT1, VT2), срабатывает и отпускает реле К1. При срабатывании реле К1, если обе лампы указателя поворота исправны, в обмотках реле К2 и КЗ течет ток, магнитоуправляемые контакты К2.1 и КЗ.1 замыкаются, подавая в базу транзистора VT5 отпирающий его сигнал. В результате вместе с лампами указателя поворота мигает лампа контроля HL5. При неисправности одной из ламп указателя поворота контрольная лампа не загорается вообще.
Выводы А, Б, В в этом случае подключаются к соответствующим точкам на схеме рис. 2. При установке узла, заменяющего микросхему 224ГГ2, в электронное реле РС950Е необходимость в инвертирующем усилителе (транзистор VT5 и резисторы R7—R9 на рис. 1) отпадает, поэтому на рис. 2 он не показан и на плате его элементы не устанавливают. Эскиз печатной платы нового узла и схема размещения деталей на ней показаны на рис. 4.
Выводы 3, 5, 9 являются одновременно выводами диода VD2, конденсатора С1 и резистора R9 (см. рис. 1). Нумерация выводов узла соответствует нумерации выводов микросхемы 224ГГ2. Выводы 1 и 2 в узле У1 отсутствуют, так как разместить их на плате из-за малого ее размера не удается. Но в этом и нет необходимости, потому что никакие детали нового узла к ним не подключаются. При исправных деталях нового узла и правильном монтаже электронное реле начинает работать сразу и в налаживании не нуждается. Если будет наблюдаться срабатывание реле К1 при выключенном переключателе SA1, то это укажет на неисправность транзистора, коммутирующего контрольную лампу HL5 (транзистор VT6 на рис. 1 или VT5 на рис. 2), так как при этом через пробитые переходы транзистора на вывод 4 узла будет поступать отрицательное напряжение бортовой сети автомобиля. В новом узле можно применить стабилитроны Д814В - Д, КС210Б, КС196, КС211 (VD1), диоды Д9, КД103, КД503, КД509 (VD2) с любыми буквенными индексами и транзисторы КТ315 (VT1, VT2), К.Т814, КТ626 (VT4) также с .любыми буквенными индексами. Транзисторы VT3 и VT5 (см. рис. 1) желательно выбирать с индексом В. Все резисторы — малогабаритные типов ВС, ОМЛТ, МТ и др., рассчитанные на мощность рассеяния 0,12...0,25 Вт. Конденсаторы C1—СЗ—типа К53-1, К53-4, но можно использовать и малогабаритные конденсаторы К50-6, К50-16, рассчитанные на рабочее напряжение 15...10 В. А. Ануфриев |
