Что-то не так?
Пожалуйста, отключите Adblock.
Портал QRZ.RU существует только за счет рекламы, поэтому мы были бы Вам благодарны если Вы внесете сайт в список исключений. Мы стараемся размещать только релевантную рекламу, которая будет интересна не только рекламодателям, но и нашим читателям. Отключив Adblock, вы поможете не только нам, но и себе. Спасибо.
Как добавить наш сайт в исключения AdBlockРеклама
Индикатор режимов зарядки батареи
|
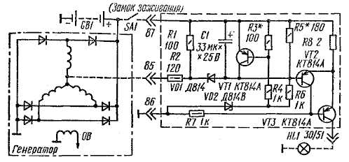
Чтобы продлить срок эксплуатации автомобильной аккумуляторной батареи, необходим эффективный контроль за режимом ее зарядки. Описываемое устройство сигнализирует водителю, когда напряжение на аккумуляторной батарее повышено и когда оно понижено, а генератор не работает. В случае повышенного потребления тока в бортовой сети при малой частоте вращения ротора генератора сигнализатор не срабатывает. При разработке устройства ставилась цель разместить его в корпусе имеющегося в автомобиле сигнального реле РС702, что обусловило особенности конструкции сигнализатора и типы примененных транзисторов. Принципиальная схема электронного сигнализатора вместе с цепями связи его с элементами бортовой сети приведена на рис. 1.
На транзисторах VT2, VT3 выполнен триггер Шмитта, на VT1 — узел запрета его срабатывания. В коллекторную цепь транзистора VT3 включена индикаторная лампа HL1, размещенная на приборном щитке. В горячем состоянии нить накала имеет сопротивление около 50 Ом. Сопротивление холодной нити в 7...10 раз ниже. В связи с этим транзистор VT3 должен выдерживать бросок тока в коллекторной цепи до 2,5 А. Этому требованию удовлетворяет транзистор КТ814. Аналогичные транзисторы используются и в качестве VT1 и VT2. Но здесь причиной их выбора послужило стремление получить малые геометрические размеры устройства — три транзистора устанавливают один под другим и закрепляют общим винтом с гайкой. Напряжение бортовой сети за вычетом напряжения на стабилитроне VD2 через делитель R5R6 подается на базу транзистора VT2. Если оно выше 13,5 В, триггер Шмитта переключается в состояние, при котором выходной транзистор VT3 закрыт и лампа HL1 не горит. База транзистора VT2 через стабилитрон VD1 и делитель R1R2 соединена также со средней точкой обмотки генератора. При исправном генераторе в ней относительно его плюсового вывода создается пульсирующее напряжение с амплитудой, равной половине генерируемого напряжения. Поэтому, если даже из-за большой токовой нагрузки в бортовой сети напряжение упадет ниже 13,5 В, ток с делителя R1R2 поступает в базу транзистора VT2 и не разрешает горение лампы. Чтобы исключить запрещение на включение сигнализации, когда отсутствует ток в обмотке возбуждения генератора, используется цепь, состоящая из делителя R1R2 и стабилитрона VD1. Она предотвращает попадание тока утечки через выпрямительные диоды генератора (в худшем случае до 10 мА) в базу транзистора VT2. Напряжение бортовой сети за вычетом напряжения на стабилитроне VD2 через делитель R3R4 подается также на базу транзистора VT1, участок коллектор — эмиттер которого шунтирует базовую цепь транзистора VT2. При напряжении сети выше 15 В транзистор VT1 переходит в режим насыщения. При этом триггер Шмитта переключается в состояние, при котором транзистор VT3 открыт и, следовательно, зажигается лампа HL1. Таким образом, лампа красного света на приборном щитке загорается, когда отсутствует ток зарядки и напряжение сети ниже 13,5 В, а также когда оно выше 15 В. При использовании в автомобиле электронного регулятора напряжения, не имеющего отдельного провода к клемме аккумуляторной батареи, из-за падения напряжения (около 0,1...0,2 В) в цепи до входной клеммы регулятора (чаще всего в режиме холостого хода) при выключенных потребителях тока наблюдается кратковременное периодическое пропадание зарядного тока от генератора. Длительность и период такого эффекта обусловлены временем спадания напряжения на аккумуляторной батарее на 0,1...0,2 В и временем повышения его на то же значение и составляют, в зависимости от состояния аккумуляторной батареи, около 0,3...0,6 с и 1...3 с соответственно. При этом с таким же тактом срабатывает сигнальное реле РС702, зажигая лампу. Такой эффект нежелателен. Описываемый электронный сигнализатор исключает его, так как при кратковременных пропаданиях зарядного тока напряжение в бортовой сети не достигает нижнего порога 13,5 В. Электронный сигнализатор выполнен на базе имеющегося в автомобиле сигнального реле РС702. Само реле с гетинаксовой платы удалено (после ликвидации заклепки). Кроме того, удалены заклепка с контактного лепестка “87” и Г-образная стойка у его основания.
Элементы сигнализатора монтируют на печатной плате (рис, 2) из фольгированного стеклотекстолита толщиной 1,5...2 мм. Транзисторы VT1 —VT3 размещены по оси центрального отверстия платы: VT3 со стороны печатного монтажа коллекторной пластиной от платы, a VT2, VT1 (в указанном порядке) —с противоположной стороны платы коллекторными пластинами в сторону платы. Перед пайкой все три транзистора нужно стянуть винтом МЗ с гайкой. Их выводы соединяют деточками платы облуженными медными проводниками, впаянными в нужные отверстия платы. Резисторы R3 и R5 припаивают не к токопроводящим дорожкам, а к штырям из провода. Это облегчит их замену при налаживании устройства. Элементы VD1 и VD2 устанавливают вертикально жестким выводом к плате. Так же вертикально расположен конденсатор С1, помещенный в хлорвиниловую трубку по диаметру конденсатора. В сигнализаторе следует применять резисторы (кроме R8) — ОМЛТ (МЛТ) с номиналами и мощностью рассеивания, указанными на схеме. Допуск по номиналам ±10 %. Резистор R8 изготавливают из высокоомного провода, намотанного (1—2 витка) на резистор МЛТ-0,5. Конденсатор С1 — К50-12. Транзисторы VT1— VT3—любые из серии КТ814 или КТ816. Элемент VD1 —стабилитрон Д814 с любым буквенным индексом, VD2—Д814Б или Д814В. После окончания монтажа печатной платы электронный сигнализатор собирают в такой последовательности: снимают гайку и винт, стягивающие транзисторы; в сквозные отверстия транзисторов VT1, VT2 помещают хлорвиниловую трубку диаметром 3 мм; в освободившуюся от реле РС702 плату вставляют лепестки (выводы) “30/51” (в центре) и “87”; последний закрепляют винтом МЗ (головкой со стороны вывода) с гайкой высотой 3 мм; винт М2,7 длиной 15...20 мм пропускают через отверстие в плате от реле РС702 (со стороны вывода “30/51”), затем насаживают на концы винтов смонтированную плату с транзисторами; обеспечивают контакт вывода “30/51” с коллекторной пластиной транзистора VT3 (путем ее плотного прилегания к плоской части вывода); проверяют наличие соединения вывода “87” с печатной платой через гайку с винтом; короткие штырьки выводов “85” и “86” подгибают так, чтобы они вошли в предназначенные для них отверстия на печатной плате; с помощью гаек М2,7 и МЗ с шайбами скрепляют обе платы; припаивают штырьки выводов “85” и “86” к токопроводящим дорожкам. При налаживании сигнализатора требуются блок питания с регулируемым напряжением от 12 до 16 В и лампа мощностью 3 Вт на 12 В. Сначала при отключенном резисторе R5 подбирают резистор R3. Необходимо добиться, чтобы при увеличении напряжения лампа загоралась в момент достижения 14,5...15 В. Затем подбирают резистор R5 так, чтобы лампа зажигалась, когда напряжение снижается до 13,2...13,5 В. Налаженный сигнализатор устанавливают на место реле РС702, при этом вывод “86” соединяют с “массой” автомобиля коротким проводом под винт крепления самого сигнализатора. К остальным выводам подключают провода электрооборудования, как это предусмотрено штатной схемой автомобиля с реле РС702, т. е. к выводу “85” — провод от средней точки генератора (желтый), к “30/51”—провод от лампы индикации (черный), к “87”—провод “±12 В” (оранжевый). Испытания сигнализатора показали следующий результат. При коротком замыкании регулятора свечение лампы наблюдается при повышении частоты вращения генератора и зависит от нее. При изъятии предохранителя в цепи регулятора лампа загорается примерно через минуту независимо от частоты вращения. Этой информации достаточно, чтобы установить причину и вид неисправности системы генератор — регулятор напряжения. При включении зажигания через час и более после остановки двигателя индикация работает, как и с релейным сигнализатором. Если же оно включается через незначительное время (менее 5 мин), лампа—сигнализатор зарядки не зажигается, но при пуске двигателя стартером вспыхивает и гаснет, свидетельствуя об исправности сигнализатора. Установка описанного регулятора вместо штатного РС702 в автомобилях “Жигули” (ВАЗ-2101, ВАЗ-2102, ВАЗ-2103, ВАЗ-2106 и др.) позволит однозначно предупредить водителя о всех отклонениях в режиме работы аккумуляторной батареи и сохранить ее от губительной перезарядки. А. Коробков |