Что-то не так?
Пожалуйста, отключите Adblock.
Портал QRZ.RU существует только за счет рекламы, поэтому мы были бы Вам благодарны если Вы внесете сайт в список исключений. Мы стараемся размещать только релевантную рекламу, которая будет интересна не только рекламодателям, но и нашим читателям. Отключив Adblock, вы поможете не только нам, но и себе. Спасибо.
Как добавить наш сайт в исключения AdBlockРеклама
Автомобильный регулятор напряжения
|
Электронный регулятор напряжения в системе автомобильного электрооборудования уже зарекомендовал себя как надежный, стабильный и долговечный узел. Ниже описан один из вариантов такого регулятора, в течение длительного времени испытанного на разных автомобилях и показавшего хорошие результаты. Особенностями регулятора являются использование триггера Шмитта в узле управления выходным транзистором и наличие температурной зависимости регулируемого напряжения. Регулятор смонтирован в корпусе реле-регулятора РР-380 и полностью его заменяет. Первая из указанных особенностей позволила снизить мощность рассеяния на выходном транзисторе за счет большой скорости его переключения. Вторая позволяет автоматически уменьшать напряжение зарядки аккумуляторной батареи при повышении температуры в моторном отсеке. Известно, что зарядное напряжение летом должно быть ниже, чем зимой. Невыполнение этого условия приводит к кипению электролита летом и недозарядке батареи зимой.
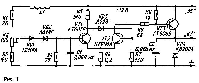
Принципиальная схема электронного регулятора изображена на рис. 1. Регулятор состоит из трех функциональных узлов: входного узла управления, состоящего из резистивного делителя напряжения R1—R3, стабистора VD1 и стабилитрона VD2, триггера Шмитта на транзисторах VT1.VT2 и выходного ключа на транзисторе VT3 и диоде VD4. Дроссель L1 служит для снижения пульсации напряжения на входе триггера, которые ухудшают эффективность регулирования. Элементы VD1 и VD2 формируют образцовое напряжение. Подводимое к входу триггера Шмитта напряжение равно разности между регулируемой частью входного напряжения и образцовым. Благодаря температурной зависимости напряжения на стабисторе VD1 и эмиттеряом переходе транзистора VT1 происходит уменьшение образцового напряжения при повышении температуры. В результате напряжение, подводимое к аккумуляторной батарее, уменьшается примерно на 10 мВ с повышением температуры на 1°С, что и необходимо для правильной эксплуатации батареи. Триггер Шмитта выполнен по классической схеме. Конденсатор С1 не допускает возникновения высокочастотного возбуждения этого транзистора, когда он находится в линейном режиме, и не влияет на скорость переключения триггера. Разность между порогами напряжения переключения определяется соотношением номиналов резисторов R6 и R8 и равна примерно 0,03 В. Транзистор VT3 электронного ключа насыщен в открытом состоянии, так что при коллекторном токе 3 А на нем падает всего 0,25 В. Благодаря хорошему быстродействию транзистора и импульсному режиму управления с крутыми фронтом и спадом импульсов управляющего напряжения мощность, выделяемая на транзисторе, не превосходит 0,5 Вт при средних и высоких значениях частоты вращения ротора генератора и 0,8 Вт — при низких. При такой мощности рассеяния принципиальной необходимости в теплоотводе для транзистора VT3 нет. Диод VD4 служит для защиты транзистора VT3 от бросков напряжения самоиндукции с обмотки возбуждения генератора, возникающих в моменты закрывания транзистора. При этом ток самоиндукции замыкается через диод VD4, уменьшаясь по экспоненте. Конденсатор С2 устраняет помехи, связанные с работой регулятора и могущие проникнуть в бортовую сеть автомобиля. ![]()
Электронный регулятор конструктивно удобнее всего выполнить на базе имеющегося реле-регулятора РР-380. С его основания снимают все детали, кроме дросселя и проволочного резистора сопротивлением 19 Ом, расположенного под монтажной площадкой (этот дроссель L1 на схеме рис. 1. а резистор — R9). Пластмассовый разъем с контактными планками и изолирующую прокладку тоже следует оставить. Большинство элементов регулятора размещено на двух печатных платах, изготовленных из фольгированного стеклотекстолита толщиной 2 мм. Вне плат установлены резисторы R8 и R9, дроссель L1, диод VD4 и транзистор VT3. Платы и транзистор VT3 привинчены к угольнику из листовой латуни или стали толщиной 2 мм, притянутому к основанию винтом (с гайкой) диода VD4(KД202A). Чертеж угольника представлен на вкладке. Диoд VD4 устанавливают в отверстие А.
В регуляторе использован подстроечный резистор СП5-14; можно применять резисторы и с другими номиналами при условии сохранения суммарного сопротивления R2+R3. Резистор R6 изготовлен из константанового провода диаметром около 0,3 мм, намотанного на любой резистор ОМЛТ-0,5. Вместо резистора на 68 Ом (R8) допустимо применить такие же резисторы сопротивлением от 51 до 75 Ом. Конденсаторы — КМ-5а-НЗО, емкостью до 0,1 мкФ. Вместо КТ603Б можно использовать любой транзистор из этой серии, а также КТ608А, КТ608Б; вместо КТ904А — КТ904Б, КТ926А, КТ926Б; вместо ГТ806В— любой из серий ГТ806, 1Т813. При испытаниях регулятора вместо транзистора ГТ806В был для пробы включен транзистор П217Б. Хотя разогревание корпуса этого транзистора было несколько выше, чем у ГТ806В, оказалось вполне допустимым применение транзисторов П216. П216А, П217А — П217В. Стабистор КС119А можно заменить на КС113А. Вместо Д818Г возможно использование других стабилитронов этой серии, однако при этом могут возникнуть трудности с температурной настройкой регулятора, для преодоления которых придется подбирать резисторы R1 и R3 (с сохранением суммарного сопротивления R1+R2+R3 в интервале от 250 до 300 Ом). Вместо Д223 подойдут диоды Д219А, Д220А, Д220Б, КД504А; вместо КД202А — любой из этой серии. Налаживать электронный регулятор можно непосредственно на автомобиле, но лучше его предварительно проверить, подключив к регулируемому источнику питания напряжением до 14 В с небольшим уровнем пульсации (с размахом не более 0,05 В). Перед включением винт подстроечного резистора R2 вращают до упора по часовой стрелке, а к зажиму 67 и общему проводу подключают лампу накаливания (СМ28-20 или другую) на напряжение 12...27 В; Включают источник питания и вращают винт резистора R2 против часовой стрелки до зажигания лампы. После этого регулятор устанавливают на автомобиль. Вольтметром класса точности не хуже 1.5 измеряют напряжение непосредственно на выводах аккумуляторной батареи. Перед пуском двигателя проверяют напряжение между коллектором и эмиттером транзистора VT3, оно должно быть не более 0,3 В. Запускают двигатель, устанавливают среднюю частоту вращения ротора генератора и винтом резистора R2 доводят напряжение на выводах аккумуляторной батареи до требуемого уровня при 40 °С — 13,9...14 В, при 20 °С — 14,2...14,3 В. при 0 — 14.4...14.5 В. В заключение увеличивают частоту вращения ротора генератора до максимальной, напряжение на выходах батареи должно увеличиться не более чем на 0,1...0,15 В. Указанное значение несколько больше, чем обеспечивает регулятор, и обусловлено падением напряжения на проводах и контактах в цепи между плюсовым выводом аккумуляторной батареи и зажимом «15» регулятора напряжения. Кстати, по этой причине при исправной, полностью заряженной батарее в процессе езды могут наблюдаться короткие вспышки контрольной лампы на приборной панели автомобиля. Несколько экземпляров электронного регулятора прошли испытания в течение более 5 лет и показали хорошие результаты. При наружной температуре +35 °С после достижения в моторном отсеке максимальной температуры (в процессе длительной езды) напряжение на выводах батареи уменьшалось до 13,9 В, при этом ток зарядки был равен 0,7 А. При температуре —10°С напряжение повышалось до 14.4 В, а ток зарядки был в пределах 0,8...1 А. А. КОРОБКОВ |

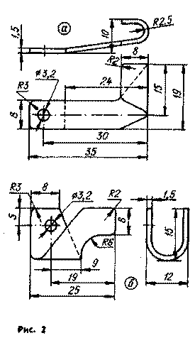
Подстроечный резистор R2 установлен на плате 1 установочным винтом наружу со стороны печатных проводников. Транзистор VT1 вклеен в отверстие платы 2. Резистор R8 - ПЭВ-10 — припаян выводами к двум латунным лепесткам (рис. 2, а и б), которые фиксированы винтами МЗ в отверстиях основания, служивших в регуляторе РР-380 для крепления резистора 5,5 Ом. Плату 1 с деталями входного узла рекомендуется устанавливать на угольник после его закрепления на основании. Затем припаивают все перемычки между платами и деталями вне плат. Перемычки изготовляют из луженого медного провода диаметром 0,5 мм.