Что-то не так?
Пожалуйста, отключите Adblock.
Портал QRZ.RU существует только за счет рекламы, поэтому мы были бы Вам благодарны если Вы внесете сайт в список исключений. Мы стараемся размещать только релевантную рекламу, которая будет интересна не только рекламодателям, но и нашим читателям. Отключив Adblock, вы поможете не только нам, но и себе. Спасибо.
Как добавить наш сайт в исключения AdBlockРеклама
Приставка для защиты ламп фар автомобиля
|
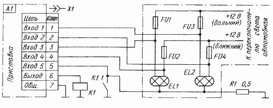
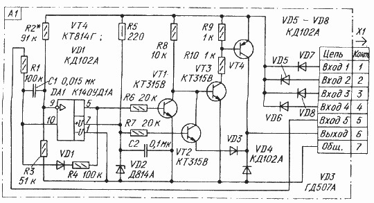
Описание принципа защиты ламп фар от перегорания и примера реализации защитного устройства уже было опубликовано в статье В. Банникова "Защита ламп фар" в "Радио", 1993, № 7, с. 33,34. Там же были указаны некоторые недостатки приставки и пути их устранения. В этой статье мы предлагаем практический вариант приставки более совершенной конструкции. В нем использовано наиболее доступное автолюбителям реле; конструктивно оно вынесено за пределы приставки, что позволило уменьшить ее габариты. В связи с вынесением реле и для увеличения пожаробезопасности приставки несколько изменена ее схема. Как и в упомянутой выше статье, здесь на рис. 1 показана схема соединений приставки с цепями ламп фар, а на рис. 2 - принципиальная схема приставки. По принципу действия приставка практически не отличается от прототипа, поэтому порядок коммутации токоограничительного резистора R1 опускаем. Выход микросхемы DA1 подключен к трехступенному усилителю мощности, собранному на транзисторах VT1, VT3, VT4. Как и в прежнем варианте приставки, выходной транзистор VT4 защищен от импульсных всплесков напряжения самоиндукций диодом VD4. Диод VD3, резистор R8 и транзистор VT2 образуют узел защиты транзистора VT4 от случайного замыкания выхода приставки (контакт 6 разъема XI) на корпус автомобиля. При замыкании выхода на корпус открывается диод VD3 и вслед за ним транзистор VT2. Базовая цепь транзистора VT3 оказывается шунтированной, и он закрывается, закрывая и транзистор VT4. Таким образом, аварийный ток замыкания ограничивается на безопасном для выходного транзистора уровне. ![]()
О назначении диодов VD5 - VD8 было подробно рассказано в упомянутой выше статье. Через них поступает напряжение питания приставки. Вместо стабилитрона во входной цепи приставки применен диод КД102А (VD1). После включения, например, дальнего света на Входы 1 и 3 (рис. 1) приставки А1 будет подано напряжение бортовой сети. Оно поступит к микросхеме DA1 и транзисторам VT1 - VT4, пройдя через диоды VD7 и VD8 (рис 2). Микросхема питается от параметрического стабилизатора напряжения R5VD2. Сигнал с Входа 5 приставки А1 подведен к неинвертирующему входу микросхемы DA1. К инвертирующему входу подключен делитель напряжения, образованный резисторами R2 и R3. Выбором номинала резистора R2 устанавливают порог срабатывания компаратора напряжения. Порог должен соответствовать примерно одной трети напряжения бортовой сети. В первый момент после включения дальнего света напряжение на неинвертирующем входе ОУ DA1 больше, чем на инвертирующем. На выходе ОУ будет высокий уровень сигнала, поэтому транзистор VT1 открыт, a VT3 и VT4-закрыты. При этом обмотка К1 реле будет обесточена, а его контакты К1.1 разомкнуты. Диод VD1 вначале открыт, поскольку напряжение на его аноде больше, чем на катоде. Однако это никак не влияет на работу ОУ DA1, поскольку, с одной стороны, напряжение на его неинвертирующем входе пока больше, чем на инвертирующем (иначе говоря, больше порогового, равного примерно 4 В при номинальном напряжении в бортсети 12 В), а с другой -протекающий через диод VD1 ток существенно ограничен резистором R4 и практически не оказывает какого-либо заметного воздействия ни на выход ОУ, ни на открытый уже транзистор VT1. После того, как напряжение на неинвертирующем входе ОУ уменьшится до напряжения на его выходе, диод VD1 закроется и не будет мешать сравнению сигналов на входах ОУ. Как только напряжение на неинвертирующем входе станет меньше порогового, ОУ переключится и на его выходе появится низкий уровень. Диод VD1 откроется, еще более уменьшая напряжение на неинвертирующем входе. Таким образом, цепь VD1R4 служит здесь для введения "гистерезиса" на срабатывание компаратора напряжения. После появления на выходе ОУ DA1 низкого уровня транзистор VT1 закроется, a VT3 и VT4 - откроются, реле К1 (рис. 1) сработает и его контактная группа К1.1 замкнет ограничительный резистор R1, переведя лампы в режим номинальной яркости свечения. Теперь напряжение на неинвертирующем Входе ОУ уменьшится почти до нуля.
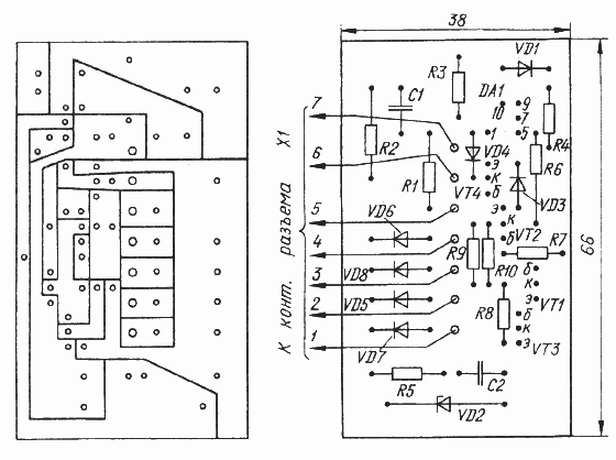
Все детали приставки размещены на печатной плате из фольгированного стеклотекстолита толщиной 1,5 мм (рис. 3). Плата изготовлена методом прорезания фольги резаком. Черными линиями на чертеже платы показаны прорезанные канавки. Несколько слов нужно сказать о проверке работы цепи VT2VD3R8 и ее элементов. Чтобы не вывести транзистор VT4 из строя еще при налаживании, следует первоначально отключить катод диода VD3 от Выхода приставки. Затем при включенных на полный свет лампах (иначе говоря, при открытом транзисторе VT4) замкнуть катод диода VD3 на общий провод. Напряжение на Выходе приставки не должно быть более 0,01 В, иначе придется заменить транзистор VT4 другим экземпляром. Убедившись, что транзистор VT4 надежно закрывается, припаивают на место вывод диода VD3. Чтобы окончательно проверить надежность срабатывания узла защиты, нужно при включенных на полный свет лампах замкнуть Выход приставки на корпус проволочной перемычкой или пинцетом. Это должно привести к переключению ламп на тусклый свет, поскольку обмотка реле при этом будет обесточена, а его контакты разомкнутся. Длительно держать приставку в таком режиме не следует, поскольку будет сильно нагреваться ограничительный резистор и не исключено разогревание транзистора VT4. Поскольку переключение ламп фар на полный свет после предварительного прогрева нитей происходит при упомянутом пороговом напряжении ОУ, нужно четко представлять, из каких соображений этот параметр должно выбирать. Оказывается, важно, чтобы при отключенной от Выхода приставки А1 обмотке К1 реле или отключенной от резистора R1 контактной группе К1.1 (рис. 1) напряжение на инвертирующем входе ОУ DA1 было бы наверняка больше (примерно на 25%), чем на неинвертирующем. При измерении же напряжения на неинвертирующем входе достаточно лишь замкнуть обмотку реле К1. Измерять нужно вольтметром с высоким входным сопротивлением. Подключаемые к вольтметру провода должны быть экранированы, иначе возможно возникновение наводок, отрицательно влияющих на работу устройства. Цепь VD1R4 на время измерений следует временно отключить. В устройстве использовано автомобильное реле 111.3747. Оно снабжено крепежным кронштейном, что позволяет монтировать его в любом удобном месте. При отсутствии такого реле можно использовать и другое - об этом подробно рассказано в упомянутой выше статье. Там же изложены соображения по изготовлению токоограничительного резистора R1 (рис. 1). Правильно отрегулированная приставка обеспечивает почти мгновенное, практически незаметное на глаз переключение ламп на полный накал при напряжении бортовой сети 14 В (типичное значение для движущегося исправного автомобиля). С понижением напряжения задержка переключения ламп будет автоматически увеличиваться из-за того, что их нити прогреваются дольше. Так, при напряжении 10 В задержка переключения достигнет примерно 0,3 с. Хотя такую задержку глаз уже способен заметить, столь низкое напряжение в бортовой сети бывает, как правило, только у автомобиля с неработающим двигателем. В. БАННИКОВ |
