Что-то не так?
Пожалуйста, отключите Adblock.
Портал QRZ.RU существует только за счет рекламы, поэтому мы были бы Вам благодарны если Вы внесете сайт в список исключений. Мы стараемся размещать только релевантную рекламу, которая будет интересна не только рекламодателям, но и нашим читателям. Отключив Adblock, вы поможете не только нам, но и себе. Спасибо.
Как добавить наш сайт в исключения AdBlockРеклама
Квазианалоговый тахометр
|
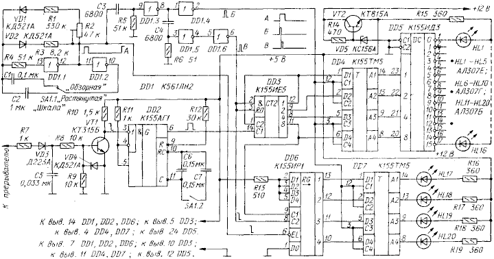
В процессе эксплуатации автомобиля нередко возникают ситуации, когда желательно контролировать частоту вращения коленчатого вала двигателя. К сожалению, не все модели автомобилей оснащены специальным прибором для этой цели — тахометром. Попыткой использовать удобство цифрового способа измерения частоты вращения и одновременно обойти трудности, связанные с цифровой индикацией результата, является комбинированный прибор, представляющий собой сочетание цифрового измерителя с дискретно-аналоговой, чаще всего светодиодной шкалой. На рис. 1 представлена принципиальная схема такого квазианалогового тахометра. ![]() Генератор тактовых импульсов выполнен на элементах DD1.1, DD1.2. Соотношение значений длительности импульсов высокого уровня и пауз между ними равно 1 мс:75 мс. Длительность импульса определяет резистор R5, а длительность паузы зависит от сопротивления цепи R4R6. С выхода генератора импульсы поступают в формирователь импульсов обнуления счетчика DD3, выполненный на инверторах DD1.3—DD1.5 и дифференцирующей цепи R7C4. Импульсы с датчика, в качестве которого использованы контакты прерывателя системы зажигания, поступают через делитель напряжения R8R9 и инвертор DD1.6 на вход одновибратора DD2, формирующего по фронту входных импульсов импульсы длительностью 4 мс. Выходные импульсы одновибратора подсчитывает счетчик 003, запуск и обнуление которого выполняют импульсы с выхода формирователя на элементах DD1.3 — DD1.5. Временной интервал счета равен длительности паузы между запускающими импульсами. По фронту импульсов (с выхода элемента DD1.2) срабатывает “защелка” D-триггеров, составляющих микросхему DD4, и зафиксированный логический уровень выходных сигналов счетчика передается на входы дешифратора DD5. Нагрузками выходов дешифратора служат светодиоды — элементы квазианалоговой шкалы прибора. В течение времени измерения триггерная защелка удерживает зафиксированное состояние счетчика. Рабочий диапазон частоты вращения коленчатого вала двигателя от нуля до максимума поделен на 16 одинаковых частей. Для автомобиля с четырехтактным четырехцилиндровым двигателем при максимальной частоте N = 6400 об/мин — цена “деления” шкалы равна N/16 = 400 об/мин. Частота f следования импульсов с датчика равна f =2n/60 =13,3 Гц, что соответствует периодичности поступления сигналов Т = 75 мс — это значение и является временем (длительностью) измерения. Для удобства контроля за работой двигателя шкала тахометра разделена на три сектора, соответствующих низким, средним и высоким значениям частоты вращения коленчатого вала. Соответственно в первом секторе использованы светодиоды желтого свечения, в среднем — зеленого,а в последнем — красного.
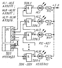
Элементы устройства монтируют на печатной плате (рис. 2) из одностороннего фольгированного стеклотекстолита толщиной 2 мм. Транзистор VT1 крепят к теплоотводящей пластине, изготовленной из латуни или дюралюминия. Она должна быть изолирована от корпуса. Диоды VD2, VD3 могут быть любыми маломощными кремниевыми. Все постоянные резисторы — МЛТ-0,125, подстроенный резистор R4—СПЗ-22а. Конденсатор С1— К50-6, остальные — КМ. Правильно собранное устройство не требует налаживания. Необходимо только убедиться а работоспособности функциональных узлов и переменным резистором R6 установить длительность паузы между генерируемыми импульсами высокого уровня равной 75 мс. Оформление шкалы тахометра может быть различным. Например, светодиоды можно разместить в виде горизонтальной или вертикальной линейки. Эффектно выглядит и круговая шкала, как у механического тахометра. ЛИТЕРАТУРА В. ЧУДНОВ Линейная шкала
Вместо К555ЛИ2 в тахометре допустимо применить микросхемы К555ЛИ1 или К155ЛИ1. В связи с тем, что в линейной шкале при работе тахометра будет одновременно включена группа из нескольких светодиодов (вплоть до 16), стабилизатор потребуется соответственно умощнить. После доработки выходного узла тахометра так как описано выше, шкала будет работать подобно примеру на анимационном рисунке 2.
Модернизация квазианалогового тахометра Прибор, описанный в статье В. Чуднова “Квазианалоговый тахометр” (“Радио”, 1992, № 8, с.25. 26), на мой взгляд, следует считать удачной в целом попыткой создания полезного для автолюбителей бортового указателя. Вместе с тем очевидно, что дискретность индикации частоты вращения, равная 400 об/мин, позволяет составить лишь общее представление о динамике работы двигателя. Такая дискретность менее всего соответствует режиму малых и средних оборотов коленчатого вала двигателя, когда особенно важно знать истинное значение параметра для налаживания экономайзера, регулятора опережения зажигания и пр. Потому было бы желательно уменьшить дискретность шкалы, скажем до 50 об/мин, без существенного схемного усложнения устройства. Для этого я предлагаю весь интервал измерения разбить на несколько “растянутых” участков. Один из возможных схемных вариантов реализации такой идеи представлен ниже. Основное его отличие от прототипа состоит в добавлении узда подсчета числа переносов информации со счетчика DD3 в регистр хранения DD4 (см.схему). Узел составлен из сдвигового регистра DD6 и еще одного регистра хранения DD7 с индикаторами HL17— НL20. Тумблер SA1 служит для выбора шкалы прибора - “Обзорной” или “Растянутой”. Для синхронизации работы узлов устройства потребовалось сформировать еще одну последовательность импульсов. Дополнительный формирователь образуют цепь С4R6 и инверторы DD1.5 и DD1.6.
Длительность импульсов низкого уровня на выходе задающего генератора (DD1.1 и DD1.2) для обзорного режима устанавливают равной 60 мс вместо 75 мс резистором R2 и выбором времязадающих элементов С1R1. Дискретность индикации будет равна 500 об/мин, а работа устройства — полностью соответствовать описанию прототипа. Правда, верхний предел измерения частоты вращения увеличится до 8000 об/мин, т. е. период следования импульсов с датчика искрообразования будет меньше 4 мс, поэтому длительность выходных импульсов одновибратора DD2 в обзорном режиме установлена равным 3 мс (выбором элементов R12С6). Длительность импульсов высокого уровня на выходе А задающего генератора может быть произвольной (в рассматриваемом случае около 1 мс), но необходимо соблюдение условия: суммарная длительность импульсов высокого уровня на выходе инверторов DD1.4 и DD1.6 (об этом еще будет сказано) должна быть меньше. При переходе на растянутую шкалу емкость времязадающего конденсатора в генераторе увеличивается в 10 раз — контактная группа SA1.1 вместо конденсатора С1 подключает С2. Таким образом, длительность выходных импульсов низкого уровня, а именно они определяют время измерения, будет теперь равно 600 мс, дискретность индикации уменьшится до 50 об/мин. Счетчик DD3 будет переполняться при частоте вращения коленчатого вала около 800 об/мин и формировать сигнал переноса в виде минусового перепада напряжения на выходе 8. Поскольку этот выход соединен со входом С1 сдвигового регистра DD6, при низком уровне на входе EL регистра в нем произойдет сдвиг информации так, что в младшем разряде установится уровень, действующий на входе D0 — в нашем случае низкий, что удобно для последующей индикации. Таким образом, сдвиговый регистр способен запомнить четыре переноса со счетчика, и на его выходах последовательно установится низкий уровень. Если переполнений счетчика было, например, всего два, то на выходах 1 и 2 будет низкий уровень, а на остальных двух — высокий, так как предварительно в сдвиговый регистр записаны единицы. Когда на выходе А генератора низкий уровень сменится высоким, будет запрещен (по входу EL) сдвиг информации в регистре DD6. По этому же плюсовому перепаду на выходе генератора инвертор DD1.4 сформирует импульс Б высокого уровня длительностью, определяемой элементами С3, R5. С небольшой задержкой на выходе инвертора DD1.6 будет сформирован импульс В, длительность которого определена элементами С4, R6. По высокому уровню импульса Б происходит перезапись информации со сдвигового регистра в запоминающий регистр DD7 и со счетчика в запоминающий регистр DD4. Плюсовой перепад импульса В переключает счетчик DD3 в нулевое состояние, а последующий минусовой устанавливает высокий уровень на выходах сдвигового регистра DD6, так как на его входы D1 - D4 подан сигнал 1. Прибор готов для измерения очередного значения частоты вращения. Светодиоды HL1 — HL16 отражают состояние счетчика DD3, зафиксированное в регистре DD4, а HL17—HL20 — число переполнений счетчика (число переносов), т. е. указывают на участок измерительного интервала, соответствующий текущему значению частоты. Таким образом, если ни один из светодиодов HL7— HL20 не светит, то измерение происходило на первом участке — до 799 об/мин; если светит только HL17 — на втором участке — 800...1599 об/мин; HL17 и HL18 1600...2399 об/мин. Свечение всех четырех светодиодов соответствует участку 3200... 3999 об/мин. Оказывается “растянутым” самый интересный интервал частоты вращения коленчатого вала двигателя. Остальное можно просмотреть и на “Обзорной” шкале. Следует обратить внимание на формирование запускающих импульсов из импульсов, поступающих с прерывателя. Дело в том, что одновибратор DD2 устраняет последствия “дребезга” контактов прерывателя только при их размыкании. У механического прерывателя “дребезг” возникает и при замыкании контактов. Поэтому необходимо дополнительно формировать запускающий импульс интегрирующей цепью R7VD3С5 и инвертором на транзисторе VT1. Для более надежного подавления “дребезга” контактов на “Растянутой” шкале длительностью задержанного импульса с выхода одновибратора DD2 желательно увеличить до 60 мс подключением дополнительного конденсатора С7 секцией SA1.2 переключателя, так как измеряемая частота вращения коленчатого вала двигателя в этом режиме не превышает 4000 об/мин. А.МАСЛОВ |

Тахометр питается от бортовой сети напряжением 12В; потребляемый ток — около 120 мА. Стабилизатор напряжения выполнен по параметрической схеме с усилителем тока на транзисторе VT1. Образцовое напряжение формирует стабилитрон VD1. Конденсаторы фильтра С1 и С2 подавляют помехи, проникающие из бортовой сети автомобиля. Фильтрации помех следует уделить серьезное внимание, так как они способны приводить к ложным срабатываниям прибора.
В журнале “Радио”, 1992, №8 была напечатана статья В.Чуднова о квазианалоговом автомобильном тахометре. Путем несложной доработки выходного узла тахометра можно получить “линейную” шкалу. Между светодиодами и дешифратором DD5 нужно включить логические элементы 2И с открытым коллектором. В цепь светодиодов включают по токоограиичительному резистору, подборкой которых можно сбалансировать, если необходимо, яркость отдельных участков и точек шкалы.