Что-то не так?
Пожалуйста, отключите Adblock.
Портал QRZ.RU существует только за счет рекламы, поэтому мы были бы Вам благодарны если Вы внесете сайт в список исключений. Мы стараемся размещать только релевантную рекламу, которая будет интересна не только рекламодателям, но и нашим читателям. Отключив Adblock, вы поможете не только нам, но и себе. Спасибо.
Как добавить наш сайт в исключения AdBlockРеклама
Сетевой адаптер для пейджера
|
В отличие от мобильных (сотовых, транковых) телефонов, питающихся от перезаряжаемых аккумуляторных батарей, пейджеры работают на гальванических элементах, и требуется достаточно частая их замена. Так, например, распространенный пейджер Motorola Adviser потребляет в дежурном режиме ток 1...2 мА, а в режиме приема сообщений — более 10 мА. При круглосуточной работе пейджера алкалиновые (щелочные) элементы серии ААА (типоразмер LR03, SUM4, MN2400) разряжаются примерно за месяц, а солевые — менее чем за неделю. В тех случаях, когда пойджер используется большей частью стационарно — в квартире без телефона или на даче — можно сократить расходы на его эксплуатацию. Для этого мною был применЈн простейший стабилизированный блок питания (БП) на напряжение 1,5 В, включаемый в электросеть.
Устройство собирается в корпусе любого адаптера от бытовой РЭА и соединяется двухпроводным шнуром с пейджерам. В качестве сетевого может быть применен малогабаритный трансформатор Т1 (рис.1) со вторичной обмоткой на напряжение 3...5 В. Желательно использовать трансформатор с малым холостым током (не более 5 мА), что существенно снижает нагрев сердечника при длительной работе. Если переменное напряжение на вторичной обмотке превышает 5 В, следует отмотать некоторое количество витков. Эта операция обычно не вызывает затруднений, если вторичная обмотка расположена сверху или на отдельной секции каркаса. Для облегчения работы, предварительно измерив напряжение холостого хода U2, отматывают от вторичной обмотки 10 витков и вновь измеряют напряжение U2' (отмотанный кусок можно пока не отрезать). Разность между первым и вторым измерениями (U2-U2') делят на 10. Полученный результат является числом вольт (или долей вольта) на один виток обмотки данного трансформатора (В/вит). Такая величина часто встречается в расистах силовых трансформаторов, так же как и обратная ей единица — число витков на 1 В, Получив указанный результат, легко рассчитать, сколько витков следует отмотать от вторичной обмотки. Мостовой выпрямитель собирается на четырех малогабаритных кремниевых диодах типовД219, Д220, КД103, КД503, КД522 и т.д. Очень удобно применять маломощные диодные сборки (КЦ407, КЦ412). Если для переделки взят готовый БП (адаптер), используется его "штатный" выпрямитель, или, возможно, стабилизатор постоянного напряжения (СН). На выходе выпрямителя должен быть включен сглаживающий конденсатор С1, емкость которого некритична (500...1000 мкФ), а рабочее напряжение — 10...16 В. В тех случаях, когда СН отсутствует, его следует собрать по одной из предлагаемых схем. Простейший параметрический стабилизатор содержит стабилитрон (стабистор) VD2 и гасящий (балластный) резистор R1. В отличие от стабилитрона, работающего в области пробоя на обратной ветви вольтамперной характеристики, стабистор работает как обычный диод — на прямой ветви. Как известно, падение напряжения на диоде, включенном в прямом направлении, относительно постоянно при изменении тока через него. Для кремниевых диодов это напряжение близко к 0,7 В, а у германиевых — 0,2...0,5 В. Чтобы получить стабилизированное напряжение 1,5 В, в схеме применен стабистор типа КС-11ЗА (Uст=1,3 В), последовательно с которым включен маломощный германиевый диод VD3 (Д311). Падение напряжения на диоде составляет около 0,3 В, а в сумме выходное напряжение ненагруженного стабилизатора составляет 1,5...1,6 В — в зависимости от экземпляра стабистора. При подключении пейджера напряжение колеблется в пределах 1,3...1,5 В.
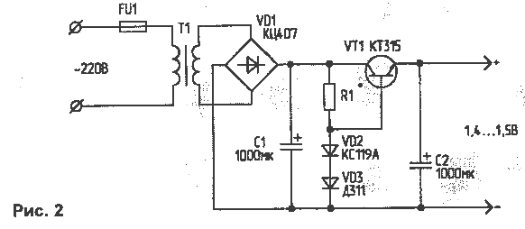
Второй вариант параметрического стабилизатора получен добавлением к рассмотренной схеме эмиттерного повторителя на маломощном биполярном транзисторе (рис.2). Благодаря тому что нагрузка (пейджер) отделена транзистором VT1 от стабилизирующей цепи VD2, VD3, стабильность выходного напряжения повышается, а ток через стабилитроны или стабисторы может быть уменьшен. В качестве эмиттерного повторителя может быть использован любой малогабаритный кремниевый п-р-п транзистор, например КТ201М, КТ301, КТ315 и др. На переходе эмиттер-база кремниевого транзистора падает такое же напряжение, как на обычном диоде. Это напряжение вычитается из стабилизированного напряжения, подаваемого в базовую цепь VT1. Следовательно, напряжение стабилизации необходимо увеличить путем замены стабистора КС113А на КС119А (Ucт=1.9 В). Усовершенствованный СН обеспечивает напряжение под нагрузкой в пределах 1.4,.,1,5 В.
Третий, наиболее совершенный вариант стабилизатора может быть собран на одной из отечественных интегральных микросхем — КР1157ЕН1, КР1168ЕН1, а также на их зарубежных аналогах —LM317L,LM337L. Все перечисленные ИМС выпускаются в малогабаритных трехвыводных пластмассовых корпусах КТ-26 (ТО-92). Эти микросхемы представляют собой компенсационные стабилизаторы с регулируемым выходным напряжением, начиная от 1,2...1,24 В. Полная схема стабилизатора содержит, кроме ИМС DA1, два резистора, один из которых — подстроечный (рис.3). После установки Uвых подстроечный резистор R2 можно заменить постоянным. Выходное напряжение СН поддерживается на уровне 1,5 В при любых колебаниях тока, потребляемого пейждером.
При испытании адаптера оказалось, что в моменты некоторых переключении (при нажатии кнопок) изображение на табло пейджера исчезает и появляется вновь спустя 2..3 с. Это объясняется тем, что ток, измеряемый миллиамперметром, является усредненным, в то время как короткие импульсы при срабатывании кнопок значительно превышают его. В моменты действия импульсов тока стабилизатор выходит из режима стабилизации, и напряжение на его выходе резко падает, в результате чего пейджер отключается. Чтобы устранить этот недостаток, достаточно включить на выходе СН накопительный конденсатор С2 емкостью 1000...2000 мкФ с рабочим напряжением 6,3 В. Цилиндрический оксидный (старое название — электролитический) конденсатор подойдет в качестве вставки. Для этого нужны конденсаторы в корпусах с выводами в противоположные стороны, например К50-15, К50-24, К50-29. К50-31 и т.д. На выводы конденсатора надеваются утолщенные шайбы или гайки, чтобы получить необходимую длину вставки. Поверх гаек выводы загибаются, и к ним припаиваются свитые проводники. После указанной доработки мой пейджер работает стабильно, без отключений. В. БРУСКИН |
Чтобы не вмешиваться в схему пейджера. в отсек элемента питания помещается специальный вкладыш, соответствующий по форме и размеру элементу ААА. Вставка представляет собой неметаллический стержень (пластмасса, дерево и т.д.) длиной 37...38 мм диаметром 9...10 мм (рис.4). Проще всего использовать деревянную палочку подходящего размера, В обоих торцах стержня сверлят отверстия 2,5 мм, в которых нарезается резьба МЗ. Глубина отверстия и длина резьбы зависят от материала вставки и подобранных винтов. На винты надеваются контактные лепестки, к которым припаиваются гибкие свитые провода, например марки МГТФ. Чтобы различать полярность напряжения, можно сделать фломастерами разноцветные метки на концах стержня. Можно также использовать винты с различными формами головок: со стороны минуса — цилиндрической, с плюсовой — полукруглой.