Что-то не так?
Пожалуйста, отключите Adblock.
Портал QRZ.RU существует только за счет рекламы, поэтому мы были бы Вам благодарны если Вы внесете сайт в список исключений. Мы стараемся размещать только релевантную рекламу, которая будет интересна не только рекламодателям, но и нашим читателям. Отключив Adblock, вы поможете не только нам, но и себе. Спасибо.
Как добавить наш сайт в исключения AdBlockРеклама
Блок питания УМЗЧ
|
В последнее время вместо традиционных выпрямителей с сетевыми трансформаторами для питания бытовой радиоаппаратуры все чаще используют так называемые импульсные источники. Достоинства таких устройств очевидны - это экономичность (высокий КПД), компактность, малая масса. По сравнению с традиционными импульсные источники питания мощных усилителей ЗЧ имеют в три-четыре раза меньшие габариты и массу и более высокий КПД. Отметим, что повышенный КПД источника питания выгоден не только из-за экономии электроэнергии, но и с точки зрения облегчения теплового режима усилителя ЗЧ и связанного с ним улучшения его параметров и увеличения срока службы транзисторов. У радиолюбителей давно уже выработался некий стереотип подхода к проектированию блоков питания бытовой радиоаппаратуры. В большинстве случаев их строят по традиционной структурной схеме: трансформатор питания - выпрямитель - сглаживающий фильтр и (довольно часто) - стабилизатор напряжения. Однако такая структура блока питания целесообразна только в усилителях ЗЧ с выходной мощностью, не превышающей 30...50 Вт. При большей выходной мощности традиционные блоки питания оказываются слишком громоздкими и тяжелыми. Возможный выход из положения в подобных случаях - применение блока питания с преобразователем напряжения. По сравнению с традиционным он имеет значительно меньшие габариты и массу и более высокий КПД, что позволяет не только сэкономить электроэнергию, но и облегчить тепловой режим усилителя.
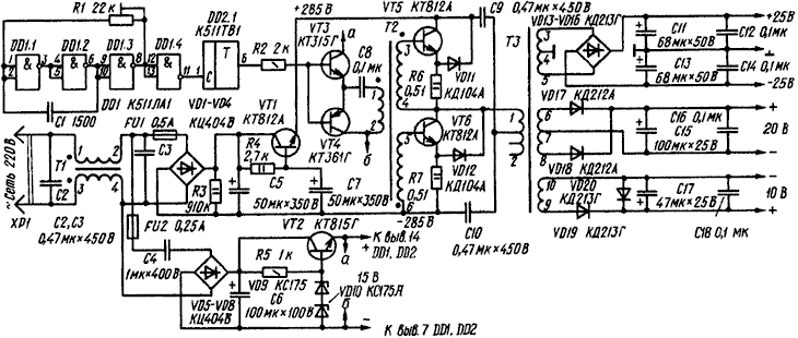
Структурная схема такого блока питания показана на рис.1. Через включенный на входе фильтр Z1 сетевое напряжение поступает на выпрямители UZ1 и UZ2. Фильтр Z1 исключает попадание высокочастотных помех в сеть переменного тока. Выпрямитель UZ1 преобразует сетевое напряжение в сравнительно высокое (около 310 В) постоянное напряжение, которое поступает далее на транзисторный фильтр Z2, уменьшающий пульсации выпрямленного напряжения. К выходу этого фильтра подключен высокочастотный преобразователь напряжения U1. Частоту преобразования и форму колебаний задает генератор прямоугольных импульсов G1, питающийся от выпрямителя UZ2 через сглаживающий фильтр Z3 и стабилизатор напряжения U2. С целью уменьшения габаритов и массы устройства частота преобразования выбрана довольно высокой (100 кГц). С выхода преобразователя через понижающий трансформатор прямоугольное напряжение поступает ив выходные выпрямители UZ3, сглаживающие фильтры Z4 и далее на нагрузку. Основные технические характеристики блока питания следующие: напряжение питания - 200...240 В, выходные напряжения - ±25, 20 и 10 В при токах нагрузки соответственно 3, 1 и 3 А; КПД - 0,75.
Принципиальная схема устройства показана на рис.2. Функции сетевого фильтра выполняют элементы С2, Т1, С3. Выпрямитель преобразователя напряжения - двухполупериодный мостовой на диодах VD1-VD4, транзисторный фильтр образован элементами R3, С5, R4, VT1, С7. Он уменьшает пульсации выпрямленного напряжения частотой 100 Гц в 125 раз, что необходимо для предотвращения модуляции ими прямоугольного напряжения высокочастотного преобразователя. Последний выполнен на транзисторах VT5, VT6. Через понижающий трансформатор Т3 его выходное напряжение поступает на двухполупериодные выпрямители VD13-VD16; VD17, VD18 и VD19, VD20. Пульсации выпрямленных напряжений сглаживают конденсаторы С11-С18. Задающий генератор собран на элементах микросхемы DD1. Подстроечным резистором R1 частоту следования его импульсов можно изменять в пределах от 100 до 200 кГц. Триггер DD2.1 формирует из них импульсы с более крутыми фронтами и вдвое меньшей частотой следования. С преобразователем напряжения генератор связан через комплементарный эмиттерный повторитель на транзисторах VT3, VT4 и трансформатор Т2. Питание на задающий генератор поступает через выпрямитель (VD5-VD8) и стабилизатор напряжения (VT2, R5, VD9, VD10). Избыток сетевого напряжения гасит конденсатор С4. Конструкция и детали. В блоке питания могут быть использованы любые подходящие по габаритам и параметрам резисторы и конденсаторы. Вместо транзисторов КТ812А можно применить КТ809А или КТ704Б. Статические коэффициенты передачи тока h21э транзисторов VT5, VT6 должны быть примерно одинаковыми. Заменять микросхемы серии К511 какими-либо другими не рекомендуется, поскольку они менее всего подвержены действию высокочастотных помех и позволяют получить довольно большой (около 13 В) размах испульсов на выходе триггера. В крайнем случае можно воспользоваться микросхемами серии К155, однако это потребует дополнительного усиления импульсов, подаваемых на базы транзисторов VT3, VT4. Не следует заменять и диоды КД213Г и КД212А, так как они имеют довольно высокую граничную частоту (около 100 кГц), позволяющую выбрать такую же частоту преобразования и, как следствие этого, уменьшить габариты выходного трансформатора Т3 и поднять КПД блока питания. Трансформатор сетевого фильтра Т1 выполнен на кольцевом магнитопроводе типоразмера К20х10х5 из феррита М2000НМ-3, обе его обмотки содержат по 17 витков провода МГТФ 0,5. Магнитопровод трансформатора преобразователя Т2 - К16х8х6 из феррита М2000НН-1, все его обмотки намотаны в три провода (ПЭЛШО 0,12) и содержат по 90 витков. В выходном трансформаторе Т3 использован магнитопровод К38х24х7 из такого же материала. Его обмотки 1-2, 3-4-5 и 9-10 содержат соответственно 30+5+5; 5+5 и 2 витка провода ПЭВ-2 1,0, обмотка 6-7-8 - 4+4 витка провода ПЭВ-1 0,6. Все обмотки равномерно распределяют по кольцу и тщательно закрепляют, а для исключения межобмоточных замыканий отделяют одну от другой фторолластовой пленкой. Мощные транзисторы VT2, VT5, VT6 размещены на трех теплоотводах с площадью охлаждающей поверхности 65 см2 каждый. При сборке нужно стремиться к тому, чтобы все соединения были возможно короче. Сам блок питания необходимо поместить в экран из пермаллоя. Налаживание устройства начинают с генератора прямоугольных импульсов. Вынув предохранитель FU1 и включив питание, с помощью осциллографа проверяют наличие противофазных прямоугольных импульсов на обмотках 3-4 и 5-6 трансформатора Т2. Затем подстроенным резистором R1 устанавливают частоту импульсов 100 кГц. После этого вставляют предохранитель на место, проверяют наличие и амплитуду импульсов на вторичных обмотках трансформатора Т3 и измеряют выходные напряжения блока питания. При необходимости их можно понизить подключением дополнительных секций обмотки 1-2. Следует, однако, иметь в виду, что в этом случае снизится и КПД блока питания. Габариты описанного устройства - 220х100х37 мм (объем 0,8 дм3), масса - 1 кг. Блок питания такой мощности, построенный по традиционной схеме, имеет в три раза больший объем и в четыре раза большую массу. В. ЖУЧКОВ |