Что-то не так?
Пожалуйста, отключите Adblock.
Портал QRZ.RU существует только за счет рекламы, поэтому мы были бы Вам благодарны если Вы внесете сайт в список исключений. Мы стараемся размещать только релевантную рекламу, которая будет интересна не только рекламодателям, но и нашим читателям. Отключив Adblock, вы поможете не только нам, но и себе. Спасибо.
Как добавить наш сайт в исключения AdBlockРеклама
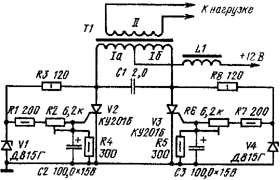
Тринисторный преобразователь тока
|
На мой взгляд схема заслуживает внимания своей Схема простого тринисторного преобразователя постоянного тока релаксационного типа изображена на рисунке. В момент включения питания тринисторы V2 и V3 закрыты, а конденсаторы С1 — С1 разряжены. Конденсаторы С2 и С3 начинают заряжаться, и в некоторый момент откроется один из тринисторов (какой именно зависит в первую очередь от постоянных времени зарядки конденсаторов С2, С3). Предположим, что первым откроется тринистор V2. Через него потечет ток, определяемый сопротивлением обмотки 1а и током заряда конденсатора С1. Конденсатор С2 разряжается через управляющий переход тринистора и резистор R4. После открывания тринистора V2 напряжение на аноде тринистора V3 резко уменьшается и по мере заряда конденсатора С1 начинает постепенно увеличиваться. Тем временем конденсатор С3 продолжает заряжаться, и, наконец, наступает момент, когда откроется тринистор V3. Напряжение за ряженного конденсатора С1 в обратной полярности будет приложено через малое прямое сопротивление открытого тринистора V3 к тринистору V2, и последний закроется. Начинается новый цикл: конденсатор С1 снова заряжается, но уже через тринистор V3. При этом конденсатор С3 разряжается, а С2 заряжается. Затем снова открывается тринистор V2 и процесс повторяется. При работе устройства через полуобмотки 1a и 1б протекают импульсы тока, поэтому ток во вторичной обмотке представляет собой последовательность симметричных импульсов, по форме близких к прямоугольным. Частота выходного напряжения и его форма зависят как от параметров времязадающих цепей запуска тринисторов, так и от напряжения питания, поэтому напряжение питания цепи заряда конденсаторов С2 и С3 стабилизировано при помощи стабилитронов V1, V4. Как показала проверка, при изменении напряжения питания на 30% частота изменяется не более чем на 6%.
Дроссель L1 повышает устойчивость работы инвертора, улучшает форму выходного напряжения. Емкость коммутирующего конденсатора С1 следует выбирать в зависимости от тока через тринисторы. При токе не более 0,5 А достаточна емкость 2 мкф, при токе до 2 А необходимо применять конденсатор емкостью около 20 мкф. Конденсатор должен допускать работу при изменении полярности напряжения с амплитудой, в два раза превышающей напряжение питания. Работоспособность устройства сохраняется при изменении напряжения питания в пределах от 12 до 24 В, требуется лишь подобрать положения движков подстроенных резисторов для сохранения рабочей частоты. Частоту генерации можно изменять от десятков герц до 1 кГц. Если не требуется стабилизации частоты, резисторы R3 и R8 и стабилитроны можно исключить из устройства. Устройство испытано с трансформатором Т1, собранным на магнитопроводе Ш20Х30. Обмотка I содержит 2х160 витков провода ПЭВ-2 0,35, обмотка II, рассчитанная для питания нагрузки напряжением около 60 В,— 780 витков провода ПЭВ-2 0,25. Дроссель содержит 350 витков провода ПЭВ-2 0,35, намотанного на таком же магнитопроводе. При этом рабочая частота генерации была равна 50 Гц. Выходная мощность около 10 Вт. Мощность преобразователя можно увеличить, заменив тринисторы серии КУ201 на КУ202. При активной нагрузке необходимость в трансформаторе Т1 и дросселе L1 отпадает. Так, например, лампы накаливания трансформатора включают вместо полуобмоток Iа и Iб. Е. ЯКОВЛЕВ |