Что-то не так?
Пожалуйста, отключите Adblock.
Портал QRZ.RU существует только за счет рекламы, поэтому мы были бы Вам благодарны если Вы внесете сайт в список исключений. Мы стараемся размещать только релевантную рекламу, которая будет интересна не только рекламодателям, но и нашим читателям. Отключив Adblock, вы поможете не только нам, но и себе. Спасибо.
Как добавить наш сайт в исключения AdBlockРеклама
Стабилизаторы напряжения. Теория.
|
При изменениях напряжения сети и тока нагрузки выходное напряжение выпрямителя также изменяется, причем иногда значительно. В ряде случаев (например, при питании оконечного каскада УМЗЧ) это вполне допустимо, а вот, скажем, для радиоприемников, генераторов и других радиоэлектронных устройств напряжение должно быть стабильным при изменении тока нагрузки. Здесь без стабилизатора не обойтись. Одновременно этот прибор выполняет и другую функцию - снижает до минимума пульсации питающего напряжения.
При питании маломощных устройств часто обходятся таким простейшим стабилизатором, снимая выходное напряжение со стабилитрона. При расчете по данной формуле ток I должен включать в себя как ток стабилитрона (обычно 5...20 мА), так и ток нагрузки (такого же порядка). При большем токе нагрузки используют дополнительный транзистор VT1, включенный как эмиттерный повторитель (рис. 68,б). Он "повторяет" на нагрузке стабилизированное напряжение базы. Выходное напряжение Uст примерно на 0,7 В (падение напряжения на переходе база-эмиттер) меньше паспортного напряжения стабилизации стабилитрона. При больших токах нагрузки используют составной транзистор.
Поскольку управляющий сигнал вырабатывается из уже стабилизированного выходного напряжения, параметры стабилизатора при простой схеме получаются довольно высокими. Дополнительное достоинство стабилизатора в том, что он не боится коротких замыканий на выходе - при КЗ пропадает и управляющее напряжение, в результате чего оба транзистора закрываются. Ток срабатывания защиты зависит в основном от тока стабилитрона, который подбирают резистором R1. Конструкций стабилизаторов напряжения много, но все они обладают существенным недостатком - входное напряжение должно быть выше выходного стабилизированного, при одном и том же токе, в итоге часть мощности выпрямителя превращается в тепло и рассеивается на теплоотводе регулирующего транзистора. Этот недостаток устранен в импульсных стабилизаторах, имеющих высокий КПД. Традиционные блоки питания с низкочастотным трансформатором, выпрямителем и стабилизатором просты, надежны, практически не создают помех, но при большой выходной мощности имеют значительные габариты, массу и низкий КПД. Эти недостатки особенно заметны при больших мощностях. Размеры и масса трансформатора, а также емкости сглаживающих конденсаторов уменьшаются при повышении частоты питающей сети. В связи с этим некоторые местные электросети, особенно военного назначения, имеют повышенную частоту (400 Гц).
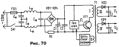
В бытовой аппаратуре, в частности в современных телевизорах и компьютерах, используют импульсные блоки питания (рис. 70), принцип действия которых состоит в следующем. Сетевое напряжение 220 В выпрямляется диодным мостом VD1- VD4. Получившееся постоянное напряжение примерно 300 В подается на генератор, вырабатывающий последовательность импульсов, питающих малогабаритный импульсный трансформатор Т1 на магнитопроводе из феррита. Он и обеспечивает гальваническую развязку питаемой аппаратуры от сети. Чтобы уменьшить проникновение импульсных помех в питающую сеть, обязательно устанавливают фильтр, содержащий дроссели Lф и конденсаторы Сф. Резистор R1 нужен для ограничения тока через диоды выпрямителя в момент включения, когда оксидный конденсатор С1 (емкостью до 100 мкФ и более) еще не заряжен. Керамический конденсатор С2 значительно меньшей емкости уменьшает высокочастотные пульсации выпрямленного напряжения при работе генератора. Мощный высоковольтный транзистор VT1 работает в ключевом режиме с высоким КПД. Он открывается импульсами генератора и создает ток в первичной обмотке трансформатора. Импульсное напряжение со вторичных обмоток (III и IV) выпрямляется и сглаживается. Еще одна обмотка (II) питает цепь стабилизации, которая управляет длительностью и/или частотой импульсов так, чтобы напряжения U1 и U2 были стабилизированы. Более подробное описание импульсных блоков питания можно найти в журнальных статьях и специальной литературе. В мощных импульсных блоках питания используют и двухтактные генераторы и выпрямители. Генераторы импульсов и цепи стабилизации (обозначенные прямоугольниками на рис. 70) теперь часто выполняют в виде готовых интегральных схем.
Ключевой транзистор VT1 включается короткими импульсами от задающего генератора. Ток в дросселе L1 нарастает за время импульса до сравнительно большого значения (порядка тока нагрузки). Когда же по окончании импульса транзистор закрывается, ток в дросселе продолжает протекать через открывшийся диод VD1 до начала следующего импульса. При этом расходуется энергия, запасенная в магнитном поле дросселя. Цепь стабилизации регулирует длительность или частоту повторения импульсов так, чтобы выходное напряжение оставалось неизменным. Например, при возрастании выходного напряжения длительность импульсов уменьшается. Учитывая, что импульсные стабилизаторы создают помехи, они требуют хорошей фильтрации напряжения на входе и выходе. В. ПОЛЯКОВ |
Основа простейшего стабилизатора (рис. 68,а) - цепочка из резистора R1
и стабилитрона VD1. Стабилитрон - это специальный диод, включенный в обратной
полярности и работающий в режиме лавинного обратимого пробоя. Если повышать
обратное напряжение на стабилитроне, то сначала ток будет небольшим, а по
достижении напряжения стабилизации (об этом указывается в справочных данных)
резко возрастет. Чтобы ограничить возрастание тока через стабилитрон, его
включают через резистор R1 (это так называемый балластный резистор).
Рассчитывают ток через стабилитрон по формуле I = (Uвх - Uст)/R. Таким образом,
входное напряжение должно быть всегда больше выходного, стабилизированного.
Схема более совершенного стабилизатора приведена на рис. 69. Стабилитрон VD1 выбирают на напряжение, примерно равное половине выходного стабилизированного Uст. Такое же напряжение подают и на базу маломощного управляющего транзистора VT2 с делителя напряжения R2-R4. Если по каким-либо
причинам выходное напряжение понизится, это изменение полностью передастся через стабилитрон на эмиттер транзистора VT2, в то время как на его базе изменение напряжения будет меньше. В результате транзистор приоткроется и его увеличившийся коллекторный ток откроет мощный регулирующий транзистор VT1,
компенсируя падение выходного напряжения. При повышении выходного напряжения оба транзистора закрываются. Регулирование происходит, таким образом, благодаря сильной отрицательной обратной связи.
Импульсные стабилизаторы напряжения выполняют по похожим схемам, но вместо трансформатора в них используют дроссели на ферритовых магнитопроводах. Рассмотрим схему понижающего преобразователя-стабилизатора (рис. 71), вырабатывающего, например, стабилизированное напряжение 5В из нестабилизированного 12...18 В. Он работает с высоким КПД (только при стабильном токе нагрузки), достигающим 90% и более. Это означает, что ток в нагрузке больше потребляемого!