Что-то не так?
Пожалуйста, отключите Adblock.
Портал QRZ.RU существует только за счет рекламы, поэтому мы были бы Вам благодарны если Вы внесете сайт в список исключений. Мы стараемся размещать только релевантную рекламу, которая будет интересна не только рекламодателям, но и нашим читателям. Отключив Adblock, вы поможете не только нам, но и себе. Спасибо.
Как добавить наш сайт в исключения AdBlockРеклама
Приставка-автомат к зарядному устройству
|
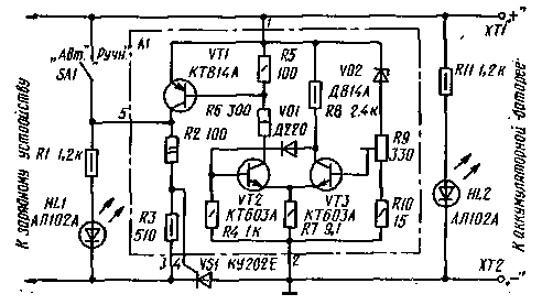
Дополнив имеющееся в вашем распоряжении зарядное устройство для автомобильной аккумуляторной батареи предлагаемым автоматом, можете быть спокойны за режим зарядки батареи - как только напряжение на ее выводах достигнет (14,5 ±0,2) В, зарядка прекратится. При снижении напряжения до 12,8...13 В зарядка возобновится. Приставка может быть выполнена в виде отдельного блока либо встроена в зарядное устройство. В любом случае необходимым условием для ее работы будет наличие пульсирующего напряжения на выходе зарядного устройства. Такое напряжение получается, скажем, при установке в устройстве двухполупериодного выпрямителя без сглаживающего конденсатора. Схема приставки-автомата приведена на рис. 1. Она состоит из тринистора VS1, узла управления тринистором А1, выключателя автомата SA1 и двух цепей индикации-на светодиодах HL1 и HL2. Первая цепь индицирует режим зарядки, вторая - контролирует надежность подключения аккумуляторной батареи к зажимам приставки-автомата. Если в зарядном устройстве есть стрелочный индикатор - амперметр, первая цепь индикации не обязательна. Узел управления содержит триггер на транзисторах VT2, VT3 и усилитель тока на транзисторе VT1. База транзистора VT3 подключена к движку подстроечного резистора R9, которым устанавливают порог переключения триггера, т. е. напряжение включения зарядного тока. «Гистерезис» переключения (разность между верхним и нижним порогами переключения) зависит в основном от резистора R7 и при указанном на схеме сопротивлении его составляет около 1,5 В. Триггер подключен к проводникам, соединенным с выводами аккумуляторной батареи, и переключается в зависимости от напряжения на них.
Транзистор VT1 подключен базовой цепью к триггеру и работает в режиме электронного ключа. Коллекторная же цепь транзистора соединена через резисторы R2, R3 и участок управляющий электрод - катод тринистора с минусовым выводом зарядного устройства. Таким образом, базовая и коллекторная цепи транзистора VT1 питаются от разных источников: базовая-от аккумуляторной батареи, а коллекторная - от зарядного устройства. Тринистор VS1 выполняет роль коммутирующего элемента. Использование его вместо контактов электромагнитного реле, которое иногда применяют в этих случаях, обеспечивает большое число включений - выключении зарядного тока, необходимых для подзарядки аккумуляторной батареи во время длительного хранения. Как видно из схемы, тринистор подключен катодом к минусовому проводу зарядного устройства, а анодом - к минусовому выводу аккумуляторной батареи. При таком варианте упрощается управление тринистором: при возрастании мгновенного значения пульсирующего напряжения на выходе зарядного устройства через управляющий электрод тринистора сразу начинает протекать ток (если, конечно, открыт транзистор VT1). А когда на аноде тринистор а появится положительное (относительно катода) напряжение, тринистор окажется надежно открытым. Кроме того, подобное включение выгодно тем, что тринистор можно крепить непосредственно к металлическому корпусу приставки-автомата или корпусу зарядного устройства (в случае размещения приставки внутри его) как к теплоотводу. Выключателем SA1 можно отключить приставку, поставив его в положение «Ручн.». Тогда контакты выключателя будут замкнуты, и через резистор R2 управляющий электрод тринистора окажется подключенным непосредственно к выводам зарядного устройства. Такой режим нужен, например, для быстрой зарядки аккумулятора перед установкой его на автомобиль. Транзистор VT1 может быть указанной на схеме серии с буквенными индексами А - Г; VT2 и VT3 - КТ603А - КТ603Г; диод VD1 - любой из серий Д219, Д220 либо другой кремниевый; стабилитрон VD2 - Д814А, Д814Б, Д808, Д809; тринистор - серии КУ202 с буквенными индексами Г, Е, И, Л, Н, а также Д238Г, Д238Е; светодиоды - любые из серий АЛ 102, АЛ307 (ограничительными резисторами R1 и R11 устанавливают нужный прямой ток используемых светодиодов). Постоянные резисторы - МЛТ-2 (R2), МЛТ-1 (R6), МЛТ-0,5 (R1, R3, R8, R11), МЛТ-0,25 (остальные). Подстроечный резистор R9-СП5-16Б, но подойдет другой, сопротивлением 330 Ом...1,5 кОм. Если сопротивление резистора больше указанного на схеме, параллельно его выводам подключают постоянный резистор такого сопротивления, чтобы общее сопротивление составило 330 Ом. Детали узла управления монтируют на плате (рис. 2) из одностороннего фольгированного стеклотекстолита толщиной 1,5 мм. Подстроечный резистор укрепляют в отверстии диаметром 5,2 мм так, чтобы его ось выступала со стороны печати. Плату укрепляют внутри корпуса подходящих габаритов либо, как было сказано выше, внутри корпуса зарядного устройства, но обязательно возможно дальше от нагревающихся деталей (выпрямительных диодов, трансформатора, тринистора). В любом случае напротив оси подстроечного резистора в стенке корпуса сверлят отверстие. На лицевой стенке корпуса укрепляют светодиоды и выключатель SA1.
Для установки тринистора можно изготовить теплоотвод общей площадью около 200 см2. Подойдет, например, пластина дюралюминия толщиной 3 мм и размерами 100Х100 мм. Теплоотвод прикрепляют к одной из стенок корпуса (скажем, задней) на расстоянии около 10 мм- для обеспечения конвекции воздуха. Допустимо прикрепить теплоотвод и к наружной стороне стенки, вырезав в корпусе отверстие под тринистор. Перед креплением узла управления его нужно проверить и определить положение движка подстроечного резистора. К точкам 1, 2 платы подключают выпрямитель постоянного тока с регулируемым выходным напряжением до 15 В, а цепь индикации (резистор R1 и светодиод HL1) - к точкам 2 и 5. Движок подстроечного резистора устанавливают в нижнее по схеме положение и подают на узел управления напряжение около 13 В. Светодиод должен гореть. Перемещением движка подстроечного резистора вверх по схеме добиваются погасания светодиода. Плавно увеличивая напряжение питания узла управления до 15 В и уменьшая до 12 В, добиваются подстроечным резистором, чтобы светодиод зажигался при напряжении 12,8...13 В и погасал при 14,2...14,7 В. А. Коробков
|
