Что-то не так?
Пожалуйста, отключите Adblock.
Портал QRZ.RU существует только за счет рекламы, поэтому мы были бы Вам благодарны если Вы внесете сайт в список исключений. Мы стараемся размещать только релевантную рекламу, которая будет интересна не только рекламодателям, но и нашим читателям. Отключив Adblock, вы поможете не только нам, но и себе. Спасибо.
Как добавить наш сайт в исключения AdBlockРеклама
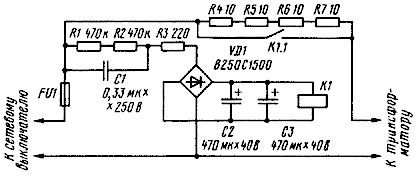
Защита нагрузки при включении
|
В источниках питания мощной аппаратуры на транзисторах и микросхемах в фильтрах питания обычно используют конденсаторы, емкость которых превышает 10000 мкФ. Переходные процессы, возникающие при включении такой аппаратуры (в частности, зарядка этих конденсаторов), могут привести к выходу ее из строя. По этой причине в источники питания в последнее время вводят устройства, которые ограничивают ток в первичной обмотке сетевого трансформатора в первый момент после включения аппаратуры и предотвращают тем самым нежелательные эффекты.
Возможный вариант выполнения подобного устройства приведен на рисунке. Оно состоит из ограничительных резисторов и узла, замыкающего эти резисторы по истечению некоторого времени. Бросок тока при включении аппаратуры до значения 5 А ограничивают резисторы R4-R7. Использование здесь нескольких резисторов обусловлено лишь конструктивными соображениями. Их можно заменить на один резистор сопротивлением около 40 Ом и мощностью рассеивания не менее 20 Вт или на другую последовательно-параллельную комбинацию соединения резисторов, обеспечивающую такие же сопротивление и мощность рассеивания. Выбор номинала ограничительного резистора - это решение противоречивой задачи. С одной стороны, желательно иметь большое сопротивление, поскольку уменьшаются перегрузки в цепях источника питания при включения устройства и требуемая мощность рассеивания этого резистора, но с другой - сопротивление должно быть не очень большим, чтобы второй бросок тока, возникающий при замыкании ограничительного резистора, не был больше первоначального броска тока при включении устройства. Приведенные здесь параметры ограничительного резистора близки к оптимальным для аппаратуры, потребляющей от сети мощность 150...200 Вт. При включении аппаратуры одновременно начинается процесс зарядки конденсаторов С2 и СЗ. Когда напряжение на них достигнет напряжения срабатывания реле К1 и оно сработает, то своими контактами замкнет резисторы R4-R7 и восстановит тем самым нормальный режим работы источника питания. Время задержки включения аппаратуры зависит в первую очередь от емкости конденсаторов С2 и СЗ, сопротивления резистора R3, напряжения срабатывания реле К1 и составляет доли секунды. В устройстве было использовано реле с напряжением срабатывания 24 В. Оно должно иметь контакты, обеспечивающие включение сетевой аппаратуры (220 В и ток несколько ампер), с которой будет использоваться это защитное устройство. Мост, использованный в оригинале конструкции, рассчитан на рабочее напряжение 250 В и ток 1,5 А. Конденсаторы СЗ и С4 можно заменить на один с емкостью 1000 мкФ. Amaterske Radio №7, 1997 |