LAB599.RU — интернет-магазин средств связи
EN FR DE CN JP
QRZ.RU > Каталог схем и документации > Схемы наших читателей > Дайджест радиосхем > Дешифратор простой системы телеуправления

Дешифратор простой системы телеуправления




Дешифратор простой системы телеуправления

  Схема дешифратора приведена на рис.1. Пачки входных импульсов отрицательной полярности поступают на формирователь, собранный на элементах R1, C1, DD1.1. Такой формирователь обладает свойствами интегрирующей цепи и триггера Шмитта. На его выходе импульсы несколько задержаны относительно входных и имеют крутые фронты независимо от крутизны фронтов входных импульсов, кроме того, этот формирователь подавляет импульсные помехи малой длительности.

 Дешифратор простой системы телеуправления Рис.1

  С выхода элемента DD1.1 импульсы поступают на детектор паузы. Он собран на элементах R2, С2, VD1, DD1.2. Работа детектора паузы проиллюстрирована рис.2 (диаграммы DD1:7 и DD1:6).

 Дешифратор простой системы телеуправления Рис.2

  Первый отрицательный импульс пачки, проходя через диод VD1 на вход элемента DD1.2, переключает его в состояние 6. В паузе между импульсами происходит постепенный заряд конденсатора С2 током, текущим через резистор R2, напряжение при этом, однако, не доходит до порога переключения этого элемента. Каждый последующий входной импульс через диод VD1 быстро разряжает конденсатор С2, поэтому во время действия пачки на выходе DD1.2 лог.0. В паузе между пачками напряжение на входе элемента DD1.2 достигает порога переключения, этот элемент лавинообразно переключается (за счет положительной обратной связи через конденсатор С2) в состояние 1. В результате в паузе между пачками на выходе 8 элемента DO 1.2 формируется положительный импульс, сбрасывающий счетчик DD2 в 0.

  Импульсы с выхода формирователя DD1.1 поступают также на счетный вход CN счетчика DD2, в результате чего после окончания пачки счетчик устанавливается в состояние, соответствующее числу импульсов в пачке. Фронтом импульса с детектора паузы DD1.2 происходит перепись состояния счетчика в регистр DD3. Выходные сигналы регистра DD3 поступают на дешифратор DD4, в результате при поиеме пачек из одного-семи импульсов на соответствующем выходе дешифратора DD4 появляется лог.1. После приема пачки из восьми импульсов лог.1 появляется на выходе О дешифратора DD4, она не используется.

 Дешифратор простой системы телеуправления

  Описанный шифратор собран на печатной плате из стеклотекстолита толщиной 1 мм. Размеры двусторонней платы дешифратора 42,5х45 мм, чертежи приведены соответственно на рис.3. В устройствах использованы резисторы МЛТ-0,125, конденсаторы КМ-5 и КМ-6. Без переработки печатных плат можно использовать вместо микросхем К561ИЕ8, К561ЛЕ10и К561ИД1 соответствующие микросхемы серии К176, однако ие все из них могут нормально работать при напряжении питания 4,5 В, возможно, что его придется увеличить до 9 В. Если микросхему К176ПУЗ заменить на К561ПУ4 (эта замена также возможна без изменения рисунка печатной платы), напряжение питания можно будет выбрать в диапазоне З... 15В.

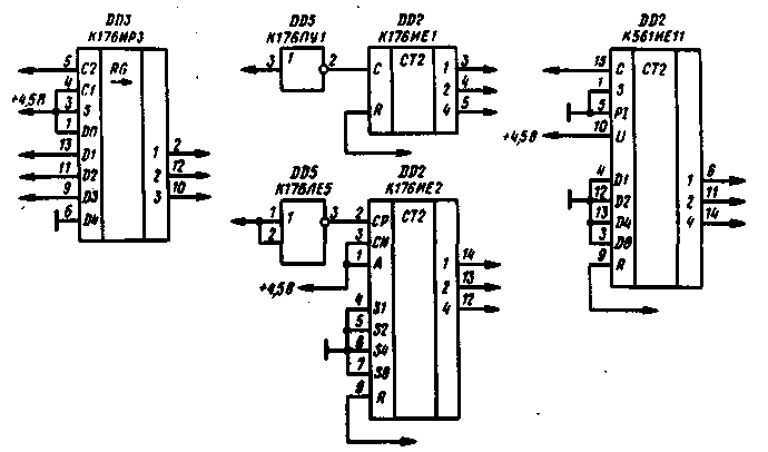
  Микросхему К561ИЕ10 (КР1561ИЕ10) в дешифраторе можно заменить на К561ИЕ11, К176ИЕ1, К176ИЕ2, микросхема К561ИР9 заменяется на К176ИРЗ, однако эти замены требуют переработки схем и печатных плат (рис.4). Кроме того, иеинвертирующие элементы микросхемы К176ПУЗ можно заменить на элементы других микросхем, как это описано во втором разделе книги. Микросхему К561ИЕ8 можно заменить на К561ИЕ9, в этом случае число команд уменьшится до пяти.

 Дешифратор простой системы телеуправления Puc.4

  Сборку системы и ее настройку рекомендуется проводить в следующей последовательности. На плате шифратора подбором резисторов R 1 и R2 установить частоту импульсов 180...220 Гц со скважностью, близкой к 2. При отсутствии осциллографа можно воспользоваться высокоомным вольтметром постоянного тока - среднее напряжение на выводе 9 DD1.2 должно быть равно половине или быть несколько меньше половины напряжения питания. Точное значение частоты особой роли не играет, а скважность следует выдержать.

  Далее можно проверить правильность генерации пачек, нажимая поочередно кнопки SB1-SB7. При этом на выходе 10 DD1.3 должны быть пачки из 1-7 импульсов, если кнопки ие нажимать, число им пульсов в пачках должно быть 8. При отсутствии осциллографа о правильности генерации пачек можно судить по среднему напряжению на выходе DD1.3 - при пачках из восьми импульсов оно должно составлять 40 % от напряжения источника питания, при семи импульсах - 39 %, при шести - 37,5 %, при пяти - 36 %, при четырех - 33 %, при трех - 30 %, при двух - 25 %, при одном импульсе в пачке-17%.

  Затем нужно собрать дешифратор и соединить между собой выход шифратора и вход дешифратора. В дешифраторе следует убедиться в прохождении импульсов через формирователь DD1.1, их форма и скважность не должны заметно измениться, и в правильности работы детектора паузы - длительность положительных импульсов на выводе 6 элемента DD1.2 должна быть около периода входных импульсов, среднее напряжение на этом выводе при отсутствии передачи команд (т.е. при подаче пачек из восьми импульсов) должно составлять около 10 % от напряжения питания, при нажатии кнопки SB1 - 33 %. При необходимости длительность указанного импульса установить подбором R2.

  Далее, формируя в шифраторе пачки из одного-семи импульсов, следует убедиться, что при этом на соответствующем входе микросхемы DD4 дешифратора и на его выходах появляются потенциальные сигналы с уровнем лог. 1. Для надежности последнюю проверку целесообразно повторить, увеличив и уменьшив емкость конденсатора С1 шифратора на 20 %, для чего параллельно с ним установить конденсатор 1300 пФ, затем последовательно 0,033 мкф. Такая проверка гарантирует сохранение работоспособности устройства при колебаниях температуры и напряжения питания.

Литература: С.А.Бирюков. Цифровые устройства на МОП- интегральных микросхемах. М. Радио и связь. 1996 г.
Источник: shems.h1.ru

Партнеры