Что-то не так?
Пожалуйста, отключите Adblock.
Портал QRZ.RU существует только за счет рекламы, поэтому мы были бы Вам благодарны если Вы внесете сайт в список исключений. Мы стараемся размещать только релевантную рекламу, которая будет интересна не только рекламодателям, но и нашим читателям. Отключив Adblock, вы поможете не только нам, но и себе. Спасибо.
Как добавить наш сайт в исключения AdBlockРеклама
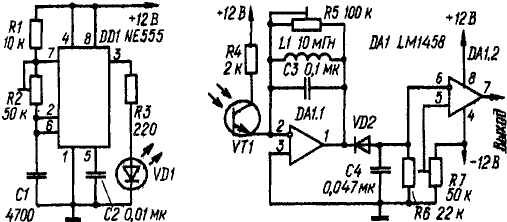
Помехоустойчивое фотореле к ДУ
|
Практически каждый радиолюбитель хоть раз в жизни сталкивался с необходимостью разработки фотореле и знает, как нелегко подчас добиться его устойчивой работы в условиях изменяющегося освещения. От этого недостатка можно легко избавиться, если промодулировать световой поток источника последовательностью импульсов, а фотореле сделать частотно-избирательным. Схема одного из возможных вариантов такого помехоустойчивого устройства показана на рисунке. Интегральный таймер NE555 включен по схеме автоколебательного мультивибратора, вырабатывающего импульсы с частотой следования примерно 5 кГц. Его нагрузкой служит светодиод VD1, излучение которого оказывается лромодулиро-ванным этой частотой. Приемником излучения является фототранзистор VT1, включенный между положительным полюсом источника питания н инвертирующим входом ОУ DA1.1. Колебательный контур L1C3 в цепи ООС, охватывающий ОУ DA1.1, настроен на частоту 5 кГц. поэтому коэффициент передачи ОУ DA1.1 оказывается максимальным на модулирующей частоте излучателя и резко падает на других частотах, обеспечивая высокую частотную селективность фотореле. С выхода ОУ DA1.1 сигнал поступает на детектор, выполненный на элементах VP2, С4, R6. ОУ DA1.2 обратной связью не охвачен и потому работает как амплитудный компаратор, что еще больше повышает помехоустойчивость фотореле. При облучении фототранзистора VТ1 светом диода VD1 выходное напряжение детектора удерживает компаратор DA1.2 во включенном состоянии, и на его выходе присутствует высокое напряжение, а если между ними появляется какая-либо преграда — низкое. Порог срабатывания компаратора устанавливают подстроенным резистором R7, а необходимую для надежной работы фотореле добротность контура L1C3 — резистором R5, Ближайшим аналогом сдвоенного ОУ LM1458 является отечественный К140УД20, однако в фотореле можно использовать практически любые ОУ с соответствующими цепями коррекции. Аналог таймера NE555 — КР1006ВИ1. Тип светодиода, фототранзистора и детектирующего диода в оригинале статьи не указан. РАДИО № 1, 1984
|