|

Изготовление каркаса катушки из шариковой авторучки
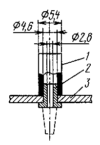
Не спешите выбрасывать использованный пластмассовый баллон шариковой (гелевой) авторучки - из него можно изготовить каркас для контурной катушки КВ или УКВ и детали крепления каркаса к плате. Сначала от баллона отрезают каркас 1 (см. рисунок) нужной длины. Затем дорабатывают заглушку с пишущим узлом: пишущий узел (показан штриховой линией) удаляют, а оставшуюся часть в виде пробки 2 пропускают через отверстие в плате 3 и надевают на нее каркас 1. Для большей надежности крепления детали смазывают клеем.
Радио №3, 1999 Ю. Прокопцев г. Москва
Источник: shems.h1.ru
|