|
Измеритель R, C, L на микросхемах
Предлагаемый прибор обеспечивает измерение сопротивлений резисторов, емкостей конденсаторов и индуктивностей катушек в достаточно широком интервале с точностью не хуже 1.5...2 %. Результаты измерений отсчитываются по стрелочному индикатору с линейной шкалой.
Основные технические характеристики:
Измеряемое сопротивления резисторов, Ом . . . 10-2...106
Измеряемая емкость конденсаторов, пф . . . 10...107
Измеряемая индуктивность, Гн . . . 10-3...103
Потребляемая мощность, Вт, не более . . . 10
В основе измерения параметров R, С, L лежит метод формирования падения напряжения на измеряемом элементе, пропорционального величине его параметра. Принцип работы прибора рассмотрим на примере измерения сопротивления резистора. Фрагмент схемы, поясняющий pa6oтy измерителя, приведен на рис.1. При подаче напряжения фиксированной величины U и частоты f на цепочку, состоящую из дополнительного Rд и измеряемого Rх резисторов (причем Rх много меньше Rд), падение напряжения на резисторе Rх, (большое входное сопротивление милливольтметра практически не оказывает влияния на параметры цепи) составляет: Uх=Urх/(Rд+Rх) Обозначив отношение постоянных величин U/Rд через коэффициент К и обеспечив условие Rх/Rд много меньше 1 во всем диапазоне измерений сопротивлений, выражение упрощается до вида Uх~KRх, (с погрешностью, не превышающей точности измерения), откуда видно, что измеряемое напряжение пропорционально величине измеряемого сопротивления резистора.
Перед измерением необходимо произвести калибровку шкалы милливольтметра путем установки такой величины напряжения U, при котором падение напряжения на калибровочном резисторе Rх (при включении SA и отключенном Rх) вызовет отклонение стрелки прибора на конечное деление шкалы. В этом случае вся шкала прибора будет соответствовать величине калибровочного резистора Rх.
При измерении индуктивности те же закономерности, что и при измерении сопротивления резистора, только вместо калибровочной катушки индуктивности включают резистор, эквивалентный реактивному сопротивлению катушки для частоты питающего напряжения.
Измерение емкости конденсатора отличается тем, что измеряют падение напряжения от протекающего через него тока на дополнительном резисторе Rд, включенным последовательно с конденсатором. В этом случае калибровка шкалы прибора производится с помощью калибровочных конденсаторов. Сопротивление дополнительного резистора в этом случае должно быть значительно меньше реактивного сопротивления конденсатора на частоте измерения. Измеряемое на дополнительном резисторе падение напряжения пропорционально величине емкости конденсатора.
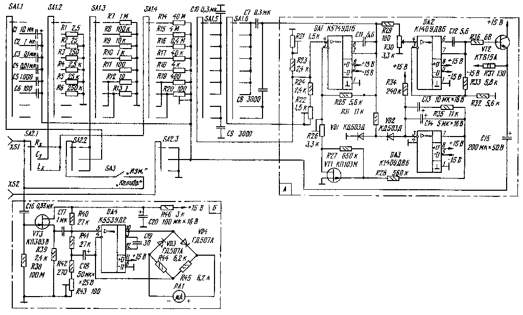
Измеритель состоит из узла коммутации калибровочных резисторов и конденсаторов, генератора, вырабатывающего фиксированные частоты 159Гц и 15,9 кГц, и милливольтметра переменного тока.
В узел коммутации входят переключатель пределов измерения SA1, переключатель рода работ SA2 и переключатель (или кнопка) калибровки SA3. На приводимой схеме положения переключателей показаны для измерения резисторов на пределе 1 МОм. В схеме прибора резисторы R7 - R13 калибровочные при измерении сопротивления резисторов к индуктивностей катушек, a R14 - R20 - дополнительные. При измерении емкостей конденсаторов резисторы R1 - R6 дополнительные, а конденсаторы С1 - С6 калибровочные.
Генератор (узел А) выполнен на микросхемах: DA1 - задающий генератор по схеме с мостом Вина в цепи положительной образной связи, DA2 - неинвертирующий усилитель с коэффициентом передачи 2, DA3 - интегратор. Изменение частоты генератора достигнуто переключением конденсаторов С7 - С10. В семи верхних по схеме положениях переключателя SA1 генератор обеспечивает колебания с частотой 159 Гц, а в двух нижних - 15,9 кГц. Для получения достаточно мощного измерительного сигнала на выходе неинвертаруюшего усилителя применен усилитель тока на транзисторе VT2. Резистором R30 (при замкнутом положении переключателя SA3) осуществляют калибровку прибора перед выполнением измерений. Генератор стабилен в работе и обладает коэффициентом гармоник не хуже 0,05%.

[ Увеличить в новом окне ]
Милливольтметр переменного тока (узел Б) выполнен на транзисторе VT3 и микросхеме DA4. Каскад на полевом транзисторе, выполненный по схеме истокового повторителя, увеличивает входное сопротивление устройства до 100 МОм. Стрелочный измеритель РА1 включен на выходе усилителя в диагональ выпрямительного моста на диодах VD3, VD4 и резисторах R44, R45. Шкала милливольтметра линейна, погрешность измерений практически определяется классом применяемого стрелочного измерителя.
В конструкции прибора применен стрелочный измеритель типа М906 с током полного отклонения 50 мкА. Переключатели SA1 и SA2 галетные, типа ПГГ - 9П6Н и 3П1Н соответственно. Переключатель SA3 типа ТВ1-1.
В качестве калибровочных использованы резисторы С2-10, С-13, С2-14, остальные резисторы типа МЛТ или ОМЛТ. Конденсаторы КТ-1, КСО, МБМ, К73-17, К50-6, К50-20, возможно применение и других типов. Точность измерений прибора в определяющей мере зависит от подбора калибровочных конденсаторов, дополнительных и калибровочных резисторов, поэтому их необходимо подобрать с точностью не хуже ±0,5 %. Если же эти элементы использовать с точностью ±0,1...0,25%, то погрешность измерения практически сведется к точности используемой измерительной головки микроамперметра.
Операционные усилители К574УД1 и К140УД8 могут быть использованы с любыми буквенными индексами и возможна взаимная их замена без изменения рисунка печатной платы. Кроме того, вместо микросхемы К574УД1 можно применить К544УД2, а вместо К553УД2 микросхему К153УД2, но для каждого из этих случаев потребуется изменить рисунок токоведущих дорожек платы.
Кроме указанных на схеме типов диодов, можно использовать диоды Д311А, Д18, Д9. Транзистор КП103М можно заменить на любой транзистор из группы КП103, а КП303В на КП303Г или КП303Е. В качестве транзистора VT2 применим любой транзистор из групп КТ815 или КТ817.
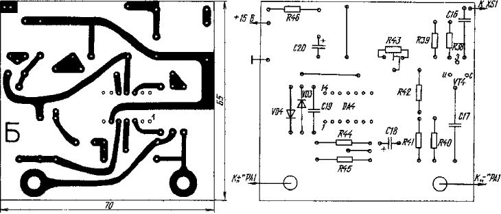
Все калибровочные и дополнительные элементы подпаяны непосредственно к выводам переключателя SA1, а элементы генератора и милливольтметра размещены на двух печатных платах из фольгированного стеклотекстолита с односторонней металлизацией. На плате генератора транзистор VT2 следует разместить на теплоотводящем радиаторе с площадью теплорассеивающей поверхности 50 см2. Плата милливольтметра закреплена непосредственно на выходных зажимах стрелочной измерительной головки.


[ Увеличить в новом окне ]
Налаживание измерителя следует начать с регулировки генератора. При правильно выполненном монтаже и исправных элементах вращением движка подстроечного резистора R26 генератор устанавливают в устойчивый режим работы. Удобно наблюдать настройку генератора по экрану осциллографа, а частоту определять по электронно-счетному частотомеру.
Для установки генератора на частоту 159 Гц переключатель SA1 ставят в любое из семи верхних по схеме положений и с помощью подстросчных резисторов R21 и R22 регулируют значение частоты. Если пары конденсаторов С7, С10 и С8, С9 подобраны с точностью не хуже ±1%, то настройку на частоту 15,9 кГц производить не требуется, она обеспечивается автоматически. Следует отметить, что точная установка частот не обязательна, важно лишь, чтобы они отличались друг от друга в 100 раз. Влияние неточности установки частот легко компенсируется при калибровке прибора.
Налаживание милливольтметра сводится к установке подстроенным резистором R43 стрелки микроамперметра на последнее деление шкалы при подаче на вход милливольтметра напряжения 0,05 В частотой 159 Гц. Затем проверяют соответствие отклонения стрелки прибора при подаче на вход напряжения 0,05 В частотой 15,9 кГц. При исправных элементах схемы это обеспечивается автоматически, никаких подстроек не требуется.
Для удобства отсчета показаний шкалу микроамперметра следует выполнить на 100 делений или использовать готовую от аналогичного микроамперметра на 100 мкА, установив ее взамен шкалы 50 мкА.
В.ЛАВРИНЕНКО г. Волжский, Волгоградской обл. Радио №8 1993 г., стр.20
Источник: shems.h1.ru
|