LAB599.RU — интернет-магазин средств связи
EN FR DE CN JP
QRZ.RU > Каталог схем и документации > Схемы наших читателей > Дайджест радиосхем > Светодиодный индикатор отклонения уровня напряжения

Светодиодный индикатор отклонения уровня напряжения




Светодиодный индикатор отклонения уровня напряжения

  В статье описана конструкция индикатора, который показывает, в какую сторону и насколько отклонилось значение контролируемого параметра. В устройстве предусмотрен выход сигнала, включающего исполнительный механизм. Индикатор может быть легко перенастроен для работы в режиме измерителя уровня сигнала. Светодиодный индикатор предназначен для наблюдения за отклонением сигнала постоянного тока от заданного значения в плюсовую или минусовую сторону. Собранный на шести светодиодах, описываемый вариант устройства показывает по три градации отклонения от "нуля" в каждую сторону. Максимальное значение регистрируемого отклонения - +0,1 В. Напряжение на входах не должно превышать 3 В, в противном случае потребуется применение входного аттенюатора. Входное сопротивление индикатора - около 6 кОм. Индикатор является составной частью системы автоматического поддержания заданной влажности почвы [1] и служит для наблюдения за отклонением ее от оптимального значения.

  Табло устройства представляет собой линейку из шести светодиодов, размещенных либо горизонтально, либо вертикально. В отсутствие отклонения сигнала от заданного значения три правых (или верхних) светодиода в линейке не светят, три остальные - включены. При положительном отклонении сигнала число включенных светодиодов пропорционально увеличивается, при отрицательном - уменьшается. Индикатор питается стабилизированным двуполярным напряжением 2x12 В; потребляемый ток - не более 40 мА.

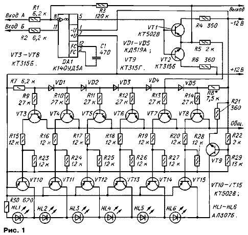
 Схема

  Схема индикатора показана на рис. 1. Контролируемый входной сигнал подают на вход А. К входу Б подводят образцовое напряжение. Оно должно быть высокостабильным. Его устанавливают равным номинальному значению контролируемого напряжения. ОУ DA1 включен по схеме с параллельной отрицательной ОС. Такое включение ОУ редко применяют из-за присутствия синфазного напряжения на выходе, но для индикатора это вполне допустимо. Синфазное напряжение компенсируют при налаживании устройства. На выходе ОУ включен двуполярный эмиттерный повторитель на транзисторах VT1, VT2, выходной сигнал которого через пороговое устройство (триггер Шмитта) управлял работой поливного клапана системы поддержания влажности почвы. Если устройство будет использовано только как индикатор, эмиттерный повторитель можно исключить. Усиленный по току сигнал через резистор R5 поступает на цепь диодов VD1-VD5, выполняющих роль стабисторов. Падение напряжения на каждом диоде около 0,6 В, чем и определяется "высота" ступени индикации. Распределение напряжения в цепи диодов зависит от соотношения значений сопротивления резисторов R7 и R8 и уровня выходного сигнала ОУ.

  В исходном состоянии в точке соединения диодов VD3 и VD4 должно быть нулевое напряжение относительно общего провода. Базы транзисторов VT3-VT5 находятся под положительным напряжением, поэтому транзисторы VT3-VT5, а значит, и VT10-VT12 открыты. Светодиоды HL1-HL3 обесточены, так как они шунтированы открытым транзистором VT12. К базе транзисторов VT7, VT8 приложено минусовое напряжение, а VТ6 - нулевое, поэтому они закрыты; закрыты также транзисторы VT13-VT15. Через транзистор VT12 и светодиоды HL4- HL6 протекает рабочий ток - светодиоды включены. При увеличении напряжения на входе А выходное напряжение ОУ уменьшается, точка нулевого напряжения перемещается влево по цепи диодов VD1- VD5. Последовательно закрываются пары транзисторов VT5 и VT12, VT4 и VT11, VT3 и VT10, прекращая шунтировать светодиоды HL3, HL2 и HL1 соответственно. Поэтому светодиоды включаются один за другим. При уменьшении напряжения на входе А точка нулевого потенциала перемещается вправо по цепи диодов, открываются пары транзисторов VT6 и VT13, VT7 и VT14, VT8 и VT15. Светодиоды HL4, HL5 и HL6 один за другим гаснут.

  Светодиоды в индикаторе включены последовательно. Ток через них поддерживается постоянным и равным 10 мА стабилизатором тока на транзисторе VT9. Это уменьшает нагрузку на блок питания и делает ее постоянной. Для управления каждым светодиодом приходится использовать пару транзисторов, так как усиления одиночного транзистора здесь недостаточно. В журнале "Радио" были опубликованы подобные светодиодные измерители уровня сигнала [2-5]. Некоторые их схемные решения использованы в описываемом устройстве. Отличается же оно наличием дифференциального входа, более высоким и регулируемым коэффициентом усиления, а также последовательным подключением светодиодов к источнику питания, что расширяет возможности применения.

 Плата

  Все детали индикатора, кроме светодиодов, смонтированы на односторонней печатной плате толщиной 1 мм из фольгированного стеклотекстолита. Чертеж платы показан на рис. 2. Плата изготовлена методом резания по линейке резаком, выточенным на точиле. Черные линии на чертеже платы - это участки, где фольга срезана. Безусловно, плату можно выполнить и традиционным способом - травлением. Диоды и большинство резисторов на плате установлены "стоймя". Светодиоды смонтированы на лицевой панели и с платой связаны жгутом проводников. Транзисторы, используемые в индикаторе, могут быть любыми маломощными кремниевыми. Например, вместо КТ315Б (VT3-VT8) подойдут транзисторы старых типов МП113 (с коэффициентом h21Э>45), а вместо КТ502В (VT10- VT15) - МП116 (h21Э>20). Для этого, правда, придется несколько увеличить размеры монтажной платы. Транзисторы VT1, VT2, VT9 должны допускать напряжение на коллекторе не менее 30 В. Диоды VD1-VD5 - любые кремниевые маломощные. Применение ОУ К140УД5 некритично - индикатор может работать и с другим ОУ, рассчитанным на напряжение питания 2x15 В. Можно изменять и число светодиодов, и соответственно пар управляющих транзисторов.

  Налаживание индикатора начинают с начальной установки состояния светодиодов. Для этого входы А и Б соединяют между собой и подают на них образцовое напряжение. Его обычно формируют из напряжения питания с помощью дополнительного стабилизатора и резистивного делителя (на схеме они не показаны). Опытным путем на цепи диодов VD1-VD5 находят оптимальную точку, к которой и подключают правый по схеме вывод резистора R5. Критерий выбора оптимальной точки - светодиоды HL4-HL6 светят, а HL1-HL3 - выключены. Затем отключают вход А и подают на него стабильное напряжение, которое можно регулировать в пределах +1...2 В от значения образцового. Источником этого напряжения может служить еще один такой же делитель, но с переменным резистором в одном из плеч. Устанавливают на входе А напряжение, точно равное образцовому, и подбирают резистор R8 таким, при котором для включения очередного светодиода требуется увеличить это напряжение настолько, насколько нужно его уменьшить для того, чтобы, наоборот, выключить еще один из них. От тщательности выполнения этой операции будет зависеть достоверность индикации "нуля". Необходимую чувствительность индикатора устанавливают подборкой резистора R3 в цепи отрицательной ОС ОУ.

  Если надо использовать индикатор в режиме измерения уровня сигнала, входы А и Б для налаживания соединяют с общим проводом и подключают резистор R5 к той точке цепи диодов VD1- VD5, которая дает минимальное число включенных светодиодов. Затем подбирают резистор R8 так, чтобы светодиод HL6 находился на границе начала свечения. Затем вход Б оставляют соединенным с общим проводом, а на вход А подают измеряемое плюсовое напряжение. При входном сигнале противоположной полярности входы меняют местами. Чувствительность индикатора изменяют подборкой резистора R3. Если уровень входного сигнала достигает 3 В, можно обойтись без операционного усилителя и эмиттерного повторителя. В этом случае источник сигнала с внутренним сопротивлением не более 2 кОм подключают к цепи диодов VD1-VD5 через резистор R5.

  Литература
1. Егоров Ю., Галицкий В. Электронная система управления полива в теплице. - Радио, 1997, # 11, с. 48, 49.
2. Димов В. Светодиодные измерители уровня сигнала. - Радио, 1987, # 10, с. 59, 60.
3. Нечаев И. Светодиодный измеритель уровня сигнала. - Радио, 1988, # 12, с. 52.
4. Потигин И. Светодиодный индикатор настройки. - Радио, 1987, # 12, с. 39.
5. Янко Б., Потапова Л. Комбинированный индикатор выходной мощности усилителя ЗЧ. - Радио, 1987, # 8, с. 32, 33.

Радио №9, 1999
Ю. Егоров
г. Москва

Источник: shems.h1.ru

Партнеры