LAB599.RU — интернет-магазин средств связи
EN FR DE CN JP
QRZ.RU > Каталог схем и документации > Схемы наших читателей > Дайджест радиосхем > Лазерная указка в исполнительном устройстве

Лазерная указка в исполнительном устройстве




Лазерная указка в исполнительном устройстве

  Лазерные указки, появившиеся в последнее время в продаже, предназначены, прежде всего, для преподавателей учебных заведений, чтобы пользоваться ими при объяснениях графических материалов. Однако такая указка может найти применение и в быту, скажем, для дистанционного управления работой электро- и радиоприборов. О том, как это осуществить, рассказывается в публикуемой статье. Лазерная указка, несмотря его внешнюю простоту, сравнительно сложное изделие. Она содержит полупроводниковый лазер, автоматику поддержания определенного тока протекающего через него, оптическую систему, батарею гальванических элементов напряжением 3...4,5 В, кнопку включения. Потребляемый лазером ток составляет 30... 50 мА. Хотя излучаемая указкой мощность (длина волны 630...650 нм) не превышает 5 мВт, за счет концентрации ее в узконаправленном луче потери на распространение невелики. Излучение лазера можно зафиксировать на большом расстоянии. Однако категорически не допускается направлять луч указки на глаза - это опасно. Указка может работать в охранных устройствах, светотелефонах, самодельных игрушках, устройствах отпугивания птиц и т. д. Пока же ограничимся рассказом о постройке автомата, способного по сигналу указки включать и выключать бытовые электро- и радиоприборы. Сама указка при этом никакой переделки не требует.

 Лазерная указка в исполнительном устройстве

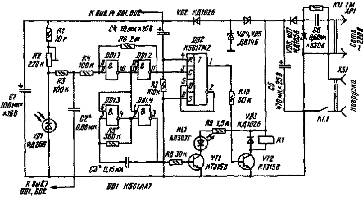
  Автомат (рис. 1) содержит фотоприемник на фотодиоде VD1, компаратор напряжения на логических элементах DD1.1, DD1.2, генератор импульсов на элементах DD1.3, DD1.4, D-триггер DD2, два электронных ключа на транзисторах VT1, VT2, исполнительный элемент - электромагнитное реле К1 и блок питания. Блок питания выполнен по бестрансформаторной схеме с гасящим конденсатором Сб. Переменное напряжение выпрямляется диодами VD6, VD7, сглаживается конденсатором С5 и стабилизируется стабилитронами VD4, VD5. Питание на микросхемы поступает со стабилитрона VD4 через диод VD2 и сглаживающий конденсатор С 1.

  Работает устройство так. В начальный момент времени, после подключения устройства к сети, высокий логический уровень через цепочку C4R7 поступает на вход R триггера и обнуляет его. На выходе триггера - низкий логический уровень, ключ на транзисторе VT2 закрыт, реле обесточено, нагрузка отключена от сети. На входе и выходе компаратора будет высокий логический уровень, а на входах элементов DD1.3, DD1.4 - низкий, генератор не работает. При этом на выходе элемента DD1.4 устанавливается высокий уровень, транзистор VT1 открывается и включает светодиод HL1. Как происходит переключение? Фотодиод VD1 освещают лазерным лучом, и напряжение на нем значительно уменьшается. Компаратор после разрядки конденсатора С2 срабатывает, и на его выходе появляется низкий уровень. На выводы элементов DD1.3, DD1.4 поступает высокий уровень, генератор начинает работать, светодиод мигает, свидетельствуя об освещении фотодиода. Если теперь выключить лазер или убрать луч в сторону от фотодиода, то напряжение на нем увеличится, компаратор установится в положение с высоким уровнем на выходе, и триггер переключится. На его выходе появится высокий логический уровень, транзистор VT2 откроется, реле сработает и замыкающимися контактами К1.1 подаст на нагрузку сетевое напряжение. В случае повторного кратковременного освещения фотодиода (пока не замигает светодиод) устройство переключится в исходное состояние и нагрузка обесточится. Благодаря использованию реле, к устройству допустимо подключать самую разнообразную радиоэлектронную аппаратуру: радиоприемники, телевизоры, видеомагнитофоны и т.д. с любыми блоками питания, а также электроприборы с электродвигателями, например вентиляторы.

 Лазерная указка в исполнительном устройстве - плата

  Все детали устройства, кроме реле и диода VD3, размещают на печатной плате (рис. 2) из одностороннего фольгированного стеклотекстолита. Она рассчитана на использование транзисторов КТ315А-КТ315Е, КТ312А-КТ312В, КТ3102А-КТ3102Д, микросхем серий К 176, К561, 564, любого светодиода из серии АЛ307 (желательно в пластмассовом корпусе). Диоды VD2, VD3 - любые выпрямительные, VD6, VD7 - КД102Б или аналогичные маломощные с максимально допустимым обратным напряжением не менее 400 В и током не менее 100 мА, стабилитроны - на напряжение стабилизации 8...10 В. Полярные конденсаторы- серий К50, К52, С6 - К73, остальные - КМ, КЛС, К 10. Подстроечный резистор R2 - СПЗ-19, постоянные - МЛТ, С2-33. Реле следует подобрать с напряжением срабатывания 12... 15 В при токе не более 30 мА, например, РЭС9 (паспорт РС4.524.200, РС4.524.201), его контакты должны выдерживать напряжение сети и ток, потребляемый нагрузкой. Несколько слов о реле РЭС9. По справочным данным его контакты рассчитаны на напряжение 115 В. Однако многолетняя практика использования реле в различных устройствах показала надежную работу контактов при сетевом напряжении 220 В. Конечно, можно остановить выбор на реле типов РКН, МКУ-48, но габариты конструкции значительно возрастут. Плату вместе с реле размещают в корпусе подходящих габаритов, выполненном из изоляционного материала. Фотодиод и светодиод располагают в отверстиях корпуса рядом, чтобы светодиод служил ориентиром и своими вспышками сигнализировал о попадании лазерного луча на фотодиод. Чтобы избежать помех и сбоев в работе, нужно так установить автомат, чтобы фотодиод был защищен от попадания на него света от осветительных приборов.

  Налаживание устройства сводится к установке его чувствительности (подстроечным резистором R2), скорости реагирования на освещение лазером (подбором конденсатора С2), частоты мигания светодиода (грубо - подбором конденсатора СЗ, плавно - резистора R5). Автомат можно несколько упростить, исключив генератор. При этом левый по схеме вывод резистора R8 надо отсоединить от вывода 3 микросхемы DD1 и соединить с выводом 11. Элементы R5, СЗ удаляют, соединение между выводами 2 и 4 DD1 убирают, а неиспользованные входы элементов DD1.3, DD1.4 соединяют с общим проводом. В этом случае при попадании лучом лазера на фотодиод и срабатывании компаратора, светодиод будет гаснуть.

 Лазерная указка в исполнительном устройстве

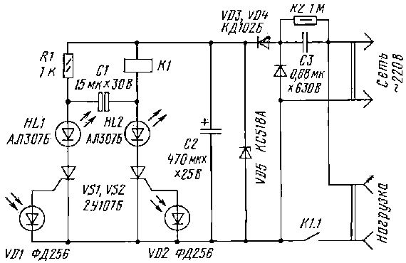
  Возможен вариант более простого автомата (рис. 3), если в нем использовать чувствительные тринисторы 2У107А-2У107Е, которые открываются при небольшом (менее вольта) напряжении на управляющем электроде и малом (несколько микроампер) токе в его цепи. Его основой является триггер на тринисторах VS1.VS2, который питается, как и в предыдущей конструкции, от блока с гасящим конденсатором. Разберем работу автомата. После подключения его к сети оба тринистора будут закрыты, а реле обесточено. Если осветить фотодиод VD2 лазерным лучом, то за счет фотоэффекта на нем появится напряжение, которое поступит на управляющий электрод тринистора VS2, и он откроется. Реле сработает и включит нагрузку в сеть - об этом просигнализирует загоревшийся светодиод HL2. Начнет заряжаться конденсатор С1 (минус на правом по схеме выводе). Чтобы отключить нагрузку, освещают фотодиод VD1. При этом тринистор VS1 открывается, включая светодиод HL1. Тринистор VS2 закрывается, поскольку на его анод кратковременно поступает отрицательное напряжение с конденсатора С1. Реле обесточивается, светодиод HL2 гаснет, нагрузка отключается от сети. Если теперь снова осветить фотодиод VD2, откроется тринистор VS2, a VS1 закроется, поскольку на его анод поступит отрицательное напряжение с конденсатора С1. На нагрузку поступит напряжение. Эксперименты показали, что в качестве фотодиода в этом автомате неплохо работают светодиоды АЛ360А, АЛ360Б, поскольку их основой являются излучающие диоды ИК диапазона. Кроме того, они снабжены фокусирующим отражателем, что повышает их чувствительность к лазерному излучению указки.

 Лазерная указка в исполнительном устройстве - конструкция   Детали автомата рассчитаны для работы с реле РЭС9 (паспорт РС4.524.200). Их можно разместить в корпусе небольших габаритов (рис. 4), изготовленном из изоляционного материала. На передней стенке корпуса сверлят отверстия под светодиоды и фотодиоды, на задней устанавливают сетевую розетку. При налаживании автомата предварительно подбирают конденсатор СЗ и стабилитрон. Напряжение стабилизации стабилитрона должно быть примерно на 4...5 В больше напряжения срабатывания реле, а емкость конденсатора такой, чтобы обеспечивался ток через реле на 15...20 мА больше тока его срабатывания. Недостаток автомата - низкая чувствительность, ограничивающая дальность управления им. При налаживании автомата следует соблюдать меры электробезопасности, поскольку его детали гальванически связаны с сетью. Все перепайки нужно делать только при отключенном от сети автомате.

И. НЕЧАЕВ, г. Курск
Источник: shems.h1.ru

Партнеры