Что-то не так?
Пожалуйста, отключите Adblock.
Портал QRZ.RU существует только за счет рекламы, поэтому мы были бы Вам благодарны если Вы внесете сайт в список исключений. Мы стараемся размещать только релевантную рекламу, которая будет интересна не только рекламодателям, но и нашим читателям. Отключив Adblock, вы поможете не только нам, но и себе. Спасибо.
Как добавить наш сайт в исключения AdBlockРеклама
Емкостный датчик
|
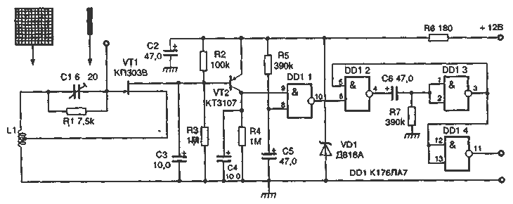
Большинство схем емкостных датчиков состоят из двух генераторов и схемы, контролирующей нулевые биения или промежуточную частоту. При этом частота одного генератора стабилизируется кварцевым резонатором, а на настройку контура другого влияет внешняя емкость. Схема содержит один генератор, работающий на частоте 460—470 кГц, воздействие на датчик приводит к тому, что изменяется ток, потребляемый генератором (внешняя емкость не столько изменяет частоту, сколько дополнительно нагружает контур). При увеличении внешней емкости ток потребления возрастает, что приводит к открыванию второго транзистора. Генератор собран на полевом транзисторе VT1. Частота настройки определяется параметрами контура на катушке L1. Датчик может быть произвольной например кусок монтажного провода, сетка, квадрат со стороной от 150 до 1000 мм или кольцо. Если датчик устанавливать в автомобиле, то для охраны стекла достаточно провода длиной 150 мм, можно установить сетку в сидениях или расположить провод в щелях приборной панели.
Ключ выполнен на транзисторе VT2. При воздействии на датчик ток, потребляемый генератором, увеличивается и транзистор VT2 открывается, при этом напряжение на его коллекторе становиться близким к напряжению питания (схема питается от параметрического стабилизатора на стабилитроне VD1 и резисторе R6). Исполнительное устройство выполнено па микросхеме DD1 по схеме одновибратора. Цепь R5C5 нужна для задержки срабатывания устройства после включения. Если задержка не нужна, конденсатор С5 можно исключить. Можно сделать вариант с задержкой и контрольным светодиодом. В этом случае нужно уменьшить сопротивление R6 до 150 Ом, a R4 до 620 Ом, и включить последовательно с R4 светодиод типа АЛ307 в прямом направлении. Теперь первые пять-десять секунд после включения реакция датчика приведет только к зажиганию светодиода. Затем, после окончания этого времени, каждое срабатывание будет приводить к появлению на выходе схемы положительного импульса длительностью около 10с. Длительность импульса можно регулировать, изменяя сопротивление R7 или емкость Сб. Емкостный датчик собран на одной печатной плате из одностороннего фоль-гированпого стеклотекстолита. Подстроечпый конденсатор — типа КПК, полевой транзистор VT1 может быть с любым буквенным индексом, что же касается VT2 — здесь подойдет любой р-n-р транзистор малой мощности, включая и МП39—МП42. Микросхему К176ЛА7 можно заменить на К561ЛА7 или даже на К561ЛЕ5, но в этом случае нужно поменять местами R5 и С5, изменить полярность включения С6 на противоположную, вывод R7, соединенный с общим проводом, подключить к катоду стабилитрона, а выходной сигнал снимать с вывода 3 DD1, включив элемент с выводами 12, 13 и 11 между коллектором VT2 и выводом 9 DD1. Катушка намотана на стандартном четырехсекционном каркасе от катушки гетеродина средневолнового радиоприемника. Ферритовый сердечник (и броневой, если имеется) удаляется. Катушка имеет 1000 витков с отводом от середины провода ПЭВ 0,06 мм. Стабилитрон можно выбрать любой соответствующей мощности с напряжением стабилизации 7...10 В. Для настройки подключите датчик и расположите плату там, где она
будет находиться (или недалеко от этого места). Подключив питание,
диэлектрической отверткой установите ротор конденсатора С1 в состояние
минимальной емкости. При этом схема должна сработать. Затем, постепенно
поворачивая его на небольшой угол и удаляясь после этого па расстояние
недосигаемости (около полуметра), установите ротор С1 в такое положение, при
котором схема перестает срабатывать, пока вы не приблизитесь на такое
расстояние, которое хотите установить.
|