Что-то не так?
Пожалуйста, отключите Adblock.
Портал QRZ.RU существует только за счет рекламы, поэтому мы были бы Вам благодарны если Вы внесете сайт в список исключений. Мы стараемся размещать только релевантную рекламу, которая будет интересна не только рекламодателям, но и нашим читателям. Отключив Adblock, вы поможете не только нам, но и себе. Спасибо.
Как добавить наш сайт в исключения AdBlockРеклама
Прибор для контроля взрывоопасных газов
|
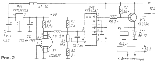
Причина проста очень трудно найти датчики, преобразующие концентрацию газа в какую-либо легко регистрируемую электронным способом величину — напряжение, ток, сопротивление и т. п. Но такие датчики существуют [1, 2]. Способностью реагировать на изменение концентрации газа обладают некоторые окислы, особенно SnO2 — диоксид олова, легированный различными присадками. На рис. 1,а показан внешний вид, а на рис.1,б схематично изображена конструкция газового датчика TGS производства фирмы Figaro Inc (Япония). Он состоит из керамической трубки, поверхность которой покрыта слоем резиста, чувствительного к той или иной группе газов (в этом, в частности, состоит назначение легирующих присадок). Нагретое до температуры свыше 200°С, это покрытие реагирует на изменение концентрации газа тем, что изменяет свое сопротивление. Нагревательный элемент — продетая в трубку электрическая спираль (2 и 5 — ее выводы). Для уменьшения отвода тепла трубка соединена с выводами 1—3 и 4—6 четырьмя тонкими проводниками, фиксирующими ее в подвешенном состоянии. Эти попарно соединенные друг с другом выводы являются выводами газочувствительного резиста. Схема прибора с датчиком, чувствительным к пропану, бутану и метану, показана на рис. 2. DA1 — стабилизатор напряжения. Для снижения мощности, рассеиваемой на микросхеме DA1, установлен резистор R1, снижающий напряжение на ее входе примерно до 10 В (ток подогрева датчика В1 — 0,2 А, падение напряжения на микросхеме К142ЕН5В не должно быть менее 2,5 В).
Движок резистора R5 устанавливают так, чтобы в незагазованном помещении напряжение на неинвертирующем входе компаратора DA2 несколько превышало бы напряжение на его инвертирующем входе. В этом случае напряжение на прямом выходе компаратора (вывод 9) близко к питающему и транзистор VT1 надежно закрыт. При загазованности, достигшей определенной концентрации (ниже,конечно, взрывной, см таблицу из [1]), сопротивление датчика В1 понизится до такой величины, что напряжение на неинвертирующем входе станет меньше, чем на инвертирующем. В этом режиме напряжение на выводе 9 компаратора будет близко к нулю. Транзистор VT1 откроется, сирена BF1 оповестит окружающих о газовой опасности, а вентилятор начнет откачку загазованного воздуха. Подстроечный резистор R5 — СПЗ-38а или любой другой. Конденсаторы С1, С2 — любые оксидные, СЗ — КМ-6 или К10-176. В качестве реле К1 может быть использовано любое 12-вольтное реле в герметитичном исполнении, например, РЭС8 (паспорт РС4 590 063). Пьезосирена BF1 — любая 12-вольтная, в том числе и самодельная [3].
ЛИТЕРАТУРА Ю. ВИНОГРАДОВ |
Взрывы и пожары, возникающие в результате утечки газа, к сожалению, не редкость. Отдавая должное деятельности административных органов и аварийных служб, радиолюбители-конструкторы могут кое-что сделать и сами для минимизации этой опасности. Радиолюбители создали немало различных электронных устройств и приборов для быта. Однако в области газового контроля их почти нет.

