Что-то не так?
Пожалуйста, отключите Adblock.
Портал QRZ.RU существует только за счет рекламы, поэтому мы были бы Вам благодарны если Вы внесете сайт в список исключений. Мы стараемся размещать только релевантную рекламу, которая будет интересна не только рекламодателям, но и нашим читателям. Отключив Adblock, вы поможете не только нам, но и себе. Спасибо.
Как добавить наш сайт в исключения AdBlockРеклама
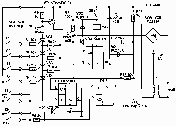
Кодовый замок на тиристорах
|
При установке кодового замка не всегда имеется возможность располагать кнопочную панель вблизи от схемы управления. В этом случае применение тиристоров в качестве триггеров запоминающих правильную комбинацию на бранного кода обеспечивает более высокую помехоустойчивость и стойкость к умышленному повреждению по сравнению со схемами собранными только на КМОП микросхемах. Приведенная на рисунке схема позволяет ограничить доступ в помещение посторонних. Для срабатывания открывающего защелку электромагнита YA1 необходимо в определенной последовательности набрать код из 4 цифр (из 10 возможных).
Работает схема следующим образом. В исходном состоянии на вход управления D1 1/6 через резистор R12 поступает лог 1 и внутренний ключ микросхемы будет замкнут. Нажатие кнопок в последовательности S4 S3 S2 S1 приведет к поочередному открыванию соответствующих тиристоров VS4, VS3, VS2, VS1. Ток через резисторы R8 R10 позволяют удерживать сработавшие тиристоры во включенном состоянии. Причем если при наборе номера ошибочно нажата любая другая кнопка это приведет к срабатыванию ключа на элементе микросхемы D1. 3 что обеспечит появление лог 0 на входе D1. 1/6 — ключ разомкнется и частично правильно набранный код будет сброшен. При правильном наборе номера появится ток протекающий через резисторы R6 R7 и откроется транзистор VT1. При этом будет подаваться питание на электромагнит YA1. А чтобы электромагнит не находился под напряжением в течение длительного времени после срабатывания элемент D1. 2 совместно с цепью заряда конденсатора R11 С1 позволяет ограничить продолжительность его работы интервалом 24с. Время определяется номиналом конденсатора С1. Как только напряжение на входе D1 2/12 в процессе заряда конденсатора достигнет порога срабатывания ключа, он подаст лог '0" на управление D1.1 что переведет все тиристоры в исходное состояние.
Транзистор VT1 имеет большой коэффициент усиления и может быть заменен двумя обычными включенными по схеме, показанной на рисунке 2. Тиристоры могут использоваться с любой последней буквой в обозначении. Конденсаторы применены К50-35 на рабочее напряжение 40 В, а резисторы по дойдут любые. Кнопка SB1 используется для дистанционного открывания замка внутри помещения и должна быть рассчитана на ток 3А . Все элементы схемы кроме трансформатора, диодов VD5 VD8 и электромагнита YA1, расположены на односторонней печатной плате.
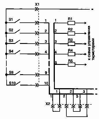
Для удобства смены кода и подключения цепей от кнопок набора номера на плате установлены винты М2,5 (как это показано на рисунке), к которым и закрепляют нужный провод. Если же установить дополнительный 16-ти контактный разъем (Х2) со сменным кодозадающим штекером, то смена кода займет несколько секунд (если заранее подготовить штекера с установленными перемычками под нужные комбинации цифр кода).
Один из элементов микросхемы не использован и с его помощью можно выполнить ограничение необходимого времени на набор кода, что дополнительно затруднит подбор кода. Пример варианта такого подключения D1.4 показан на рисунке.
|
Устройство может работать при изменении питающего напряжения в более широких пределах чем это указано на схеме но его величина выбирается исходя из необходимой для надежного срабатывания применяемого электромагнита. При настройке схемы может потребоваться подбор номиналов резистора R7 и конденсатора С1.