Что-то не так?
Пожалуйста, отключите Adblock.
Портал QRZ.RU существует только за счет рекламы, поэтому мы были бы Вам благодарны если Вы внесете сайт в список исключений. Мы стараемся размещать только релевантную рекламу, которая будет интересна не только рекламодателям, но и нашим читателям. Отключив Adblock, вы поможете не только нам, но и себе. Спасибо.
Как добавить наш сайт в исключения AdBlockРеклама
Передатчик УКВ ЧМ
|
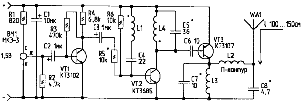
Питание осуществляется от 1,5 В батарейки или аккумулятора. Дальность действия - около 100 м, в условиях прямой видимости. Ток потребления - не более 6 мА. Одного аккумулятора от фонарика хватает на 48 часов непрерывной работы. Плата (рис.2) изготовлена из двустороннего фольгированного стеклотекстолита. Катушки L1 и L4 намотаны на пластмассовом корпусе транзистора VT2 (КТ368), причем, в металлическом корпусе этот транзистор не подходит. ![]()
Катушка L1 содержит 1 виток провода ПЭЛ 0,3 мм; L4 - 4 витка ПЭЛ 0,3 мм. Катушка L2 - бескаркасная, намотана виток к витку на оправке 06 мм и содержит 22 витка провода ПЭЛ 0,6 мм. L3 намотана внавал на резисторе 100...200 кОм и содержит 60 витков провода ПЭЛ 0,11 мм. Аккумулятор расположен непосредственно на плате и закреплен латунной пластиной, которая выгнута по форме аккумулятора. Она вставлена в отверстия платы и пропаяна снизу. В точки Х1 и Х2 вставлены куски провода и пропаяны для получения минусового контакта аккумулятора. При наладке нужно сдвигом или растяжкой витков катушки L4, а при необходимости, и подбором конденсатора С5 добиться попадания несущей в нужный диапазон (30, 66, 108 МГц). Резистором R5 устанавливается необходимый уровень девиации частоты. После того как произведена настройка на требуемый участок диапазона, конденсаторами С7 и С8 добиваются максимума мощности сигнала. Для фиксации и жесткости катушки L4, ее вместе с VT2 желательно пропитать парафином. А.КИЧИГИН |
