LAB599.RU — интернет-магазин средств связи
EN FR DE CN JP
QRZ.RU > Каталог схем и документации > Схемы наших читателей > Дайджест радиосхем > Усилитель мощности для радиостанций 3-й категории

Усилитель мощности для радиостанций 3-й категории




Усилитель мощности для радиостанций 3-й категории

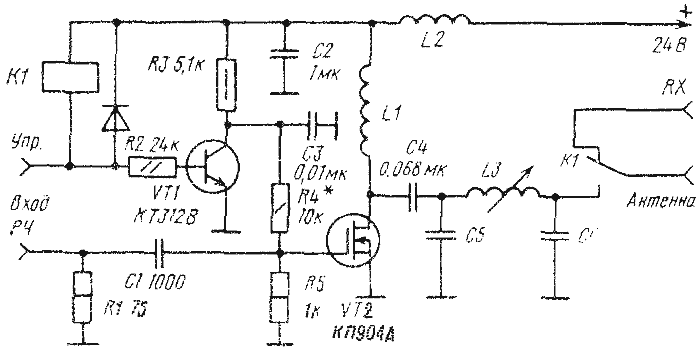
  Не только для радиостанции 3-й категории, но и для работы QRP радиостанций 1-й и 2-й категорий может представлять интерес схема транзисторного усилителя мощности для работы CW и SSB, приведенная на рис.

 Усилитель мощности для радиостанции 3-й категории

  Транзисторные усилители мощности имеют очень низкое (единицы или десятки ом) выходное сопротивление, что создает определенные трудности в выполнении цепей их связи с антенной. В частности, в таких усилителях оказывается недопустимым использование длинных (до 10 см) проводов, которые необходимы для переключения резонансных цепей связи с антенной для каждого диапазона. Поэтому транзисторные усилители мощности высокой частоты часто выполняют с широкополосными трансформаторами связи с антенной, причем эти трансформаторы достаточно критичны по своим характеристикам. Схема — однодиапазонная. Для работы на диапазонах 40, 80 и 160 м можно использовать переключаемые контура, но более рационально выполнить именно однодиапазонный усилитель.

  Устройство рассчитано на работу от возбудителей с выходной мощностью около 1 Вт. Нагрузкой возбудителя, обеспечивающей и стабильную (без признаков самовозбуждения на всех диапазонах) работу усилителя является резистор R1. В качестве линейного усилителя мощности используется мощный полевой транзистор VT2.

  Для обеспечения хорошей линейности усиления транзистор VT2 работает при большом значении тока покоя — при отсутствии напряжения возбуждения подбором сопротивления резистора R4 устанавливается постоянный ток в цепи стока VT2 около 0,3 А. Однотоновый сигнал напряжением 1 В на соединителе "Вход РЧ" увеличит постоянную составляющую тока через VT2 по 0,7 А с выделением контуром С5 L3C6 в антенну мощности 10 Вт.

  В схеме предусмотрена коммутация прием - передача. Она осуществляется от внешней цепи управления, которая замыкается на корпус при переходе на передачу. При этом срабатывает высокочастотное реле К1, контакты которого отключают антенну от приемника и подключают ее к выходу усилителя мощности.

  В режиме приема цепь управления разомкнута и на базу транзистора VT1 подается положительное напряжение, открывающее его. Напряжение на коллекторе VT1 становится близким к нулю, и VT2 закрывается.

  Реле К1 типа РПВ2/7, паспорт РС4.521.952. Дроссели L1 и L2 типа Д-1 (на 1А) индуктивностью 30 и 10 мкГ соответственно. Данные контура на выходе усилителя приведены в таблице.

      Диапазон, м      C5,пф    С6,пф    L3,витки
    
          160          6200     3000     20  
           80          3000     1500     15  
           40          1600      820     10  
         20           750      420      7
         15           470      300      5
          10           300      200      4

  Катушки L3 — однослойные, диаметр каркаса 15 мм (провод ПЭВ-2 1,5). Длина намотки подбирается для каждого диапазона до получения максимума выходной мощности на центральной частоте.
Источник: shems.h1.ru

Партнеры