Что-то не так?
Пожалуйста, отключите Adblock.
Портал QRZ.RU существует только за счет рекламы, поэтому мы были бы Вам благодарны если Вы внесете сайт в список исключений. Мы стараемся размещать только релевантную рекламу, которая будет интересна не только рекламодателям, но и нашим читателям. Отключив Adblock, вы поможете не только нам, но и себе. Спасибо.
Как добавить наш сайт в исключения AdBlockРеклама
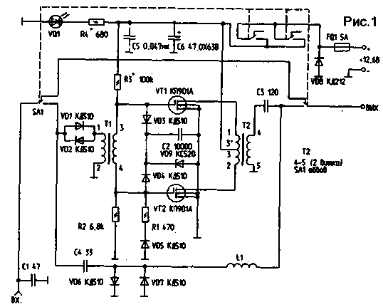
УСИЛИТЕЛЬ МОЩНОСТИ CB
|
Фирмой "СТЕ International SRL" серийно выпускается усилитель РЧ модели 737, предназначенный для работы в СВ-диапазоне. Мною была разработана печатная плата под отечественные радиоэлементы, построена и опробована схема этого усилителя мощности. Схема с нашими аналогами работоспособна и показала очень неплохие результаты несмотря на простоту изготовления. Усилитель получился широкополосным, захватывающим все радиолюбительские диапазоны со 160 м до 10 м включительно.
Принципиальная схема усилителя
[ Увеличить в новом окне ] На рис.2 и 3 приведены печатная плата и расположение деталей на плате.
Для изготовления трансформатора Т2 нужны те же кольца - 20 шт, латунные или медные трубки - 2 шт. по 22 мм длиной каждая и наружным диаметром 4 мм. Мною была использована трубка от старой телескопической антенны. Подробно останавливаться не буду, сошлюсь на [I], где есть методика постройки широкополосного трансформатора с короткозамкнутым витком, привожу лишь эскиз расположения выводов трансформатора Т2 (рис.5). Катушка L1 выполнена на цилиндрическом каркасе диаметром 8 мм и длиной 10 мм. Обмотка состоит из 19 витков ПЭЛ-0,16 мм. Намотка - виток к витку. Правильно собранная схема усилителя работает сразу, гок холостого хода усилителя зависит от применяемых транзисторов и выставляется R3. Усилитель работает от источника +12 В, но сохраняет работоспособность при +40 В. Мною были использованы отечественные транзисторы КП901, ток покоя - 200 мА. Увеличение тока покоя ведет к вне-полосным излучениям. При увеличении напряжения питания до +40 В усилитель сохраняет все свои характеристики и работает устойчиво, самовозбуждение замечено не было. На вход усилителя подавалось 0,5 Вт на всех диапазонах, при этом выходная мощность колебалась: на НЧ диапазонах - 6 Вт, начиная с 20-метрового диапазона мощность возрастала до 7 Вт, в среднем - в 13 раз относительно поданной на вход мощности. Проверка производилась на 75-омной нагрузке, а затем с антенной, питаемой 75-омным кабелем. В этом усилителе можно попробовать более современные транзисторы, скажем КП913А, у которых 8=1.0...2,5 А/В - это на порядок выше чем у КП901А. Думаю, результаты будут неплохие. Возникшие вопросы и замечания шлите автору. Литература: Радио. - 1988. - N 12. - С.21. Ю.ИВАНОВ |
Для изготовления трансформатора Т1 были использованы шесть колец с магнитной проницаемостью 600 НН (до 1000 НН - некритично) типоразмера 7 х 4 х 2, по три кольца склеены клеем БФ2, а затем полученные ферритовые "трубки" складывают бок о бок и тоже заливают клеем. Таким образом, продевая в эти трубки по три витка первичной обмотки и вторичной, получаем трансформатор Т1 (рис.4).