Что-то не так?
Пожалуйста, отключите Adblock.
Портал QRZ.RU существует только за счет рекламы, поэтому мы были бы Вам благодарны если Вы внесете сайт в список исключений. Мы стараемся размещать только релевантную рекламу, которая будет интересна не только рекламодателям, но и нашим читателям. Отключив Adblock, вы поможете не только нам, но и себе. Спасибо.
Как добавить наш сайт в исключения AdBlockРеклама
Автомат отключения насоса
|
В журнале "Радио" неоднократно описывались различные конструкции для автоматического управления насосом водокачки, например устройства, следящие за уровнем воды или в ее источнике, или в приемном резервуаре, или в том и другом местах. Иногда удобнее запускать насос вручную, а на автомат возложить лишь функции контроля за переполнением резервуара. В публикуемой статье автор предлагает два простых варианта такого автомата.
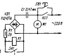
Конденсатор С1 балластный и служит для снижения напряжения на обмотке реле до его рабочей величины, резистор R1 ограничивает ток перезарядки конденсатора в момент замыкания контактов датчика SA1. В автомате использовано реле РПУ-2 с сопротивлением обмотки 4,5 кОм и рабочим напряжением 110 В. Оно имеет специальный виток, охватывающий часть магнитопровода, что делает реле нечувствительным к пульсациям напряжения питания. При применении другого реле для обеспечения рабочего напряжения на его обмотке, возможно, придется включить параллельно выходной диагонали моста VD1 конденсатор емкостью около 1 мкф на напряжение не менее 160 В и подобрать емкость конденсатора С 1. Кнопка SB1 должна быть рассчитана на полный ток электродвигателя насоса, а конденсатор С1 - иметь рабочее напряжение не менее 400 В (например, К73-16 или К73-17). Мост VD1 - любой на напряжение не менее 300 В, можно применить четыре отдельных диода на то же напряжение. Однако поплавковый датчик не очень удобен. Его контакты соединены с сетевыми проводами, что требует повышенных мер безопасности при эксплуатации. На рис. 2 приведена схема автомата с бесконтактным датчиком, электроды которого подключены к входам 1 и 2. Напряжение питания подается на устройство при замыкании контактов выключателя SA1. Если приемный резервуар заполнен не полностью, ток базы транзистора VT1 равен нулю и он закрыт. Напряжение 27...30 В с выхода выпрямителя через цепочку R5C2 поступает на обмотку реле К1, которое срабатывает в момент включения SA1 и своими контактами К 1.1 и К1.2 включает электродвигатель насоса. По мере зарядки конденсатора С2 ток через обмотку реле К1 уменьшается, но для его удержания достаточно тока, протекающего через резистор R4. Светодиод HL1 красного свечения горит и индицирует включение автомата.
При заполнении резервуара возникает ток между электродами датчика и транзистор VT1 открывается. Его коллекторный ток зажигает светодиод HL2 зеленого свечения, индицирующий наполнение резервуара, и выключает реле К1. Контакты К1.1 и К1.2 реле размыкаются, и двигатель насоса останавливается. При расходовании воды базовый ток транзистора VT1 станет равным нулю, он закроется, светодиод HL2 погаснет. Реле, однако, не сработает, поскольку тока, протекающего через резистор R4, недостаточно. Для повторного пуска насоса необходимо выключить и вновь включить SA1. Конденсатор С1 подавляет наводки на провода, идущие к электродам датчика, резистор R5 ограничивает ток перезарядки конденсатора С2, текущий через транзистор VT1 в момент его включения. Делитель напряжения R1R2 задает напряжение на электродах датчика и ограничивает ток базы транзистора VT1. Устройство собрано методом навесного монтажа в корпусе промышленного фотореле РФ731М. От него были использованы реле, трансформатор питания, монтажная плата и контактная колодка. Реле - МКУ-48, паспорт РА4.501.088 с сопротивлением обмотки 510 Ом и рабочим напряжением 24 В. Трансформатор должен обеспечивать на вторичной обмотке напряжение 22...26 В при токе нагрузки не менее 50 мА. Подойдет любой трансформатор серии ТН с четырьмя вторичными обмотками, соединенными последовательно, а также многие трансформаторы ТПП при соответствующем соединении их вторичных обмоток, например, ТПП216, ТПП218, ТПП223 - ТПП226. При самостоятельном изготовлении трансформатора можно воспользоваться советами, приведенными в журнале "Радио" за 1997 г., № 7, с. 36, 37. Резисторы подойдут любые, оксидные конденсаторы - также любые, рабочее напряжение С2 и СЗ - не менее 40 В. Светодиоды желательно использовать указанного цвета свечения. Мост VD1 должен быть рассчитан на напряжение не менее 50 В, допустимо применить четыре отдельных диода на то же напряжение. Транзистор VT1 средней мощности структуры п-р-п, например, серий КТ503, КТ602, КТ603, КТ608 с любыми буквенными индексами, а также большой мощности - серий КТ815, КТ817. Выключатель SA1 рассчитан на полный ток электродвигателя насоса. Автор применил обычный электротехнический настенный выключатель, установив его вне корпуса устройства в разрыве фазного провода сети. Использование реле с двумя парами замыкающих контактов полностью исключает появление напряжения сети на проводах, тянущихся через садовый участок, при неработающем насосе. Если реле имеет лишь одну пару контактов, их следует поставить в разрыв фазного провода сети. Возможна также замена выключателя SA1 кнопкой, подхватываемой контактами реле (см. рис. 1), при этом после заполнения резервуара все устройство обесточивается. В таком варианте автомата светодиод HL2 не нужен. Приемный резервуар представляет собой полиэтиленовую бочку объемом 200 л. Она установлена на чердаке садового дома. Электродами служат два отрезка оцинкованной стальной трубы, введенные в бочку сверху через ее резьбовые пробки. По одной трубе, доходящей до дна бочки, производятся ее заполнение и отбор воды в водопровод дома. Другая (ее длина около 80 мм, и к ней подсоединена полиэтиленовая гофрированная труба) служит для слива избытка воды при переполнении бочки из-за отказа автомата или обрыва проводов, идущих к датчику. П. АЛЕШИН |
Схема автомата довольно проста, если использовать поплавковый датчик уровня воды (рис. 1). При неполном приемном резервуаре контакты датчика SA1 разомкнуты. После нажатия на кнопку SB1 сетевое напряжение поступает на электродвигатель насоса М1 и через конденсатор С1 и выпрямительный мост VD1 на обмотку электромагнитного реле К1. Реле срабатывает и своими контактами К 1.1 блокирует контакты кнопки SB1. При наполнении приемного резервуара до заданного уровня контакты SA1 датчика замыкаются, реле К1 отпускает, его контакты при этом размыкаются и отключают электродвигатель М1 от сети. Устройство переходит в исходное состояние. Для повторного пуска насоса необходимо вновь нажать на кнопку SB1.